GM Service Manual Online
For 1990-2009 cars only

LOOSE, BUZZING, RATTLING OR VIBRATING FRONT TRIM PANEL

SUBJECT: LOOSE, BUZZING, RATTLING OR VIBRATING FRONT TRIM PANEL/ DEFROSTER OUTLET (INSTALL METAL RETAINING CLIPS)

MODELS: 1995-97 OLDSMOBILE CUTLASS SUPREME

CONDITION:

SOME OWNERS MAY COMMENT ON A LOOSE, BUZZING, RATTLING, OR VIBRATING FRONT TRIM PANEL/DEFROSTER OUTLET.

CAUSE:

CONDITION MAY BE DUE TO LOSS OF RETENTION AT THE PLASTIC TABS.

CORRECTION:

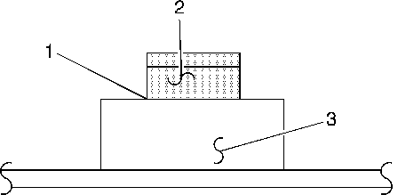
REMOVE PANEL, CUT TRIM TABS AS REQUIRED (SHOWN IN FIGURE 1) AND INSTALL METAL RETAINING CLIPS, P/N 21040288. THE TRIM TABS AT THE ENDS OF THE PANEL ARE SIMILAR TO THE TABS IN THE ILLUSTRATION AND SHOULD BE CUT AT THE TOP OF THE REINFORCING/CLIP ALIGNING RIB.

PARTS INFORMATION:

PARTS ARE CURRENTLY AVAILABLE FROM GMSPO.

WARRANTY INFORMATION:

FOR VEHICLES REPAIRED UNDER WARRANTY, USE:

LABOR OPERATION NUMBER: D1406 LABOR OPERATION TIME: 0.2 HR

FIGURES: 01 ATTACHMENTS: 00

FIGURE 1: 1. CUT TAB OFF HERE. 2. SHADED AREA TO BE REMOVED. 3. TRIM PANEL/DEFROSTER OUTLET.


Object Number: 96820  Size: SH

GENERAL MOTORS BULLETINS ARE INTENDED FOR USE BY PROFESSIONAL TECHNICIANS, NOT A "DO-IT-YOURSELFER". THEY ARE WRITTEN TO INFORM THOSE TECHNICIANS OF CONDITIONS THAT MAY OCCUR ON SOME VEHICLES, OR TO PROVIDE INFORMATION THAT COULD ASSIST IN THE PROPER SERVICE OF A VEHICLE. PROPERLY TRAINED TECHNICIANS HAVE THE EQUIPMENT, TOOLS, SAFETY INSTRUCTIONS AND KNOW-HOW TO DO A JOB PROPERLY AND SAFELY. IF A CONDITION IS DESCRIBED, DO NOT ASSUME THAT THE BULLETIN APPLIES TO YOUR VEHICLE, OR THAT YOUR VEHICLE WILL HAVE THAT CONDITION. SEE A GENERAL MOTORS DEALER SERVICING YOUR BRAND OF GENERAL MOTORS VEHICLE FOR INFORMATION ON WHETHER YOUR VEHICLE MAY BENEFIT FROM THE INFORMATION.

COPYRIGHT 1997 GENERAL MOTORS CORPORATION. ALL RIGHTS RESERVED.