GM Service Manual Online
For 1990-2009 cars only

ROOF OVER CROWNING OR DIMPLING AT REAR OF SUNROOF

SUBJECT: ROOF OVERCROWNING OR DIMPLING AT REAR OF SUNROOF AND/OR WATER ON SUNSHADE (INSPECT AND ADJUST BRACKETS, MODULE, REAR DRAIN HOSES)

MODELS: 1994-97 OLDSMOBILE CUTLASS SUPREME (SEDANS ONLY)

CONDITION:

SOME OWNERS MAY COMMENT THAT THE ROOF SHEET METAL APPEARS OVERCROWNED OR HIGHER THAN THE SUNROOF GLASS AT THE CENTER REAR OF THE SUNROOF OPENING. IN SOME INSTANCES, THEY MAY ALSO COMMENT THAT THE ROOF SHEET METAL APPEARS TO BE DIMPLED OR DENTED DOWN AT THE REAR CORNERS OF THE SUNROOF OPENING.

ADDITIONALLY, SOME OWNERS MAY COMMENT THAT THE SUNSHADE, WHEN IN THE FULL OPEN POSITION, GETS WET WHEN THE VEHICLE IS PARKED ON AN INCLINE (NOSE UPWARDS) DURING MEDIUM OR HEAVY RAINS. NO CONDITION EXISTS WHEN PARKED ON LEVEL SURFACES.

CAUSE:

THE OVERCROWNING AND DIMPLING CONDITION MAY BE CAUSED BY INCORRECT REAR SUNROOF SUPPORT BRACKETS BEING USED AND/OR THE SUNROOF MODULE ASSEMBLY BEING INCORRECTLY FITTED INTO THE ROOF OPENING.

WHEN PARKED ON A LEVEL SURFACE, THE VEHICLE'S FOUR DRAIN HOSES WILL DRAIN ALL THE WATER THAT ENTERS THE SUNROOF MODULE. SEE FIGURE 1. HOWEVER, WHEN PARKED ON AN INCLINE (NOSE UPWARDS), ALL THE WATER THAT ACCUMULATES IN THE SUNROOF MODULE MUST EXIT OUT THROUGH THE TWO REAR DRAIN HOSES. THE SUNSHADE MAY GET WET AS A RESULT OF A FLOODING CONDITION CAUSED BY THE REAR DRAIN HOSES BEING PARTIALLY RESTRICTED OR IMPROPERLY ROUTED INSIDE THE REAR ROOF PILLARS.

CORRECTION:

OVERCROWNING AND DIMPLING

INSPECTION

1. VERIFY THAT THE SUNROOF OPERATES CORRECTLY AND OPENS AND CLOSES COMPLETELY.

2. WITH THE SUNROOF CLOSED COMPLETELY, USE A PENCIL OR STRAIGHT EDGE AS SHOWN IN FIGURE 2 TO VERIFY THE AMOUNT OF OVERCROWNING AT THE REAR OF THE GLASS. A PROPERLY FITTED GLASS SHOULD BE FLUSH TO 1MM (0.04 IN.) ABOVE THE ROOF SHEET METAL ACROSS THE COMPLETE REAR OF THE GLASS. IF THE GLASS FITS CORRECTLY AT THE REAR CORNERS AND IS SEVERAL MILLIMETERS BELOW THE ROOF AT THE CENTER, PERFORM THE FOLLOWING REPAIR PROCEDURE.

REPAIR PROCEDURE

IN ORDER TO PERFORM THE FOLLOWING REPAIR PROCEDURE, IT IS NECESSARY THAT THE COMPLETE HEADLINER BE REMOVED FROM THE VEHICLE. SEE SECTION 10 OF THE APPROPRIATE SERVICE MANUAL FOR INFORMATION ON HEADLINER REMOVAL AND INSTALLATION.

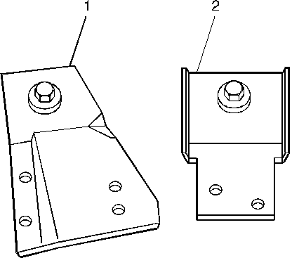
1. VERIFY THAT THE VEHICLE HAS THE CORRECT REAR SUNROOF MODULE SUPPORT BRACKET ON EACH SIDE. SEE FIGURE 3 FOR BRACKET USAGE IDENTIFICATION. IF AN INCORRECT BRACKET(S) IS VERIFIED, IT MUST BE REPLACED WITH THE CORRECT BRACKET(S) BEFORE PROCEEDING.

2. IF THE VEHICLE HAS THE CORRECT BRACKET ON EACH SIDE, VERIFY THAT THE RUBBER DUST SEAL LOCATED ON THE "TOP" REAR OF THE SUNROOF MODULE IS MAKING "LIGHT" CONTACT WITH THE INSIDE OF THE ROOF SHEET METAL FROM SIDE TO SIDE. SEE FIGURE 1. CONTACT OF THE SEAL TO THE ROOF CAN BE VIEWED FROM THE BACK SEAT. IF THE SEAL IS NOT MAKING LIGHT CONTACT ON ONE OR BOTH SIDES, THE REAR SUPPORT BRACKET(S) WILL NEED TO BE ADJUSTED.

REAR SUPPORT BRACKET ADJUSTMENT

1. MEASURE THE GAP BETWEEN THE RUBBER DUST SEAL AND THE ROOF SHEET METAL ON THE AFFECTED SIDE(S).

2. REMOVE THE AFFECTED REAR SUPPORT BRACKET(S) FROM THE VEHICLE AND PLACE IN A VISE.

3. CAREFULLY STRAIGHTEN THE BRACKET(S) AS NECESSARY TO ELIMINATE THE GAP WHEN REINSTALLED.

4. REINSTALL THE BRACKET(S) TO THE ROOF. TIGHTEN SCREWS TO 1 N.M (9 LB IN).

5. RAISE AND SUPPORT THE MODULE SO THAT IT CONTACTS THE REAR SUPPORT BRACKETS. VERIFY THAT THE RUBBER DUST SEAL IS LIGHTLY CONTACTING THE ROOF.

6. LOOSELY INSTALL THE BOLT THAT ATTACHES THE SUNROOF MODULE TO EACH REAR SUPPORT BRACKET.

SUNROOF MODULE SHIMMING

1. WITH THE REAR OF THE SUNROOF MODULE SUPPORTED BY THE LOOSELY INSTALLED REAR SUPPORT BRACKET BOLTS, REMOVE THE NUT THAT SECURES THE MIDDLE OF THE MODULE TO THE ROOF ON EACH SIDE. SEE FIGURES 1 + 4.

2. ONCE THE MIDDLE NUT ON EACH SIDE IS REMOVED, THE TENSION ON THE ROOF SHEET METAL SHOULD BE RELIEVED AND THE OVERCROWNING CONDITION CORRECTED. TO CORRECT THE DIMPLING AT THE REAR CORNERS OF THE SUNROOF OPENING, IT MAY BE NECESSARY TO PUSH THE INSIDE OF THE ROOF UPWARDS AT THE SUNROOF MODULE MIDDLE MOUNTING STUD LOCATION ON EACH SIDE.

3. WITH THE MIDDLE NUT ON EACH SIDE STILL REMOVED, TIGHTEN THE REAR SUPPORT BRACKET BOLT ON EACH SIDE TO 10 N.M (89 LB IN).

4. VERIFY THAT THE RUBBER DUST SEAL IS MAKING LIGHT CONTACT WITH THE ROOF SHEET METAL.

5. TO DETERMINE THE NUMBER OF SHIMS (WASHERS OR WHEEL ALIGNMENT SHIMS) REQUIRED TO CORRECT THE SUNROOF MODULE FIT, MEASURE THE GAP BETWEEN THE SUNROOF MODULE AND THE ROOF AT THE MIDDLE MOUNTING STUD LOCATION ON EACH SIDE. SEE FIGURE 4.

IMPORTANT: ONLY ADD SHIMS TO THE MIDDLE MOUNTING STUD LOCATION ON EACH SIDE. DO NOT ADD SHIMS TO THE OTHER MOUNTING BOLT LOCATIONS AT THE FRONT OR REAR OF THE SUNROOF MODULE.

6. ADD SHIMS AS NECESSARY BETWEEN THE SUNROOF MODULE AND THE ROOF AT THE MIDDLE MOUNTING STUDS BY FIRST "LOOSENING" THE FRONT SUNROOF MODULE ATTACHING BOLTS ON EACH SIDE AND THEN, WHILE SUPPORTING THE REAR OF THE MODULE, REMOVE THE BOLTS FROM BOTH REAR SUPPORT BRACKETS. CAREFULLY LOWER THE REAR OF THE MODULE AS FAR AS NECESSARY IN ORDER TO ADD SHIMS. IT IS NOT NECESSARY TO COMPLETELY REMOVE THE MODULE WHEN ADDING SHIMS. SEE FIGURE 4.

IMPORTANT: NOT PROPERLY SHIMMING THE MODULE AT THE MIDDLE LOCATION ON EACH SIDE MAY CAUSE THE EXTERIOR ROOF SHEET METAL TO OVERCROWN AND DIMPLE WHEN THE MIDDLE RETAINING NUTS ARE INSTALLED AND TIGHTENED.

7. WITH THE SHIMS IN PLACE, RAISE THE SUNROOF MODULE INTO POSITION AND INSTALL BOTH RETAINING NUTS AND THE REAR SUPPORT BOLTS. FIRST TIGHTEN BOTH NUTS AND THEN THE FRONT AND REAR BOLTS TO 10 N.M (89 LB IN).

SUNROOF GLASS TO ROOF OPENING FIT

1. USING A PENCIL OR STRAIGHT EDGE AS SHOWN IN FIGURE 2, VERIFY THAT THE GLASS IS FLUSH TO 1MM (0.04 IN.) ABOVE THE ROOF SHEET METAL ACROSS THE COMPLETE REAR OF THE GLASS.

2. VERIFY THAT THE FRONT EDGE OF THE GLASS IS FLUSH TO 1MM (0.04 IN.) BELOW THE ROOF SHEET METAL.

3. USING A BUSINESS CARD AS SHOWN IN FIGURE 5, CHECK THE FORE-AND-AFT AND THE SIDE-TO-SIDE FIT OF THE GLASS TO THE ROOF OPENING. WHEN FITTED CORRECTLY, THE CARD SHOULD HAVE THE SAME AMOUNT OF DRAG WHEN SLID ALONG BETWEEN THE GLASS SEAL AND ROOF OPENING ON ALL FOUR SIDES.

SEE SECTION 10 OF THE APPROPRIATE SERVICE MANUAL IF GLASS ADJUSTMENTS ARE NECESSARY.

WATER ON SUNSHADE

THE AMOUNT OF WATER THAT ENTERS THE SUNROOF MODULE IS CONTROLLED BY THE FIT OF THE GLASS IN THE ROOF OPENING. BEFORE PROCEEDING, REVIEW THE ABOVE SECTION ON "SUNROOF GLASS TO ROOF OPENING FIT".

INSPECTION

1. VERIFY WHETHER THE SUNSHADE IS GETTING WET ON JUST ONE SIDE, OR ACROSS THE ENTIRE REAR PORTION.

REPAIR PROCEDURE

1. IF THE SUNSHADE IS ONLY GETTING WET ON ONE SIDE, VERIFY THAT THE REAR DRAIN HOSE ON THAT SIDE IS NOT PLUGGED, KINKED OR PINCHED. IF THE SUNSHADE IS WET ACROSS THE ENTIRE REAR, CHECK BOTH REAR DRAIN HOSES.

2. REMOVE ANY EXCESS HOSE THAT MAY BE INSIDE THE REAR ROOF PILLAR(S). SEE FIGURE 6. EXCESS HOSE COULD CAUSE AN UPHILL CONDITION THAT MAY RESTRICT OR SLOW THE FLOW OF WATER ESPECIALLY DURING HEAVY RAINS. PULL ANY EXCESS HOSE OUT OF THE UPPER PILLAR AND PUSH IT DOWN THROUGH THE GROMMET AT THE BOTTOM OF THE PILLAR.

WARRANTY INFORMATION:

FOR VEHICLES REPAIRED UNDER WARRANTY, USE:

LABOR LABOR OPERATION NUMBER DESCRIPTION OPERATION TIME ================ =========== ==============

B2780 HOUSING ASSEMBLY, SUNROOF - 1.5 HR R + R OR REPLACE (INCLUDES ALL NECESSARY TRIM, HARDWARE AND HOUSING TO ROOF ADJUSTMENTS)

FIGURES: 06 ATTACHMENTS: 00

FIGURE 1 LEGEND 1. LEFT FRONT DRAIN 2. LEFT MIDDLE MODULE MOUNTING LOCATION 3. LEFT REAR DRAIN 4. LEFT REAR MODULE MOUNTING LOCATION 5. RUBBER DUST SEAL

FIGURE 2 LEGEND 1. ROOF SHEET METAL 2. SUNROOF GLASS 3. SUNROOF GLASS SEAL

FIGURE 3 LEGEND 1. REAR SUNROOF SUPPORT BRACKETS (COUPES) 2. REAR SUNROOF SUPPORT BRACKETS (SEDANS)

FIGURE 4 LEGEND 1. MIDDLE MODULE ATTACHING NUT 2. SUNROOF MODULE 3. ROOF 4. SHIM LOCATION

FIGURE 5 LEGEND 1. ROOF SHEET METAL 2. SUNROOF GLASS 3. SUNROOF GLASS SEAL

FIGURE 6 LEGEND 1. LEFT REAR ROOF PILLAR (RIGHT SIDE SIMILAR) 2. REAR SUNROOF SUPPORT BRACKET 3. INCORRECTLY ROUTED REAR DRAIN HOSE 4. CORRECTLY ROUTED REAR DRAIN HOSE 5. GROMMET 6. BACKGLASS


Object Number: 169781  Size: MF


Object Number: 169782  Size: SH


Object Number: 169783  Size: SH


Object Number: 169784  Size: SH


Object Number: 169785  Size: MF


Object Number: 169786  Size: MF

GENERAL MOTORS BULLETINS ARE INTENDED FOR USE BY PROFESSIONAL TECHNICIANS, NOT A "DO-IT-YOURSELFER". THEY ARE WRITTEN TO INFORM THOSE TECHNICIANS OF CONDITIONS THAT MAY OCCUR ON SOME VEHICLES, OR TO PROVIDE INFORMATION THAT COULD ASSIST IN THE PROPER SERVICE OF A VEHICLE. PROPERLY TRAINED TECHNICIANS HAVE THE EQUIPMENT, TOOLS, SAFETY INSTRUCTIONS AND KNOW-HOW TO DO A JOB PROPERLY AND SAFELY. IF A CONDITION IS DESCRIBED, DO NOT ASSUME THAT THE BULLETIN APPLIES TO YOUR VEHICLE, OR THAT YOUR VEHICLE WILL HAVE THAT CONDITION. SEE A GENERAL MOTORS DEALER SERVICING YOUR BRAND OF GENERAL MOTORS VEHICLE FOR INFORMATION ON WHETHER YOUR VEHICLE MAY BENEFIT FROM THE INFORMATION.

COPYRIGHT 1997 GENERAL MOTORS CORPORATION. ALL RIGHTS RESERVED.