GM Service Manual Online
For 1990-2009 cars only

SERVICE REPAIR FOR 'OIL CANNING' SEATS

MODELS/YEARS 1990 OLDS DELTA 88 ROYALE MODELS

This bulletin affects the above mentioned vehicles built from start of production through VIN 1G3HY54C5LH313693, produced October 4, 1989 at Flint Automotive Division. Vehicles produced after October 4, 1989 have been repaired during production.

CONDITION: The driver feels and/or hears a metal to metal contact as the seat suspension moves downward. The noise has been described as that of an oil can bottom being depressed.

CAUSE: A wire basket encapsulated in the cushion foam was positioned too close to the bottom surface of the foam allowing it to make contact with the cushion frame. Only drivers seats exhibit this condition.

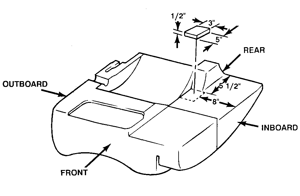
CORRECTION: The repair is to affix a 3"x5"x 1/2" piece of foam on the bottom surface of the seat foam to prevent contact of the wire and frame (see attached sketch for placement). The foam dimensions are approximate. The seat foam source has 3"x5"x 1/4" pieces of foam in stock. However, if these are unavailable, the foam may be cut from a larger plece of foam, obtained from a local trim shop. The seat does not have to be disassembled to affix the piece of foam, although the seat may have to be unbolted and tilted rearward to gain access to the bottom of the seat.

WARRANTY INFORMATION:

Labor Operation Number: T5193 Labor Time: 0.6 Hour Trouble Code: 92


Object Number: 87477  Size: MF

General Motors bulletins are intended for use by professional technicians, not a "do-it-yourselfer". They are written to inform those technicians of conditions that may occur on some vehicles, or to provide information that could assist in the proper service of a vehicle. Properly trained technicians have the equipment, tools, safety instructions and know-how to do a job properly and safely. If a condition is described, do not assume that the bulletin applies to your vehicle, or that your vehicle will have that condition. See a General Motors dealer servicing your brand of General Motors vehicle for information on whether your vehicle may benefit from the information.