GM Service Manual Online
For 1990-2009 cars only
Figure 1:

Grounds, Serial Data


Object Number: 46330  Size: FS
Engine Controls Components
Data Link Connector Diagnosis
MIL Control
OBD II Symbol Description Notice
Handling ESD Sensitive Parts Notice
Figure 2:

MIL Control


Object Number: 46334  Size: FS
Engine Controls Components
Malfunction Indicator Lamp (MIL) Inoperative
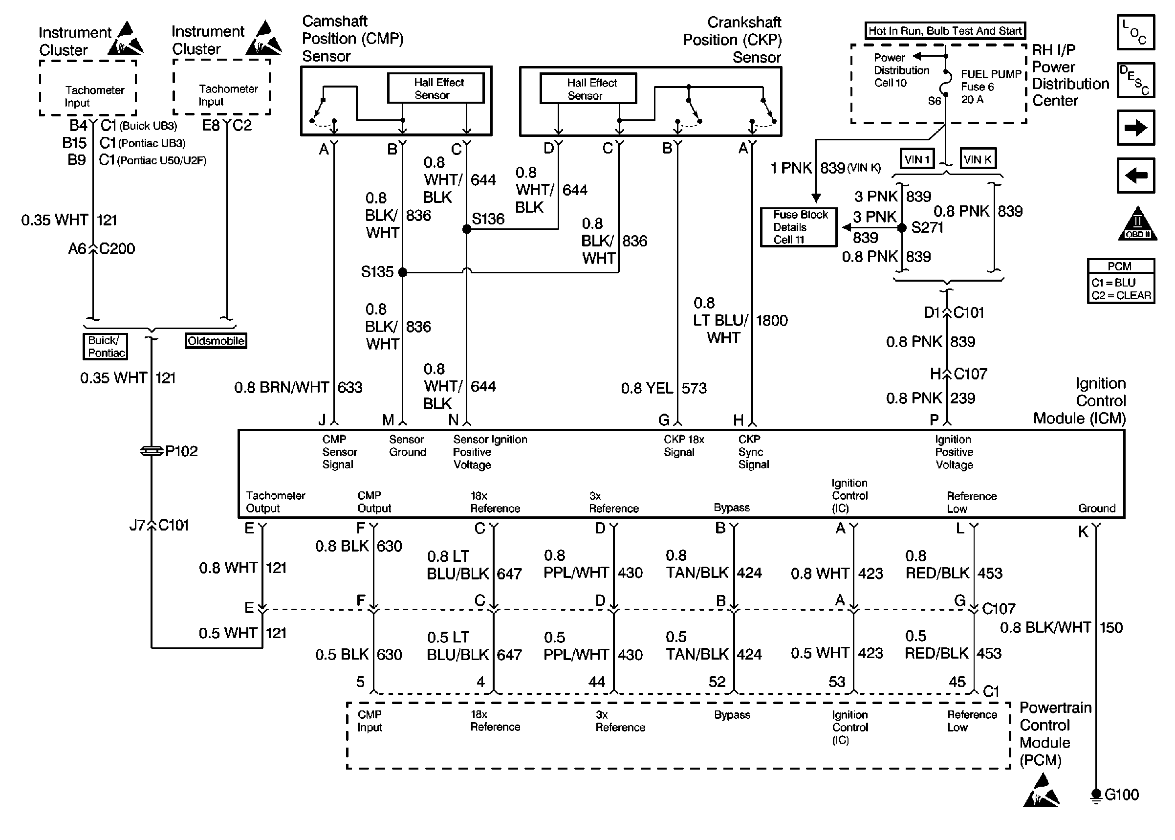
Ignition Control Module
OBD II Symbol Description Notice
Grounds, Serial Data
Handling ESD Sensitive Parts Notice
Handling ESD Sensitive Parts Notice
Handling ESD Sensitive Parts Notice
Handling ESD Sensitive Parts Notice
Figure 3:

Ignition Control Module


Object Number: 46355  Size: FS
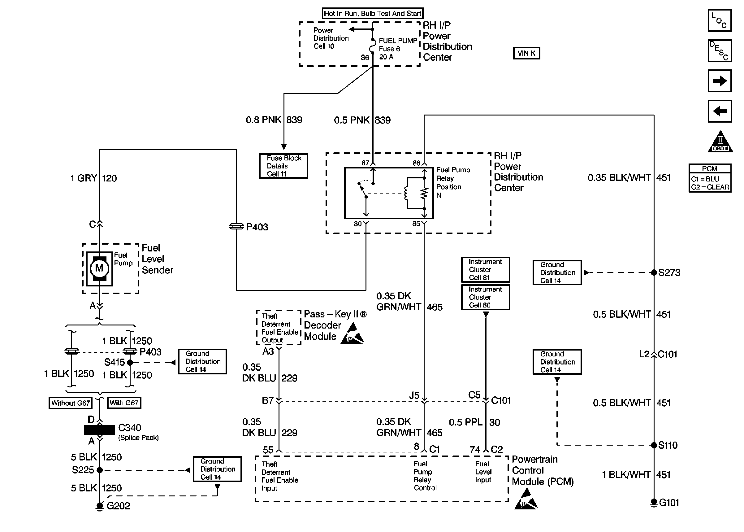
VIN K Fuel Control
OBD II Symbol Description Notice
MIL Control
Handling ESD Sensitive Parts Notice
Handling ESD Sensitive Parts Notice
Handling ESD Sensitive Parts Notice
Figure 4:

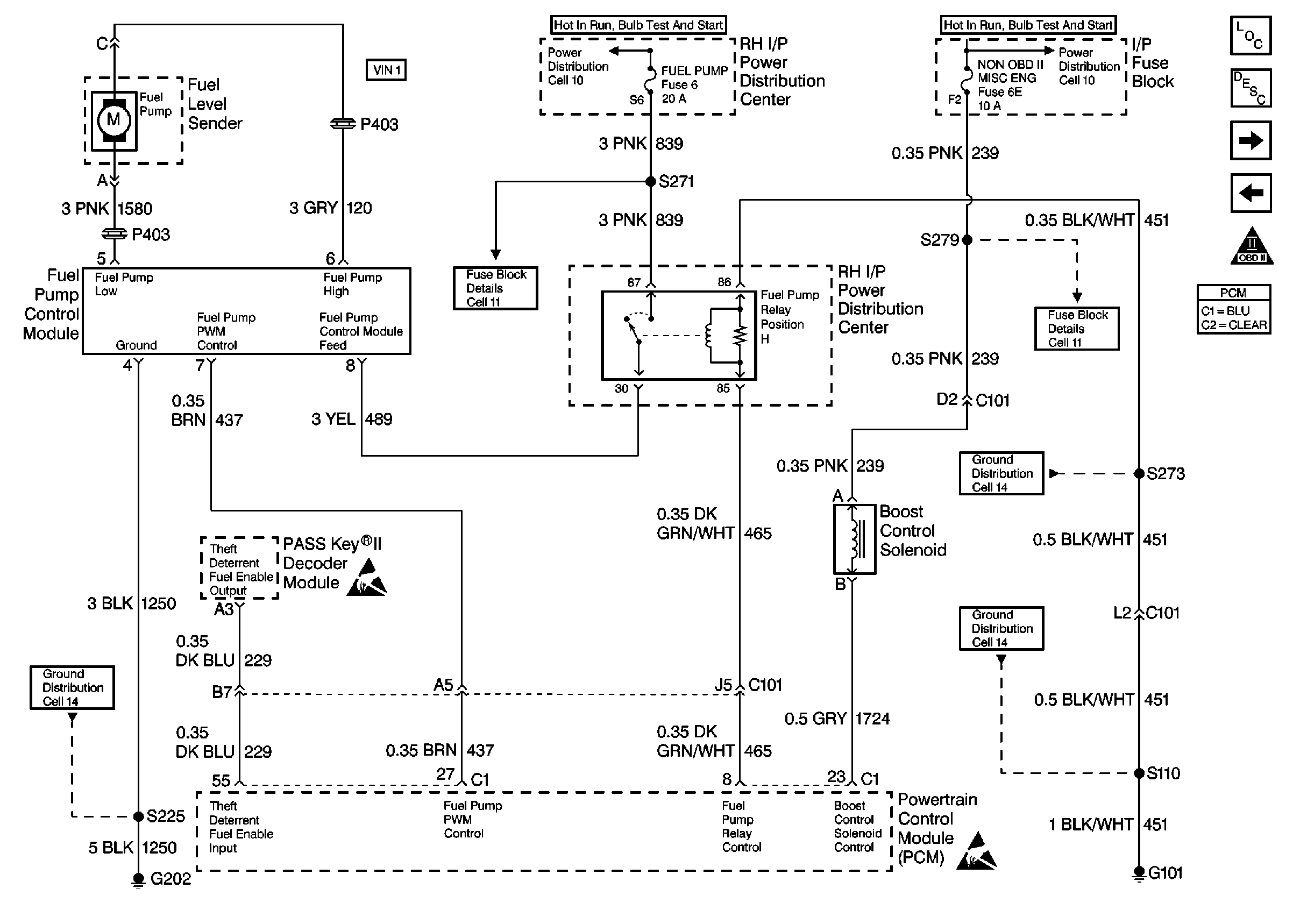
VIN K Fuel Control


Object Number: 46377  Size: FS
Engine Controls Components
Fuel Pump Electrical Circuit Diagnosis VIN K
VIN 1 Fuel Control
OBD II Symbol Description Notice
Ignition Control Module
Handling ESD Sensitive Parts Notice
Figure 5:

VIN 1 Fuel Control


Object Number: 46389  Size: FS
Fuel Injectors
Engine Controls Components
Fuel Pump Electrical Circuit Diagnosis VIN 1
OBD II Symbol Description Notice
VIN K Fuel Control
Handling ESD Sensitive Parts Notice
Figure 6:

Fuel Injectors


Object Number: 46399  Size: FS
A/C Presure, Fuel Tank Pressure, TP, MAP, IAT, ECT Sensors
Engine Controls Components
Fuel System Diagnosis Fuel Metering System
OBD II Symbol Description Notice
VIN 1 Fuel Control
Handling ESD Sensitive Parts Notice
Figure 7:

A/C Presure,Fuel Tank Presure, TP, MAP, IAT, ECT Sensors


Object Number: 46406  Size: FS
EGR Valve, EVAP System
Engine Controls Components
Information Sensors
OBD II Symbol Description Notice
Fuel Injectors
Handling ESD Sensitive Parts Notice
Handling ESD Sensitive Parts Notice
Figure 8:

EGR Valve, EVAP System


Object Number: 46413  Size: FS
MAF, IAC, Knock Sensors
Engine Controls Components
Information Sensors
OBD II Symbol Description Notice
A/C Presure, Fuel Tank Pressure, TP, MAP, IAT, ECT Sensors
Handling ESD Sensitive Parts Notice
Figure 9:

MAF, IAC, Knock Sensors


Object Number: 46422  Size: FS
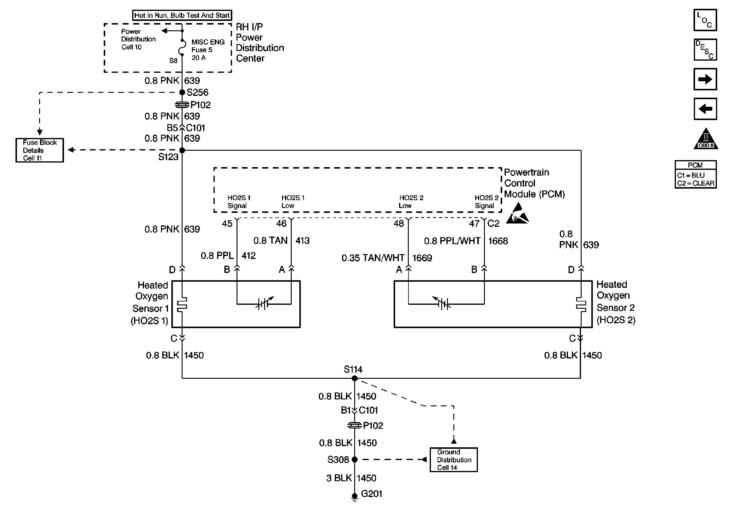
HO2S Sensors
Engine Controls Components
Information Sensors
OBD II Symbol Description Notice
EGR Valve, EVAP System
Handling ESD Sensitive Parts Notice
Figure 10:

HO2S Sensors


Object Number: 46427  Size: FS
VSS, Cruise Control Module
Engine Controls Components
Information Sensors
OBD II Symbol Description Notice
MAF, IAC, Knock Sensors
Handling ESD Sensitive Parts Notice
Figure 11:

VSS, Cruise Control Module


Object Number: 46431  Size: FS
Trans Range
Engine Controls Components
DTC P1554 Cruise Control Feedback Circuit
OBD II Symbol Description Notice
HO2S Sensors
Handling ESD Sensitive Parts Notice
Handling ESD Sensitive Parts Notice
Figure 12:

Trans Range


Object Number: 46440  Size: FS
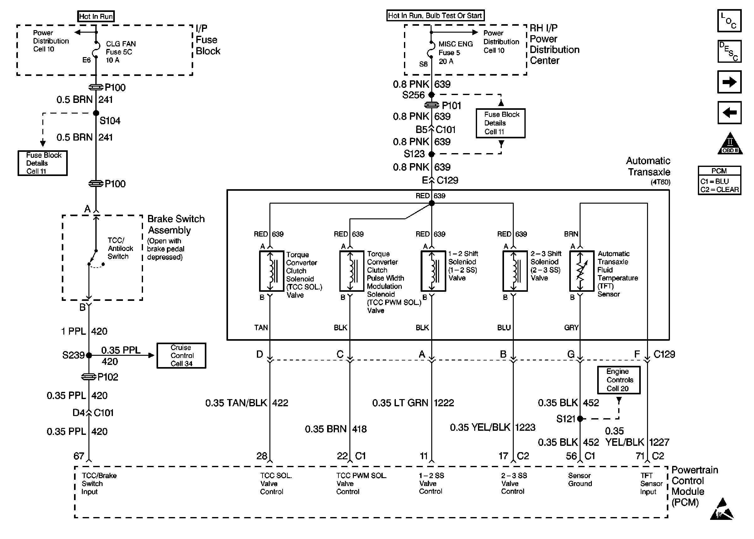
TCC Brake Switch, TCC Solenoid
Engine Controls Components
Information Sensors
OBD II Symbol Description Notice
VSS, Cruise Control Module
Handling ESD Sensitive Parts Notice
Figure 13:

TCC Brake Switch, TCC Solenoid


Object Number: 46458  Size: FS
Engine Oil Life Reset, Engine Oil Life Level Switch
Engine Controls Components
Information Sensors
OBD II Symbol Description Notice
Trans Range
Handling ESD Sensitive Parts Notice
Figure 14:

Engine Oil Life Reset, Engine Oil Life Level Switch


Object Number: 46462  Size: FS
Engine Controls Components
Information Sensors
OBD II Symbol Description Notice
TCC Brake Switch, TCC Solenoid
Handling ESD Sensitive Parts Notice
Figure 15:

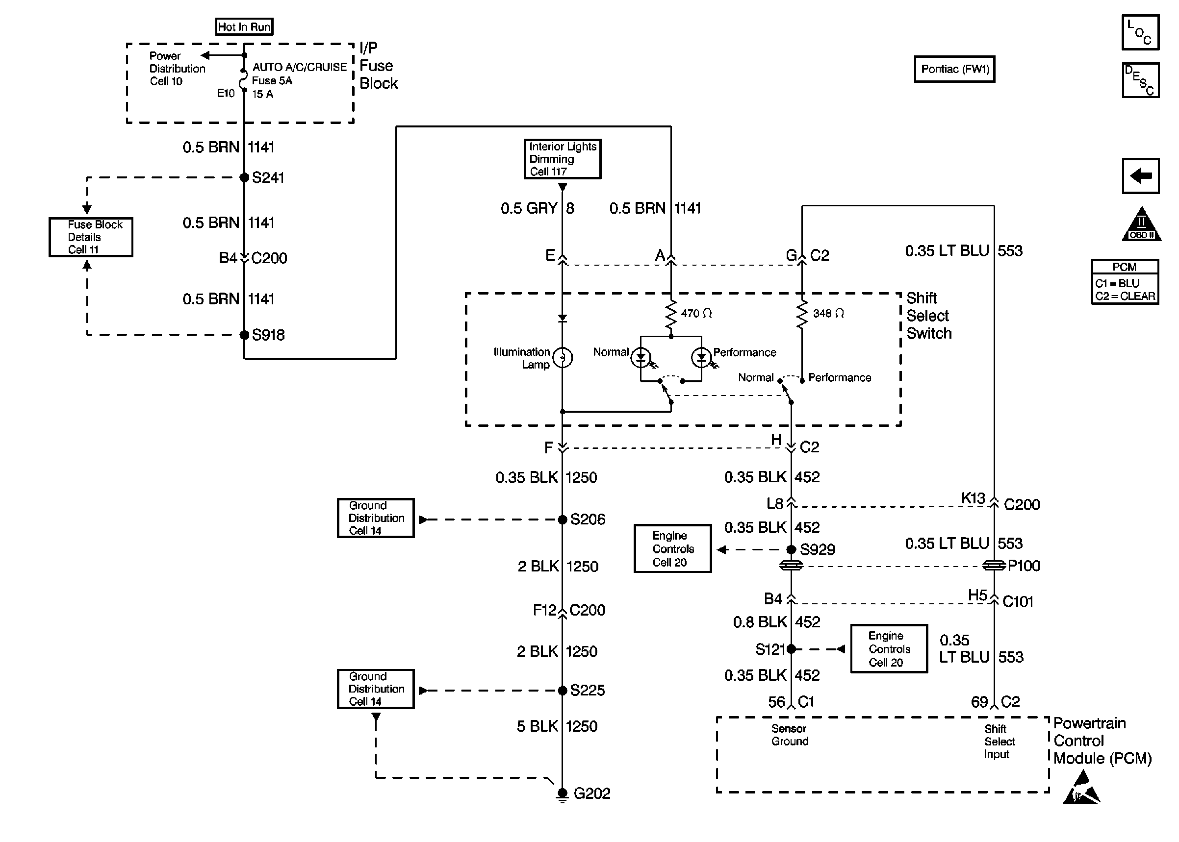
Gen Control,Volts Lamp, Shift Select Switch, EBTCM Module


Object Number: 46466  Size: FS
HVAC Programmer
Engine Controls Components
Information Sensors
Engine Oil Life Reset, Engine Oil Life Level Switch
OBD II Symbol Description Notice
Handling ESD Sensitive Parts Notice
Handling ESD Sensitive Parts Notice
Figure 16:

HVAC Control


Object Number: 46474  Size: FS
Engine Controls Components
Powertrain Control Module Controlled Air Conditioning (A/C) Circuit Diagnosis
Gen Control, Volts Lamp, Shift Select Switch, EBTCM Module
OBD II Symbol Description Notice
Handling ESD Sensitive Parts Notice
Figure 17:

HVAC Programmer


Object Number: 46478  Size: FS
Cooling Fans
Engine Controls Components
Powertrain Control Module Controlled Air Conditioning (A/C) Circuit Diagnosis
OBD II Symbol Description Notice
Handling ESD Sensitive Parts Notice
Figure 18:

Cooling Fans


Object Number: 46486  Size: FS
HVAC Control
Engine Controls Components
Electric Cooling Fan Diagnosis
OBD II Symbol Description Notice
Handling ESD Sensitive Parts Notice
Figure 19:

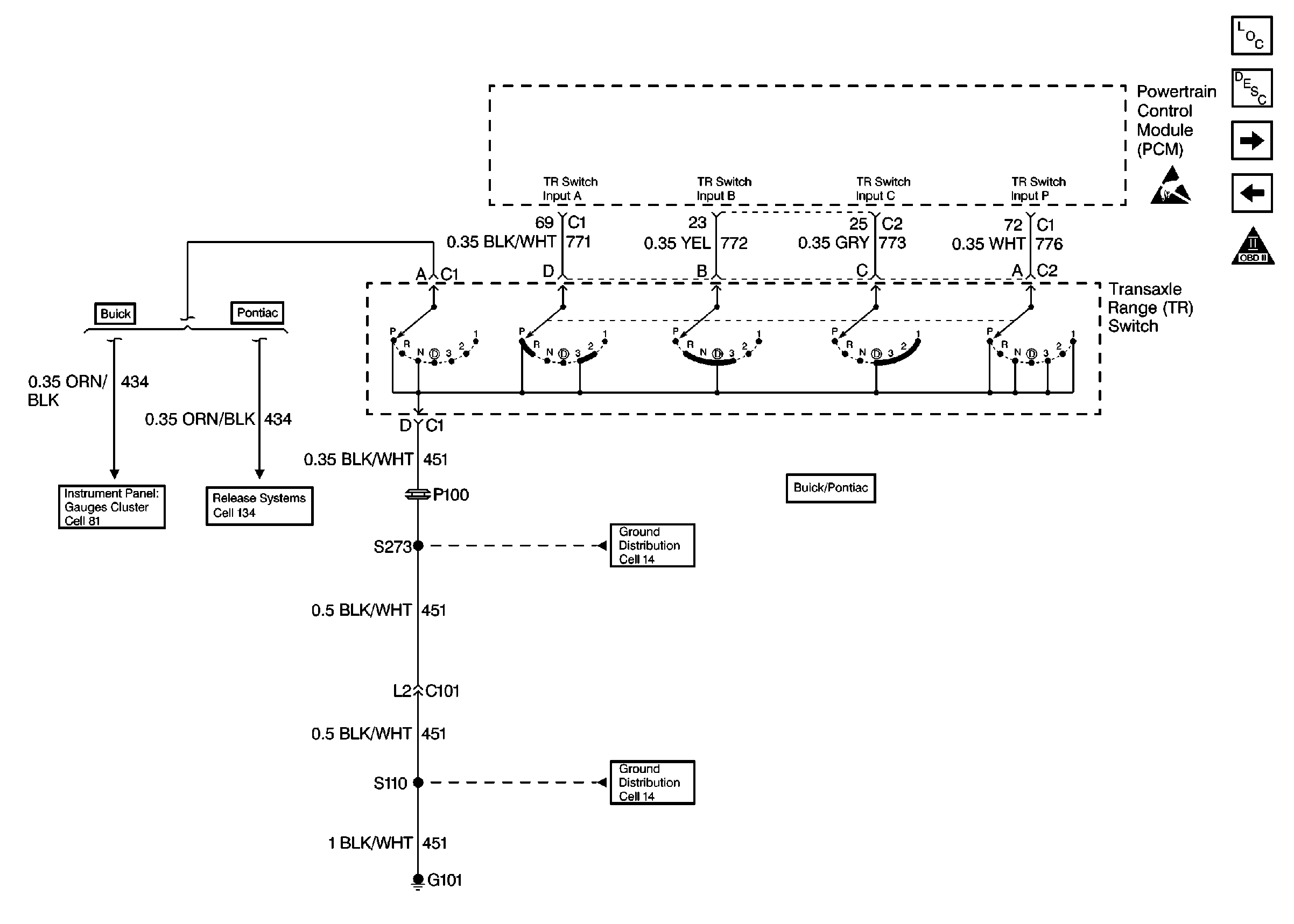
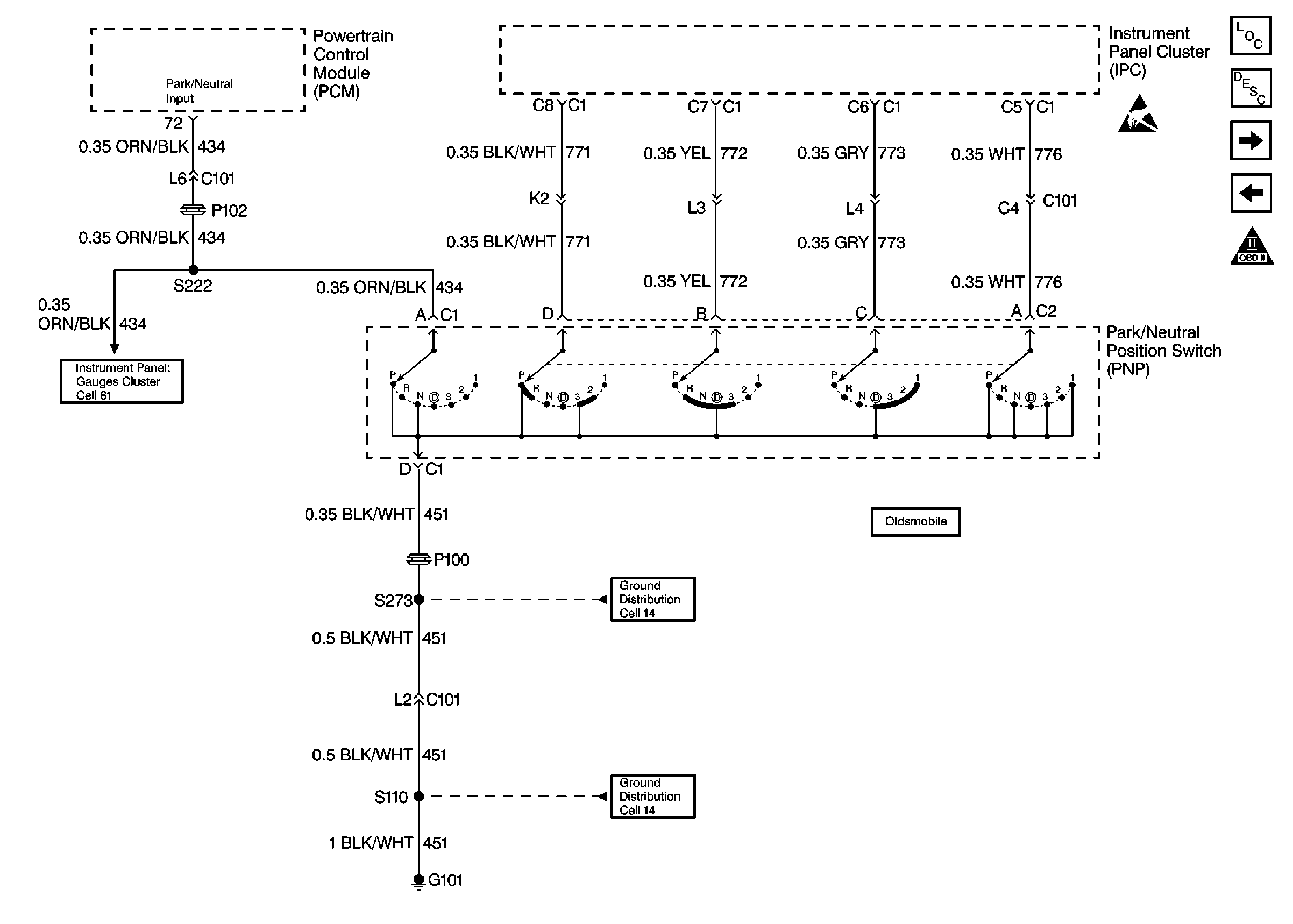
Trans Range PNP


Object Number: 46940  Size: FS
Engine Controls Components
OBD II Symbol Description Notice
Figure 20:

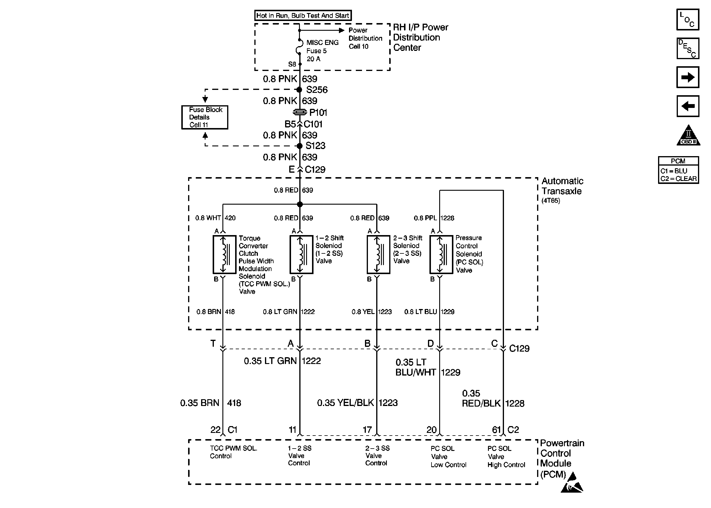
TCC, 4T65-E Trans


Object Number: 50698  Size: FS
Engine Oil Life Reset, Engine Oil Life Level Switch
Engine Controls Components
Information Sensors
OBD II Symbol Description Notice
Trans Range
Handling ESD Sensitive Parts Notice
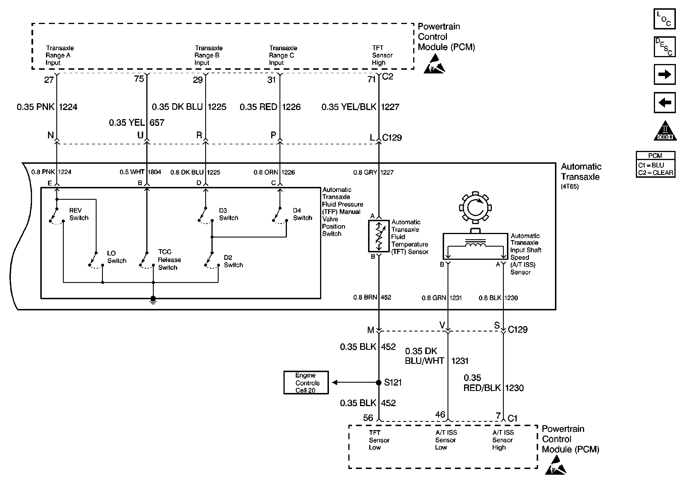
Figure 21:

TFT Sensor, Trans Range 4T65-E


Object Number: 50729  Size: FS
HVAC Programmer
Engine Controls Components
Information Sensors
Engine Oil Life Reset, Engine Oil Life Level Switch
OBD II Symbol Description Notice
Handling ESD Sensitive Parts Notice
Handling ESD Sensitive Parts Notice
Figure 22:

Shift Select Switch


Object Number: 46960  Size: FS
HVAC Programmer
Engine Controls Components
Information Sensors
Engine Oil Life Reset, Engine Oil Life Level Switch
OBD II Symbol Description Notice
Handling ESD Sensitive Parts Notice