GM Service Manual Online
For 1990-2009 cars only

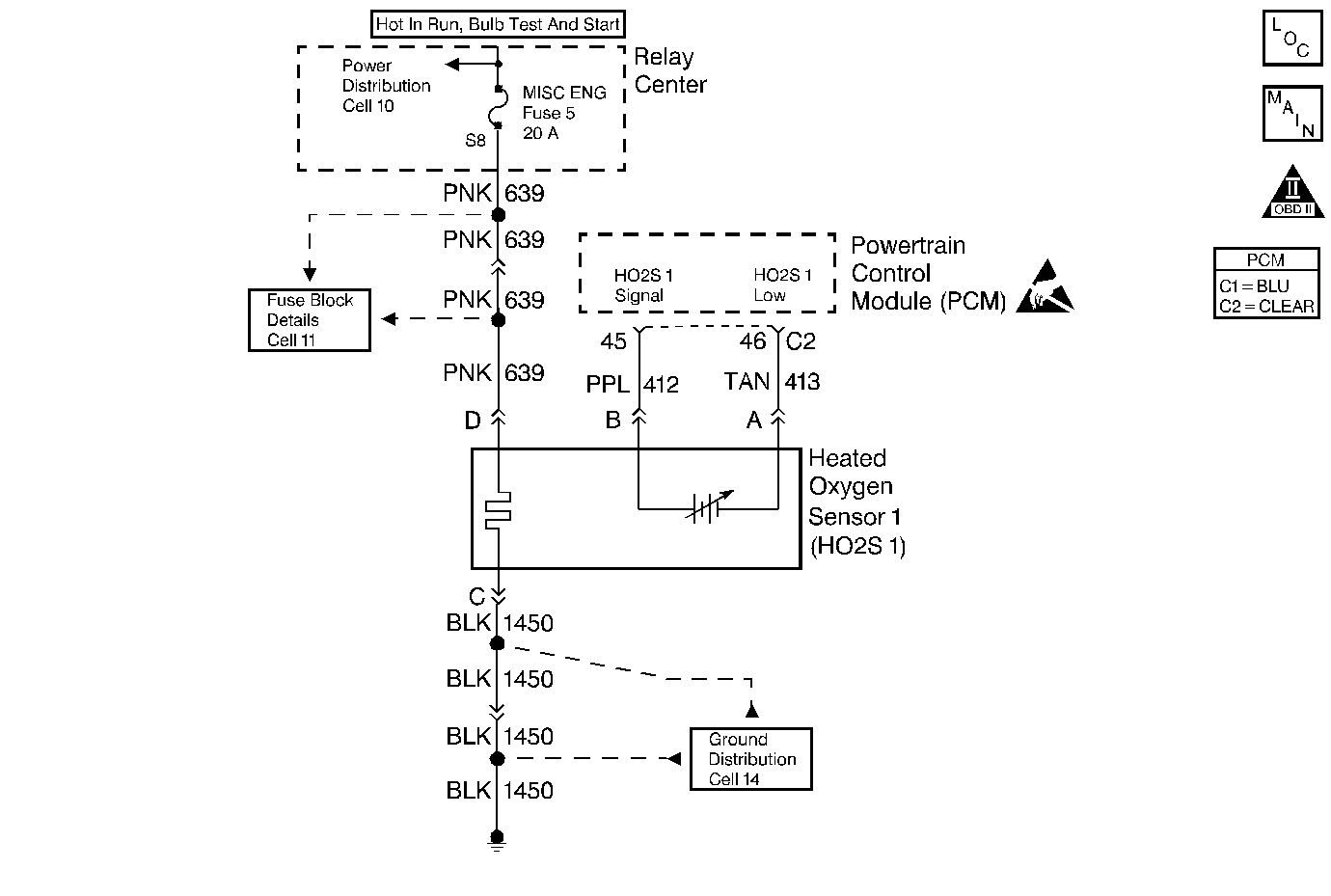
Object Number: 47569  Size: MF
Engine Controls Components
HO2S Sensors
OBD II Symbol Description Notice
Handling ESD Sensitive Parts Notice

Circuit Description

The powertrain control module (PCM) supplies a bias voltage of about 450 mV between the HO2S and low signal circuits. When measured with a 10 megohm digital voltmeter, this may display as low as 320 mV. The oxygen sensor varies the voltage within a range of about 1000 mV when the exhaust is rich, down through about 10 mV when exhaust is lean. The PCM constantly monitors the HO2S signal during closed loop operation and compensates for a rich or lean condition by decreasing or increasing injector pulse width as necessary. If the HO2S 1 voltage remains at or near the 450 mV bias for an extended period of time, DTC P0134 will be set, indicating an open HO2S high signal or HO2S low signal circuit.

Conditions for Setting the DTC

    • No EGR, CKP Sensor, TP sensor, EVAP system, misfire, IAT sensor, MAP sensor, fuel trim, fuel injector circuit, ECT sensor, or MAF sensor DTC(s) present.
    • Engine run time longer than 200 seconds.
    • HO2S 1 signal voltage remains between 400 mV and 500 mV for longer than 30 seconds.

Action Taken When the DTC Sets

    • The PCM will illuminate the malfunction indicator lamp (MIL) during the second consecutive trip in which the diagnostic test has been run and failed.
    • The PCM will store conditions which were present when the DTC set as Freeze Frame and Failure Records data.

Conditions for Clearing the MIL/DTC

    • The PCM will turn OFF the MIL during the third consecutive trip in which the diagnostic has been run and passed.
    • The History DTC will clear after 40 consecutive warm-up cycles have occurred without a malfunction.
    • The DTC can be cleared by using the scan tool.

Diagnostic Aids

Check for the following conditions:

    • Poor connection or damaged harness
        Inspect the harness connectors for backed out terminals, improper mating, broken locks, improperly formed or damaged terminals, poor terminal to wire connection, and damaged harness.
    • Malfunctioning HO2S heater or heater circuit
        With the ignition ON, engine not running, the HO2S voltage displayed on a scan tool should drop to less than 250 mV or rise to above 600 mV within 2 minutes. If not, disconnect the HO2S and connect a test light between the HO2S ignition feed and heater ground circuits. If the test light does not light, repair the open ignition feed or the HO2S heater ground circuit as necessary. Refer to Wiring Repairs in Wiring Systems. If the test light lights and the HO2S signal and low circuits are OK, replace the HO2S.
    • Intermittent test
        With the ignition ON, monitor the HO2S signal voltage while moving the wiring harness and related connectors. If the malfunction is induced, the HO2S signal voltage will change. This may help isolate the location of the malfunction.

Review the Fail Records vehicle mileage since the diagnostic test last failed to help determine how often the condition that caused the DTC to be set occurs. This may assist in diagnosing the condition.

Test Description

Number(s) below refer to the step number(s) on the Diagnostic Table

  1. This vehicle is equipped with a PCM which utilizes an Electrically Erasable Programmable Read Only Memory (EEPROM). When the PCM is being replaced, the new PCM must be programmed.

DTC P0134 - HO2S Circuit Insufficient Activity Sensor 1

Step

Action

Value(s)

Yes

No

1

Was the Powertrain On-Board Diagnostic (OBD) System Check performed?

--

Go to Step 2

Go to the Powertrain On Board Diagnostic (OBD) System Check

2

  1. Engine at operating temperature.
  2. Operate the engine above 1200 RPM for two minutes while monitoring HO2S 1 voltage on the scan tool.

Does the scan tool indicate HO2S 1 voltage varying outside the specified values?

400-500 mV

Go to Step 3

Go to Step 4

3

  1. Turn ON the ignition switch.
  2. Review and record scan tool Fail Records data and note parameters.
  3. Operate the vehicle within Fail Records conditions as noted.
  4. Using a scan tool, monitor Specific DTC info for DTC P0134 until the DTC P0134 test runs.

Does the scan tool indicate DTC failed this ignition?

--

Go to Step 4

Go to Diagnostic Aids

4

  1. Turn ON the ignition switch.
  2. Disconnect HO2S 1 and jumper the HO2S signal and low circuits (PCM side) to ground.
  3. Using a scan tool, monitor HO2S 1 voltage.

Is HO2S 1 voltage less than the specified value?

150 mV

Go to Step 8

Go to Step 5

5

  1. Remove the jumper wire from the HO2S signal circuit (leave the HO2S low circuit jumpered to ground).
  2. Using a J 39200 Digital Multimeter, measure voltage between the HO2S 1 signal circuit (PCM side) and the HO2S 1 heater ground circuit.

Does HO2S 1 signal voltage measure near the specified value?

450 mV

Go to Step 6

Go to Step 7

6

  1. Turn OFF the ignition switch.
  2. Disconnect the PCM.
  3. Check continuity of the HO2S 1 low circuit between the PCM harness connector and the HO2S 1 harness connector.
  4. If the HO2S 1 low circuit measures over 5 ohms, repair open or poor connection as necessary (refer to Heated Oxygen Sensor (O2S) Repair in Electrical Diagnosis).

Was a problem found?

--

Go to Step 13

Go to Step 9

7

  1. Turn OFF the ignition switch
  2. Disconnect the PCM.
  3. Check continuity of the following circuits:
  4. • The HO2S 1 signal circuit between the PCM harness connector and the HO2S 1 harness connector.
    • The HO2S 1 low circuit between the PCM harness connector and the HO2S 1 harness connector.
  5. If either circuit measures over 5 ohms, repair open or poor connection as necessary. Refer to Heated Oxygen Sensor (O2S) Repair in Electrical Diagnosis.

Was a problem found?

--

Go to Step 13

Go to Step 10

8

  1. Check the following circuits for a poor terminal connection at the HO2S 1 harness connector:
  2. • HO2S 1 signal circuit.
    • HO2S 1 low circuit.
  3. If a problem is found, replace terminal(s) as necessary. Refer to Heated Oxygen Sensor (O2S) Repair in Electrical Diagnosis.

Was a problem found?

--

Go to Step 13

Go to Step 11

9

  1. Check for poor HO2S 1 low circuit terminal connection at the PCM.
  2. If a problem is found, replace terminal as necessary. Refer to Heated Oxygen Sensor (O2S) Repair in Electrical Diagnosis.

Was a problem found?

--

Go to Step 13

Go to Step 12

10

  1. Check the HO2S 1 signal circuit and the HO2S 1 low circuit for a poor terminal connection at the PCM.
  2. If a problem is found, replace terminal(s) as necessary. Refer to Heated Oxygen Sensor (O2S) Repair in Electrical Diagnosis.

Was a problem found?

--

Go to Step 13

Go to Step 12

11

Replace HO2S 1. Refer to Heated Oxygen Sensor Replacement

Is action complete?

--

Go to Step 13

--

12

Replace the PCM.

Important:: The replacement PCM must be programmed. Refer to Powertrain Control Module Replacement/Programming

--

Go to Step 13

--

13

  1. Turn ON the ignition switch.
  2. Review and record scan tool Fail Records data.
  3. Clear DTCs.
  4. Operate the vehicle within Fail Records conditions as noted.
  5. Using a scan tool, monitor Specific DTC info for DTC P0134 until the DTC P0134 test runs.

Does the scan tool indicate DTC failed this ign?

--

Go to Step 2

System OK