GM Service Manual Online
For 1990-2009 cars only
Makes
🢒
Oldsmobile
🢒
1997
🢒
Eighty Eight
🢒
Engine
🢒
Engine Controls - 3.8L
🢒 Emission Hose Routing Diagram
Figure
1:
Pontiac with VIN 1
(1)
EVAP Vacuum Switch
(2)
PCV Valve
(3)
To Accessory
(4)
To Vacuum Brake Booster
(5)
Throttle Body
(6)
EVAP Canister
(7)
To Fuel Tank
(8)
Supercharger Bypass Solenoid (Boost Control Solenoid)
(9)
Supercharger Bypass Actuator (Bypass Valve Actuator)
(10)
Manifold Vacuum Source
(11)
Fuel Pressure Regulator
(12)
Supercharger Assembly
(13)
MAP Sensors
(14)
EVAP Canister Purge Valve
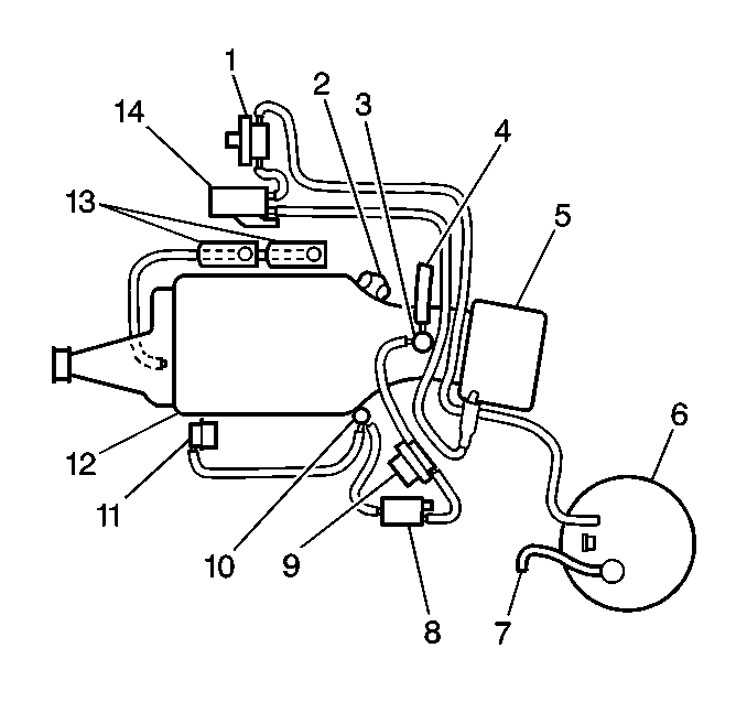
Figure
2:
Oldsmobile with VIN 1
(1)
EVAP Vacuum Switch
(2)
PCV Valve
(3)
To Accessory
(4)
To Vacuum Brake Booster
(5)
Throttle Body
(6)
EVAP Canister
(7)
To Fuel Tank
(8)
Supercharger Bypass Solenoid (Boost Control Solenoid)
(9)
Supercharger Bypass Actuator (Bypass Valve Actuator)
(10)
Manifold Vacuum Source
(11)
Fuel Pressure Regulator
(12)
Supercharger Assembly
(13)
MAP Sensor
(14)
EVAP Canister Purge Valve
Figure
3:
VIN K
(1)
Intake Manifold
(2)
To Vacuum Brake Booster
(3)
To Accessory
(4)
Throttle Body
(5)
To Transaxle
(6)
EVAP Canister
(7)
To Fuel Tank
(8)
To Vent Solenoid
(9)
EVAP Service Port
(10)
EVAP Canister Purge Valve
(11)
Fuel Pressure Regulator
(12)
PCV Valve