GM Service Manual Online
For 1990-2009 cars only

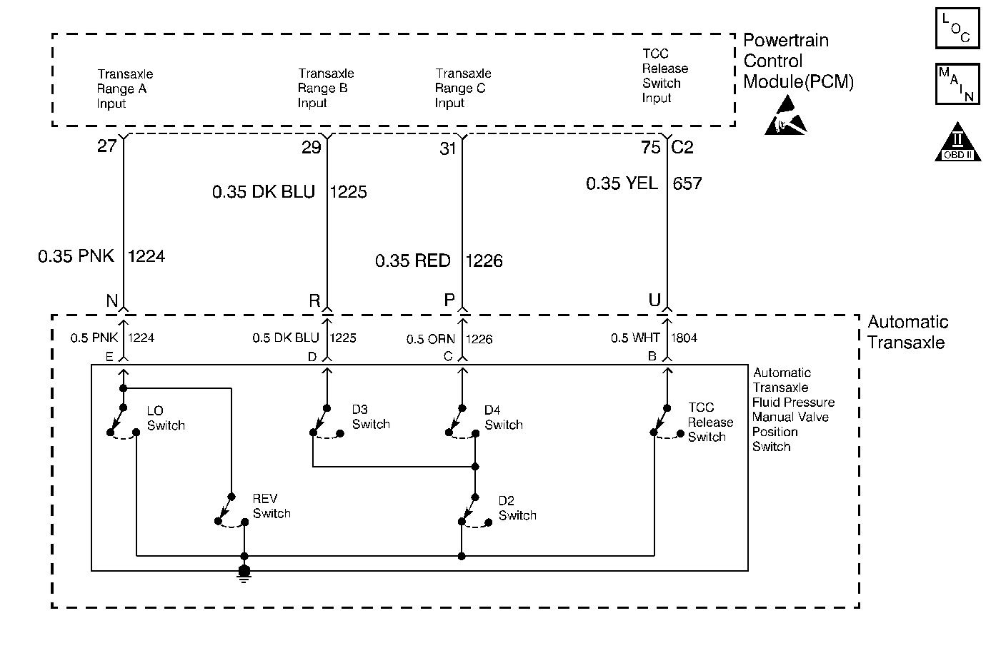
Object Number: 53495  Size: MF
Automatic Transmission Components
Automatic Transmission Controls Schematics
OBD II Symbol Description Notice
Handling ESD Sensitive Parts Notice

Circuit Description

The Torque Converter Clutch (TCC) release switch is part of the Automatic Transmission Fluid Pressure Manual Valve Position Switch (TFP Val. Position Sw.). The TFP Val. Position Sw. is mounted to the transmission valve body. The TCC release switch is normally-closed.

The switch signals the Powertrain Control Module that the TCC is released. This is accomplished by Torque Converter release fluid pressure acting on the switch contact, and opening circuit 657/1804. When the voltage is high on the circuit, the PCM recognizes that the TCC is no longer engaged.

If the PCM determines that the TCC release switch is open (indicating that the TCC is not applied) and the TCC slip speed indicates that the TCC is applied, then DTC P1887 sets. DTC P1887 is a type B DTC.

Conditions for Setting the DTC

    • No TCC Solenoid DTCs P0741 or P0742
    • No Input Speed Sensor DTCs P0716 or P0717
    • No TFP Val. Position Sw. DTC P1810
    • The engine is running.
    • The transmission range switch is in D4.
    • The TCC is commanded ON.
    • The TCC slip speed is -20 to +40 RPM.
    • The TCC release pressure is present (the switch is open).
    • All of the above conditions are met for 10 seconds.

Action Taken When the DTC Sets

    • The PCM illuminates the Malfunction Indicator Lamp (MIL) after two consecutive ignition cycles with a failure reported.
    • The PCM disables shift adapts.
    • The PCM inhibits TCC operation.
    • The PCM inhibits 4th gear if the transmission is in the hot mode.

Conditions for Clearing the MIL/DTC

    • The PCM turns OFF the MIL after three consecutive ignition cycles without a failure reported.
    • A scan tool can clear the DTC from the PCM history. The PCM clears the DTC from the PCM history if the vehicle completes 40 warm-up cycles without a failure reported.
    • The PCM cancels the DTC default actions when the fault no longer exists and the ignition is OFF long enough in order to power down the PCM.

Diagnostic Aids

    • Inspect the wiring for poor electrical connections at the PCM. Inspect the wiring for poor electrical connections at the transmission 20-way connector. Look for the following problems:
       - A bent terminal
       - A backed out terminal
       - A damaged terminal
       - Poor terminal tension
       - A chafed wire
       - A broken wire inside the insulation
    • When diagnosing for an intermittent short or open, massage the wiring harness while watching the test equipment for a change.

Test Description

The numbers below refer to the Step numbers on the diagnostic table.

  1. This step tests the PCM's ability to recognize an open circuit.

  2. This step tests the PCM's ability to recognize a grounded circuit.

  3. Because of the harsh conditions inside the transmission, repairing the A/T Wiring Harness is not acceptable. You must replace the A/T Wiring Harness.

P1887

Step

Action

Value(s)

Yes

No

1

Was the Powertrain On-Board Diagnostic (OBD) System Check performed?

--

Go to Step 2

Go to Powertrain On Board Diagnostic (OBD) System Check

2

  1. Install the Scan Tool ®.
  2. With the engine OFF, turn the ignition switch to the RUN position.
  3. Important: Before clearing the DTCs, use the scan tool in order to record the Freeze Frame and Failure Records for reference. The Clear Info function will erase the data.

  4. Record the DTC Freeze Frame and Failure Records.
  5. Select scan tool TCC Release Pressure.

Is TCC Release Pressure present?

--

Go to Step 4

Go to Step 3

3

  1. Turn the ignition OFF.
  2. Disconnect the transmission 20-way connector (additional DTCs will set).
  3. With the engine OFF, turn the ignition switch to the RUN position.

Is TCC Release Pressure present?

--

Go to Step 7

Go to Step 6

4

  1. Connect the J 39775 Jumper Harness to the engine 20-way connector.
  2. Using the J 35616-A Connector Test Adapter Kit, connect a J 36169-A Fused Jumper Wire from terminal U to a good ground.

Is the TCC Release Pressure present?

--

Go to Step 5

Go to Step 7

5

Inspect engine harness circuit 657 for an open.

Refer to Troubleshooting Procedures, Section 8.

Did you find and correct the problem?

--

Go to Step 14

Go to Step 12

6

Inspect engine harness circuit 657 for a short to ground.

Refer to Troubleshooting Procedures, Section 8.

Did you find and correct the problem?

--

Go to Step 14

--

7

  1. Disconnect the J 39775 Jumper Harness from the engine 20-way connector.
  2. Connect the J 39775 Jumper Harness to the transmission 20-way connector. (Connector End View )
  3. Connect the J 39200 DMM from U to a good ground.

Is the resistance less than the specified value?

50ohms

Go to Step 8

Go to Step 9

8

Start the engine.

Is the resistance greater than the specified value?

50ohms

Go to Step 11

Go to Step 10

9

Inspect Automatic Transmission (A/T) Wiring Harness circuit 1804 for an open.

Refer to Troubleshooting Procedures, Section 8.

Did you find the problem?

--

Go to Step 13

Go to Step 11

10

Inspect the Automatic Transmission (A/T) Wiring Harness circuit 1804 for a short to ground.

Refer to Troubleshooting Procedures, Section 8.

Did you find the problem?

--

Go to Step 13

Go to Step 11

11

Replace the TFP Val. Position Sw.

Refer to Solenoids and Wiring Harness, in On-Vehicle Service.

Is the replacement complete?

--

Go to Step 14

--

12

Replace the PCM.

Refer to Powertrain Control Module Replacement/Programming , Section 6.

Is the replacement complete?

--

Go to Step 14

--

13

Replace the A/T Wiring Harness.

Refer to Solenoids and Wiring Harness, in On-Vehicle Service.

Is the replacement complete?

--

Go to Step 14

--

14

In order to verify your repair, perform the following procedure:

  1. Select DTC.
  2. Select Clear Info.
  3. Operate the vehicle under the following conditions:
  4. • Drive the vehicle in D4 in order to obtain 74 km/h (45 mph).
    • With the TCC commanded ON and engaged, the TCC release switch status must be Closed (no release oil present at the switch) for 3 seconds.
  5. Select Specific DTC. Enter DTC P1887.

Has the test run and passed?

--

System OK

Begin the diagnosis again. Go to Step 1