GM Service Manual Online
For 1990-2009 cars only
Figure 1:

Cell 150: Power Distribution, Radio Antenna Module, Radio Control Switches and Ground Distribution


Object Number: 308588  Size: FS
Entertainment Components
Radio/Audio System Circuit Description
Cell 150: Speakers
Handling Electrostatic Discharge Sensitive Parts Notice
Handling Electrostatic Discharge Sensitive Parts Notice
SIR Handling Caution
Cell 117: I/P Lamp Dimmer Switch and Ground Distribution
Cell 10: RADIO-HVAC, ABS-BCM, INADV POWER BUS, CIGAR LTR and CD CHANGER Fuses
Cell 10: WIPER, POWER DROP, RADIO-CRUISE, And RED STRG WHL ILLUM Fuses
Cell 10: WIPER, POWER DROP, RADIO-CRUISE, And RED STRG WHL ILLUM Fuses
Cell 10: RADIO-HVAC, ABS-BCM, INADV POWER BUS, CIGAR LTR and CD CHANGER Fuses
Cell 14: LH I/P Ground G203
Cell 14: LH I/P Ground G203
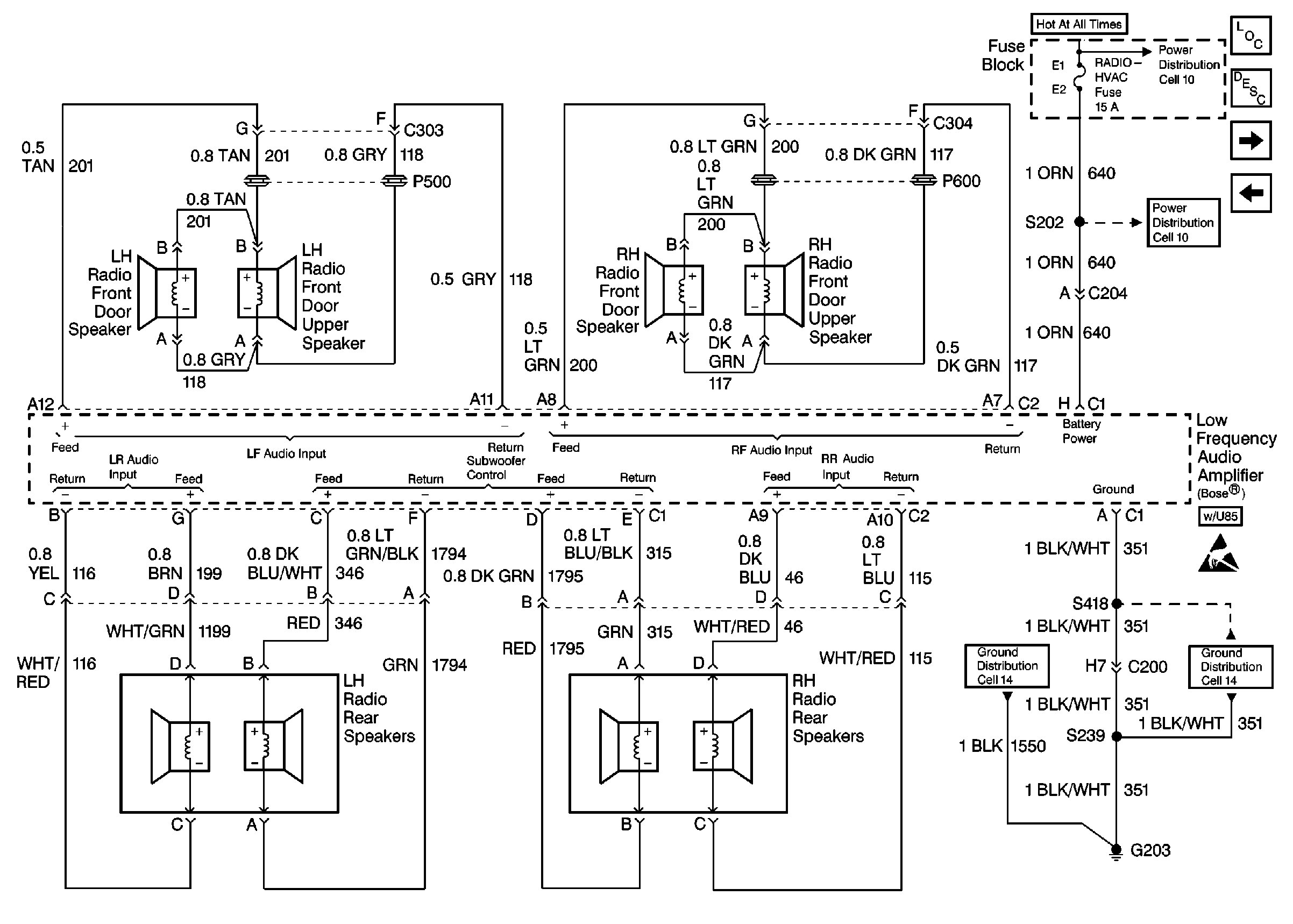
Figure 2:

Cell 150: Speakers


Object Number: 308589  Size: FS
Entertainment Components
Radio/Audio System Circuit Description
Cell 150: CD Player
Cell 150: Power Distribution, Radio Antenna Module, Radio Control Switches and Ground Distribution
Handling Electrostatic Discharge Sensitive Parts Notice
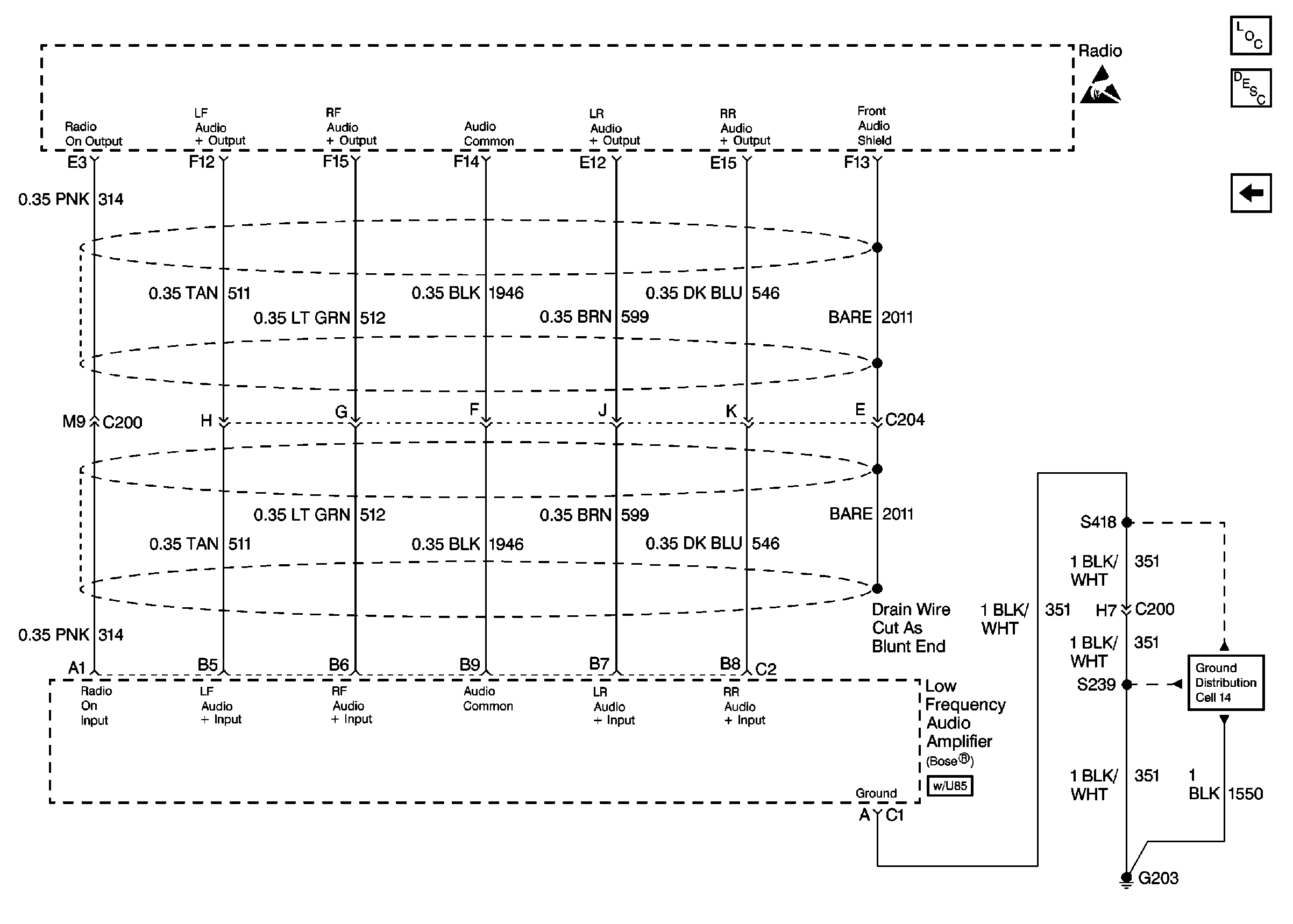
Figure 3:

Cell 150: CD Player


Object Number: 308590  Size: FS
Entertainment Components
Radio/Audio System Circuit Description
Cell 150: Speakers - Bose®
Cell 150: Speakers
Handling Electrostatic Discharge Sensitive Parts Notice
Handling Electrostatic Discharge Sensitive Parts Notice
Cell 10: RADIO-HVAC, ABS-BCM, INADV POWER BUS, CIGAR LTR and CD CHANGER Fuses
Cell 14: LH I/P Ground G203
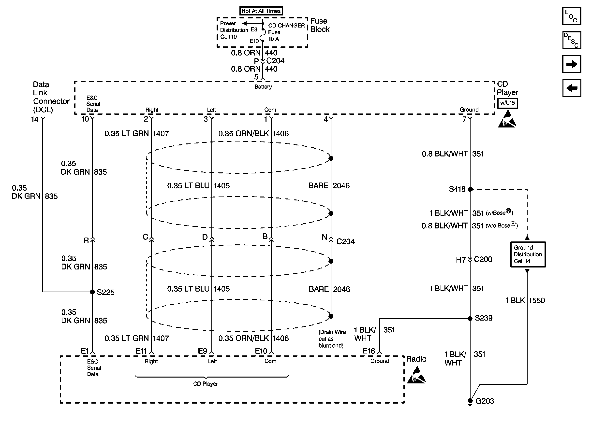
Figure 4:

Cell 150: Speakers -- Bose®


Object Number: 308591  Size: FS
Entertainment Components
Radio/Audio System Circuit Description
Cell 150: Low Frequency Audio Amplifier - Bose®
Cell 150: CD Player
Handling Electrostatic Discharge Sensitive Parts Notice
Cell 10: RADIO-HVAC, ABS-BCM, INADV POWER BUS, CIGAR LTR and CD CHANGER Fuses
Cell 10: RADIO-HVAC, ABS-BCM, INADV POWER BUS, CIGAR LTR and CD CHANGER Fuses
Cell 14: LH I/P Ground G203
Cell 14: LH I/P Ground G203
Figure 5:

Cell 150: Low Frequency Audio Amplifier -- Bose®


Object Number: 308592  Size: FS
Entertainment Components
Radio/Audio System Circuit Description
Cell 150: Speakers - Bose®
Handling Electrostatic Discharge Sensitive Parts Notice
Cell 14: LH I/P Ground G203