GM Service Manual Online
For 1990-2009 cars only

Removal Procedure


    Object Number: 182475  Size: SH
  1. Remove the headlamp. Refer to Headlamp Replacement in Lighting Systems.
  2. Disconnect the electrical connector from the horn assembly.

  3. Object Number: 182474  Size: SH
  4. Remove the horn assembly mounting bolt.
  5. Remove the horn assembly.

Installation Procedure


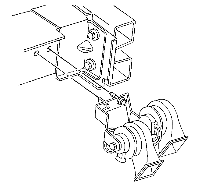
    Object Number: 182474  Size: SH
  1. Position the horn assembly to the frame rail extension; insert the horn anti-rotation tab into the slot on the frame rail.
  2. Notice: Use the correct fastener in the correct location. Replacement fasteners must be the correct part number for that application. Fasteners requiring replacement or fasteners requiring the use of thread locking compound or sealant are identified in the service procedure. Do not use paints, lubricants, or corrosion inhibitors on fasteners or fastener joint surfaces unless specified. These coatings affect fastener torque and joint clamping force and may damage the fastener. Use the correct tightening sequence and specifications when installing fasteners in order to avoid damage to parts and systems.

  3. Install the horn assembly mounting bolt.
  4. Tighten
    Tighten the horn assembly mounting bolt to 15 N·m (11 lb ft).


    Object Number: 182475  Size: SH
  5. Connect the electrical connector to the horn assembly.
  6. Install the headlamp. Refer to Headlamp Replacement in Lighting Systems.