GM Service Manual Online
For 1990-2009 cars only

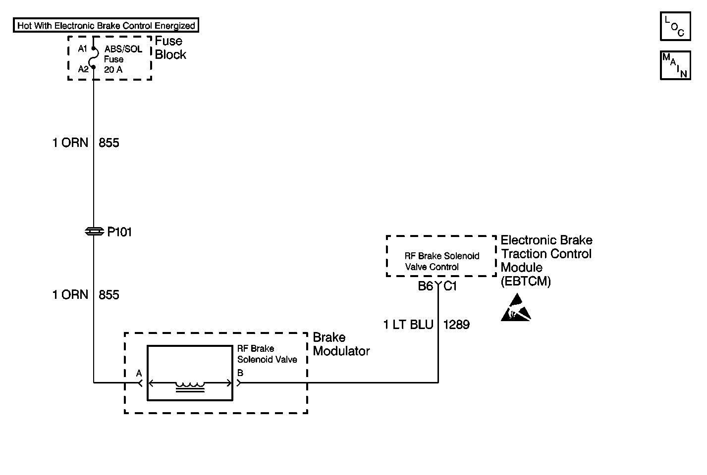
Object Number: 307953  Size: MF
ABS Components
Antilock Brake System Schematics
Handling Electrostatic Discharge Sensitive Parts Notice

Circuit Description

DTC C1281 identifies a solenoid that cannot be energized due to a short to voltage in the solenoid driver circuitry. The malfunction can affect ABS operation since the flow of brake fluid to the wheel cylinder cannot be stopped. The unstoppable flow of brake fluid to the wheel cylinder makes ABS operation for that channel impossible.

Conditions for Setting the DTC

DTC C1281 can set only when the brake solenoid is commanded on.

A malfunction exists if the EBTCM detects the right front brake solenoid valve control circuit voltage is not within specifications.

Action Taken When the DTC Sets

    • A malfunction DTC stores.
    • The ABS/ETS disables.
    • The amber ABS/ETS warning indicators turn on.

Conditions for Clearing the DTC

    • The condition responsible for setting the DTC no longer exists and the Scan Tool Clear DTCs function is used.
    • 100 drive cycles pass with no DTCs detected.

Diagnostic Aids

The following conditions may cause an intermittent malfunction:

    • A poor connection
    • Rubbed-through wire insulation
    • A broken wire inside the insulation

Use the enhanced diagnostic function of the Tcan Tool in order to measure the frequency of the malfunction. Refer to the Scan Tool manual or Scan Tool Diagnostics located in this section for the procedure.

Thoroughly inspect any circuitry that may cause the intermittent complaint for the following conditions:

    • Backed out terminals
    • Improper mating
    • Improperly formed or damaged terminals
    • Poor terminal-to-wiring connections
    • Physical damage to the wiring harness

Step

Action

Value(s)

Yes

No

1

Was the Diagnostic System Check performed?

--

Go to Step 2

Go to Diagnostic System Check - ABS

2

  1. Turn the ignition switch to the OFF position.
  2. Disconnect the right front solenoid valve connector
  3. Turn the ignition switch to the ON position.
  4. Do not start the engine.

  5. Use the J 39200 in order to measure the voltage between the right front brake solenoid valve connector terminal A and ground.

Is the voltage within the specified range?

0.0-1.0 V

Go to Step 3

Go to Step 7

3

  1. Turn the ignition switch to the OFF position.
  2. Use the J 39200 in order to measure the resistance between the following components:
  3. • The right front brake solenoid valve connector terminal A
    • The right front brake solenoid valve connector terminal B

Is the resistance within the specified range?

2.5-5.0 ohms

Go to Step 4

Go to Step 7

4

  1. Disconnect the 24-way EBTCM connector C1.
  2. Turn the ignition switch to the ON position.
  3. Do not start the engine.

  4. Use the J 39200 in order to measure the voltage between the 24-way EBTCM harness connector C1 terminal B6 and ground.

Is the voltage within the specified range?

0.0-1.0 V

Go to Step 5

Go to Step 8

5

  1. Turn the ignition switch to the OFF position.
  2. Inspect the right front brake solenoid valve connector for damage. Damage may cause a short to voltage with the right front brake solenoid valve connector connected.
  3. Inspect CKT 1289 for damage. Damage may cause a short to voltage.
  4. Inspect the 24-way EBTCM connector C1 for damage. Damage may cause a short to voltage with the 24-way EBTCM connector C1 connected.

Is there damage that may cause a short to voltage?

--

Go to Step 9

Go to Step 6

6

  1. Reconnect the 24-way EBTCM connector C1.
  2. Reconnect the right front brake solenoid valve connector.
  3. Start the engine with your foot off the brake.
  4. Allow the engine to run for at least ten seconds.
  5. Use the scan tool in order to inspect for DTCs.

Does DTC C1281 set as a current DTC?

--

Go to Step 10

Go to Step 11

7

Replace the right front brake solenoid valve. Refer to Brake Solenoid Valve Replacement .

Is the repair complete?

--

Go to Diagnostic System Check - ABS

--

8

Repair the short to voltage in CKT 1289.

Is the repair complete?

--

Go to Diagnostic System Check - ABS

--

9

Repair the damage that caused a short to voltage.

Is the repair complete?

--

Go to Diagnostic System Check - ABS

--

10

Replace the EBTCM. Refer to Electronic Brake and Traction Control Module Replacement .

Is the repair complete?

--

Go to Diagnostic System Check - ABS

--

11

Is the malfunction intermittent or is not present at this time?

--

Go to Diagnostic Aids

--