GM Service Manual Online
For 1990-2009 cars only

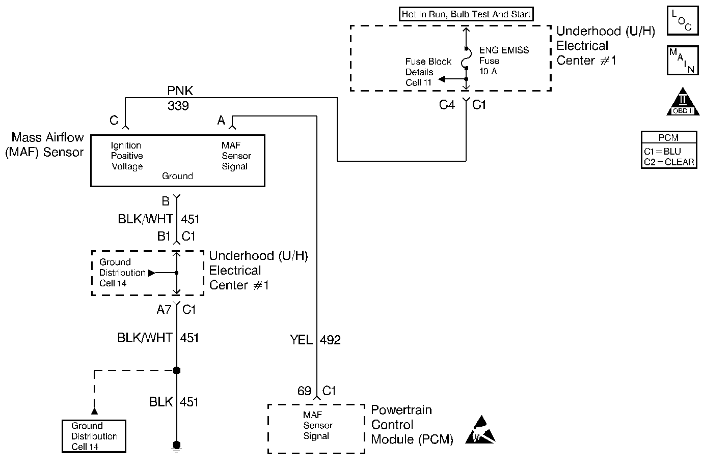
Object Number: 154524  Size: MF
Engine Controls Components
Engine Data Sensors-MAF, EVAP Vent, EVAP Purge, EGR
OBD II Symbol Description Notice

Circuit Description

The Mass Air Flow (MAF) sensor measures the amount of air which passes through it into the engine during a given time. The PCM uses the mass air flow information to monitor engine operating conditions for fuel delivery calculations. A large quantity of air entering the engine indicates an acceleration or high load situation, while a small quantity of air indicates deceleration or idle. The MAF sensor produces a frequency signal which can be monitored using a scan tool. The frequency will vary within a range of around 2000 Hertz at idle to about 10,000 Hertz at maximum engine load. DTC P0103 will be set if the signal frequency from the MAF sensor is higher than the possible range of a normally operating MAF sensor.

Conditions for Running the DTC

    • The engine is running.
    • TP angle is less than 50%.
    • System voltage is greater than 8 volts.

Conditions for Setting the DTC

    • MAF signal frequency is greater than 11,500 Hertz.
    • The above conditions are present for longer than 0.5 seconds + 100 3X reference periods (33 crankshaft revolutions).

Action Taken When the DTC Sets

    • The PCM will illuminate the Malfunction Indicator Lamp (MIL) the first time the malfunction is detected.
    • The PCM calculates an airflow value based on idle air control valve position, throttle position, RPM and barometric pressure.
    • The PCM will store conditions which were present when the DTC set as Freeze Frame and the Fail Records data.

Conditions for Clearing the MIL/DTC

    • The PCM will turn the MIL OFF during the third consecutive trip in which the diagnostic has been run and passed.
    • The history DTC will clear after 40 consecutive warm-up cycles have occurred without a malfunction.
    • The DTC can be cleared by using the scan tool Clear Info function or by disconnecting the PCM battery feed.

Diagnostic Aids

Check for the following conditions:

    • Poor connection at the PCM. Inspect harness connectors for backed out terminals, improper mating, broken locks, improperly formed or damaged terminals, and poor terminal to wire connection.
    • Misrouted harness. Inspect the MAF sensor harness to ensure that it is not routed too close to high voltage wires such as spark plug leads.
    • Damaged harness. Inspect the wiring harness for damage.
    • If the harness appears to be OK, observe the scan tool while moving connectors and wiring harnesses related to the MAF sensor. A change in the display will indicate the location of the malfunction.

If DTC P0103 cannot be duplicated, the information included in the Fail Records data can be useful in determining vehicle mileage since the DTC was last set.

Test Description

Number(s) below refer to the step number(s) on the Diagnostic Table:

  1. This step verifies that the problem is present at idle.

  2. A frequency reading with the MAF sensor connector disconnected indicates an Electromagnetic Interference (EMI) related malfunction or a poor connection.

  3. This vehicle is equipped with a PCM which utilizes an Electrically Erasable Programmable Read Only Memory (EEPROM). When the PCM is being replaced, the new PCM must be programmed.

DTC P0103 - MAF Sensor Circuit High Frequency

Step

Action

Value(s)

Yes

No

1

Was the Powertrain On-Board Diagnostic (OBD) System Check performed?

--

Go to Step 2

Go to the Powertrain On Board Diagnostic (OBD) System Check

2

  1. Start the engine.
  2. With the engine idling, monitor MAF Frequency on the scan tool.

Is MAF Frequency greater than the specified value?

11,500 Hertz

Go to Step 4

Go to Step 3

3

  1. Turn the ignition switch to the ON position.
  2. Review and record scan tool Fail Records data.
  3. Operate the vehicle within Fail Records conditions.
  4. Using a scan tool, monitor Specific DTC info for DTC P0103.

Does the scan tool indicate DTC P0103 failed this ign?

--

Go to Step 4

Refer to Diagnostic Aids

4

  1. Turn the ignition switch to the OFF position.
  2. Disconnect the MAF sensor connector.
  3. Start the engine.
  4. Monitor MAF Frequency on the scan tool.

Does the scan tool indicate MAF Frequency at the specified value?

0 Hz

Go to Step 5

Go to Step 7

5

  1. Check for a poor connection at the MAF sensor harness terminals.
  2. If a poor connection is found, replace loose terminal(s). Refer to Repair Procedures in Wiring Repairs .

Was a problem found?

--

Go to Step 10

Go to Step 6

6

Replace the MAF sensor. Refer to Mass Airflow Sensor Replacement

Is action complete?

--

Go to Step 10

--

7

  1. Check the MAF sensor harness for incorrect routing:
  2. • Near secondary ignition wires or coils.
    • Near other high voltage components (solenoids, relays, motors).
  3. If a problem is found, repair as necessary.

Was a problem found?

--

Go to Step 10

Go to Step 8

8

  1. Check MAF signal circuit terminal connections at the PCM.
  2. If a poor connection is found, replace loose terminal(s). Refer to Repair Procedures in Wiring Repairs .

Was a problem found?

--

Go to Step 10

Go to Step 9

9

Replace the PCM.

Important:: The replacement PCM must be programmed. Refer to Powertrain Control Module Replacement/Programming .

Is action complete?

--

Go to Step 10

--

10

  1. Turn the ignition switch to the ON position.
  2. Review and record scan tool Fail Records data.
  3. Clear DTCs.
  4. Operate the vehicle within Fail Records conditions.
  5. Using a scan tool, monitor Specific DTC info for DTC P0103

Does the scan tool indicate DTC P0103 failed this ign?

--

Go to Step 2

System OK