GM Service Manual Online
For 1990-2009 cars only

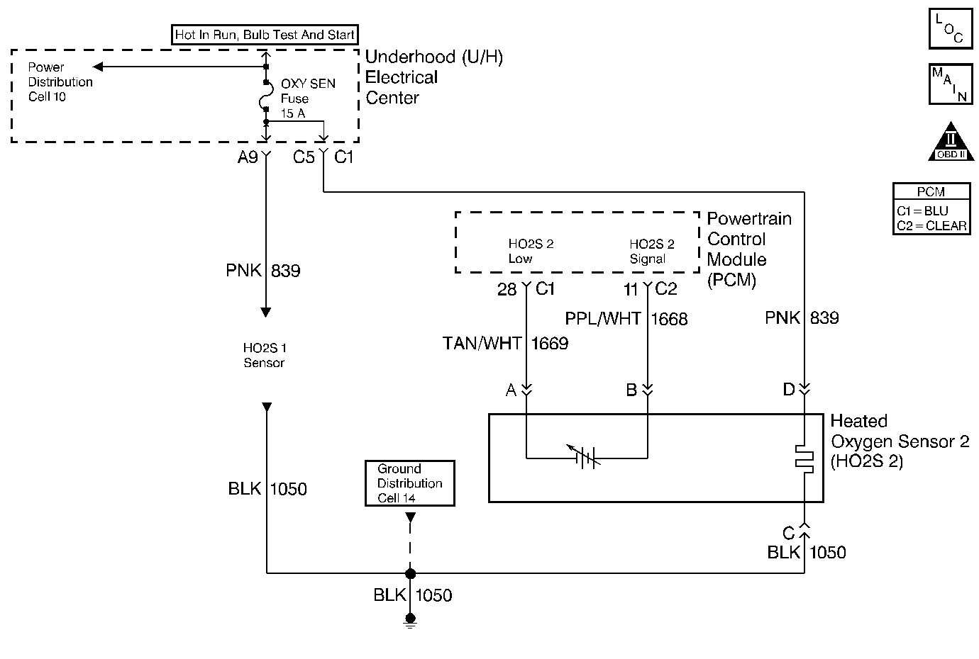
Object Number: 154570  Size: MF
Engine Controls Components
Engine Data Sensors-HO2S #1, HO2S #2
OBD II Symbol Description Notice

Circuit Description

The PCM supplies a bias voltage of about 450 mV between the HO2S signal and low circuits. When measured with a 10 megohm digital voltmeter, this may display as low as 320 mV. The oxygen sensor varies the voltage within a range of about 1000 mV when the exhaust is rich, down through about 10 mV when exhaust is lean. The PCM constantly monitors the HO2S signal during closed loop operation and compensates for a rich or lean condition by decreasing or increasing injector pulse width as necessary. If the HO2S 2 voltage remains excessively high for an extended period of time, DTC P0138 will be set.

Conditions for Setting the DTC

    • No active TP sensor, EVAP system, misfire, IAT sensor, MAP sensor, fuel trim, fuel injector circuit, EGR Pintle Position, ECT sensor, CKP sensor, or MAF sensor DTC(s) present.
    • Closed loop commanded air/fuel ratio is between 14.5 and 14.8.
    • Throttle angle is between 3% and 40%.
    • HO2S 2 signal voltage remains above 999 mV during normal closed loop operation.

OR

    • HO2S 2 signal voltage remains above 200 mV during deceleration fuel mode operation.
    • Either condition for up to 3 minutes.

Action Taken When the DTC Sets

    • The PCM will illuminate the MIL during the second consecutive trip in which the diagnostic test has been run and failed.
    • The PCM will store conditions which were present when the DTC set as Freeze Frame and Fail Records data.

Conditions for Clearing the MIL/DTC

    • The PCM will turn the MIL OFF during the third consecutive trip in which the diagnostic has been run and passed.
    • The history DTC will clear after 40 consecutive warm-up cycles have occurred without a malfunction.
    • The DTC can be cleared by using the scan tool Clear Info function or by disconnecting the PCM battery feed.

Diagnostic Aids

Check for the following conditions:

    • Fuel pressure: An excessively rich fuel mixture can cause a DTC P0138 to be set.
        Refer to Fuel System Pressure Test .
    • Fuel injector(s): Refer to Fuel Injector Solenoid Coil Test - Engine Coolant Temperature Between 10-35 Degrees C (50-95 Degrees F) or Fuel Injector Solenoid Coil Test - Engine Coolant Temperature Outside 10-35 Degrees C (50-95 Degrees F) .
    • Evaporative emissions (EVAP) canister purge: Check for fuel saturation. If full of fuel, check canister control and hoses.
        Refer to EVAP Control System Diagnosis .
    • Mass Air Flow sensor: Disconnect the MAF sensor and see if the rich condition is corrected. If so, replace MAF sensor. Refer to Mass Airflow Sensor Replacement .
    • Fuel Pressure Regulator: Check for a leaking fuel pressure regulator diaphragm by checking the vacuum line to regulator for the presence of fuel. If fuel is present, replace the fuel pressure regulator. Refer to Fuel Pressure Regulator Replacement .
    • TP Sensor: An intermittent TP sensor output will cause the system to go rich due to a false indication of the engine accelerating. Throttle Angle displayed on a scan tool should increase steadily from 0% to 100% when opening the throttle. If not, check the TP sensor for loose mounting screws. If the TP mounting screws are OK, replace the TP sensor. Refer to Throttle Position Sensor Replacement .
    • Shorted Heated Oxygen Sensor (HO2S): If the HO2S is internally shorted the HO2S voltage displayed on the scan tool will be over 1 volt. Try disconnecting the affected HO2S and jumper the HO2S low circuit to ground with the key ON, engine not running. If the displayed HO2S voltage changes from over 1000 mV to around 450 mV, replace the HO2S. Silicon contamination of the HO2S can also cause a high HO2S voltage to be indicated. This condition is indicated by a powdery white deposit on the portion of the HO2S exposed to the exhaust stream. If contamination is evident, replace the affected HO2S. Refer to Heated Oxygen Sensor Replacement .
    • Open HO2S Signal or Low Circuit or Malfunctioning HO2S: A poor connection or open in the HO2S signal or low circuit can cause the DTC to set during deceleration fuel mode. An HO2S which is malfunctioning and not allowing a full voltage swing between the rich and lean thresholds can also cause this condition. Operate the vehicle while monitoring the HO2S voltage with a scan tool. If the HO2S voltage is limited within a range between 300mV to 600mV, check the HO2S signal and low circuit wiring and associated terminal connections. If the wiring and connections are OK, replace the affected HO2S. Refer to Heated Oxygen Sensor Replacement .

Test Description

Number(s) below refer to step numbers on the Diagnostic Table:

  1. DTC P0138 failing during deceleration fuel mode operation (vehicle speed above 40 km/h / 25 mph, TP angle below 3%) may indicate a condition described in Diagnostic Aids. If the DTC P0138 test passes while the Fail Records conditions are being duplicated, an intermittent condition is indicated. Reviewing the Fail Records vehicle mileage since the diagnostic test last failed may help determine how often the condition that caused the DTC to be set occurs. This may assist in diagnosing the condition.

  2. This vehicle is equipped with a PCM which utilizes an Electrically Erasable Programmable Read Only Memory (EEPROM). When the PCM is being replaced, the new PCM must be programmed.

DTC P0138 - HO2S Circuit High Voltage Sensor 2

Step

Action

Value(s)

Yes

No

1

Was the Powertrain On-Board Diagnostic (OBD) System Check performed?

--

Go to Step 2

Go to the Powertrain On Board Diagnostic (OBD) System Check

2

  1. Engine at operating temperature.
  2. Operate vehicle within parameters specified under Conditions for Setting the DTC criteria included in Diagnostic Support.
  3. Monitor the HO2S 2 voltage display on the scan tool.

Does the HO2S 2 voltage remain above the specified value?

999 mV

Go to Step 4

Go to Step 3

3

  1. Turn ON the ignition switch, review and record scan tool Fail Records data.
  2. Operate the vehicle within Fail Records conditions as noted.
  3. Using a scan tool, monitor Specific DTC info for DTC P0138 until the DTC P0138 test runs.

Does scan tool indicate DTC P0138 failed this ign?

--

Go to Step 4

Go to Diagnostic Aids

4

Disconnect HO2S 2 and jumper the HO2S low circuit to ground.

Does scan tool indicate HO2S 2 voltage near the specified value?

450 mV

Refer to Diagnostic Aids

Go to Step 5

5

  1. Turn the ignition switch to the OFF position.
  2. Disconnect PCM connector.
  3. Turn the ignition switch to the ON position.
  4. Using a J 39200 Digital Multimeter, measure voltage between the HO2S 2 sensor signal at PCM harness connector and ground.

Does the digital multimeter indicate a voltage greater than specified value?

999 mV

Go to Step 6

Go to Step 7

6

Repair short to voltage in the HO2S 2 signal circuit. Refer to Repair Procedures in Heated Oxygen Sensor Wiring Repairs .

Is action complete?

--

Go to Step 8

--

7

Replace the PCM.

Important:: The replacement PCM must be programmed. Refer to Powertrain Control Module Replacement/Programming .

Is action complete?

--

Go to Step 8

--

8

  1. Turn ON the ignition switch, review and record scan tool Fail Records data.
  2. Clear DTCs.
  3. Operate the vehicle within Fail Records conditions as noted.
  4. Using a scan tool, monitor Specific DTC info for DTC P0138 until the DTC P0138 test runs.

Does the scan tool indicate DTC P0138 failed this ignition cycle?

--

Go to Step 2

System OK