GM Service Manual Online
For 1990-2009 cars only
Makes
🢒
Oldsmobile
🢒
1999
🢒
Intrigue
🢒
Body and Accessories
🢒
Instrument Panel, Gauges, and Console
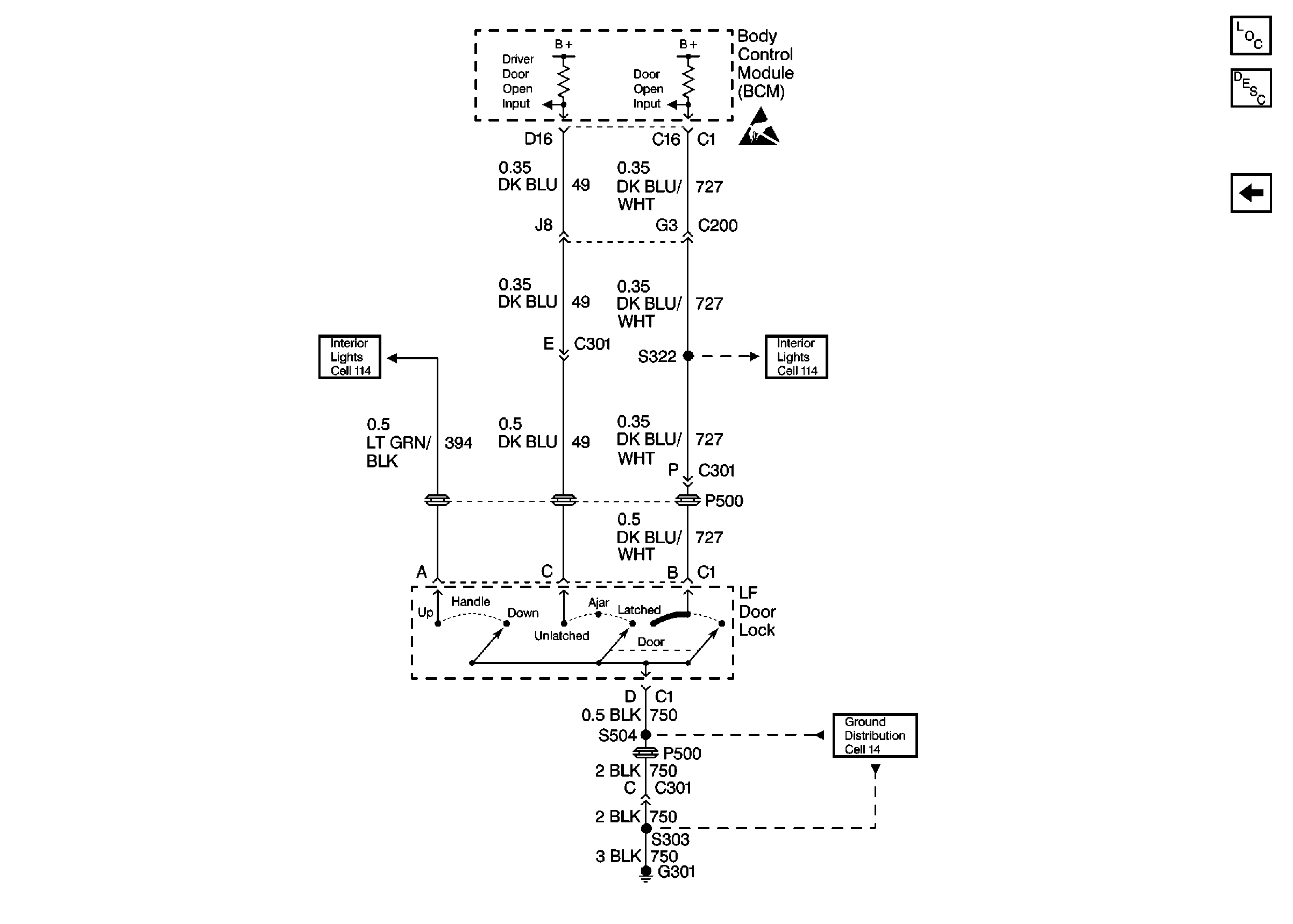
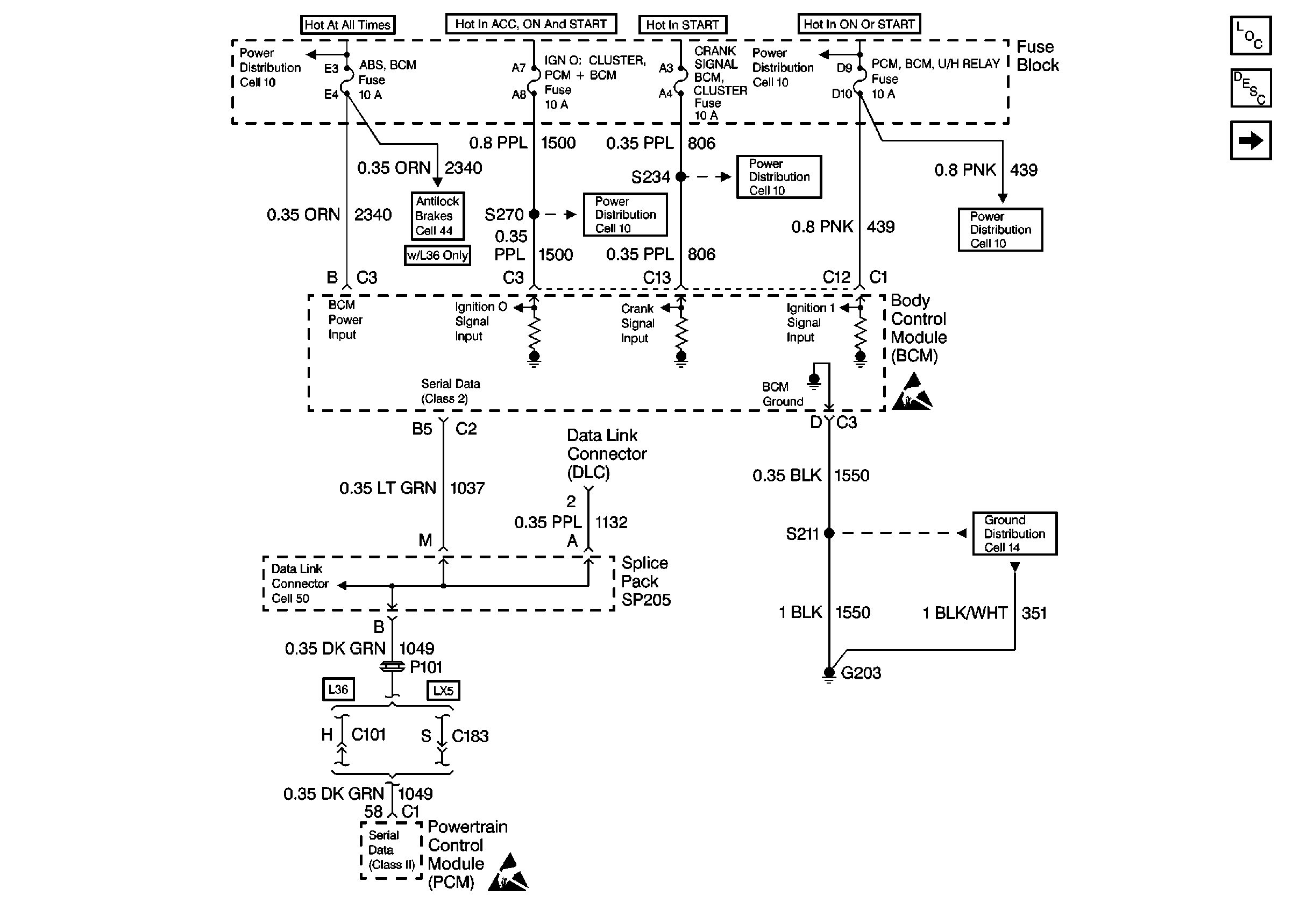
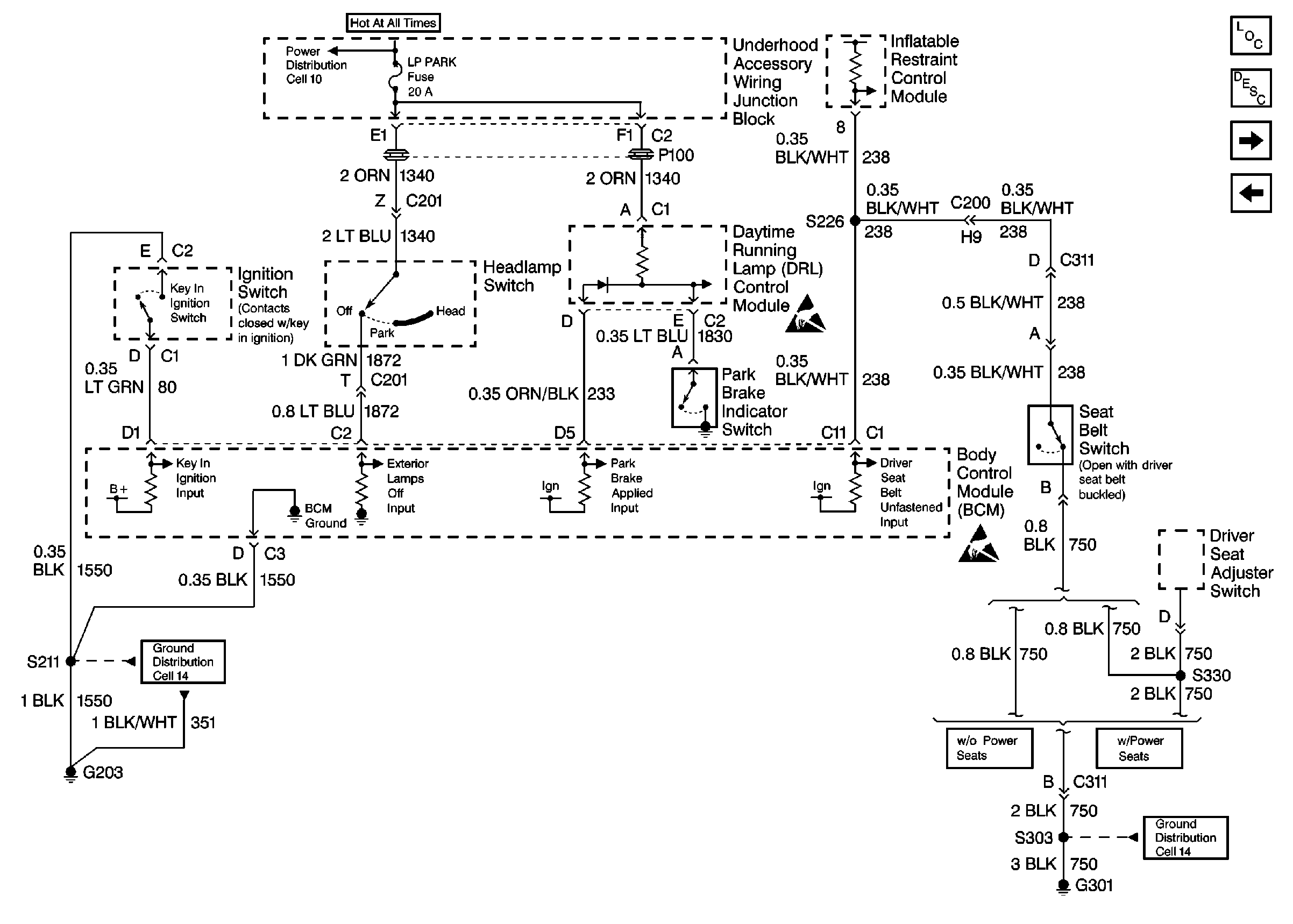
🢒 Audible Warnings Schematics
Figure
1:
Cell 76: Power and Ground Distribution, and Serial Data
Figure
2:
Cell 76: Ignition Switch, Headlamp Switch, DRL Module, Park Brake Indicator Switch and Seat Belt Switch
Figure
3:
Cell 76: LF Door Lock Switch Inputs