GM Service Manual Online
For 1990-2009 cars only
Makes
🢒
Oldsmobile
🢒
1999
🢒
Intrigue
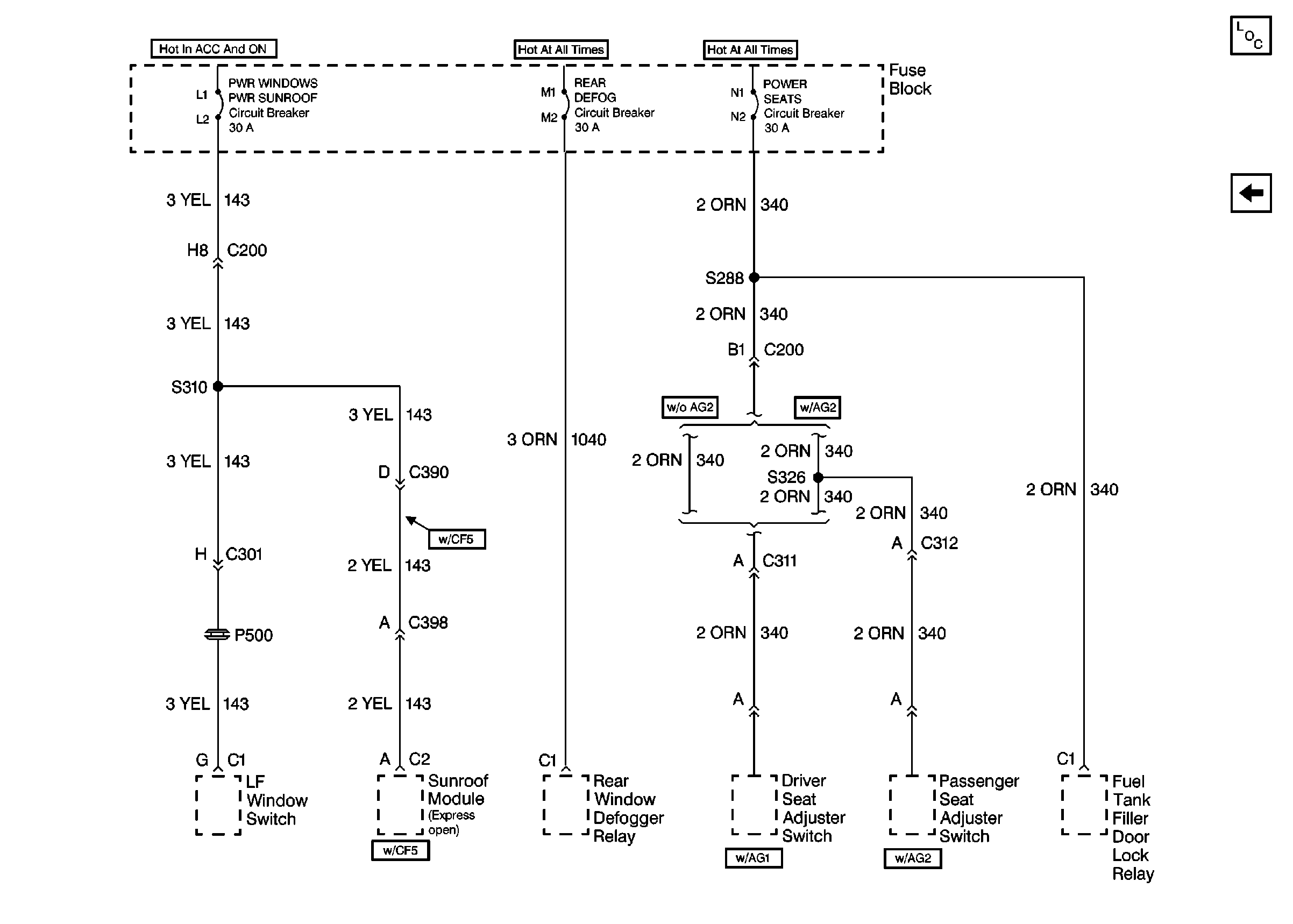
🢒 Cell 10: POWER SEATS, PWR WINDOWS PWR SUNROOF, and REAR DEFOG CIRcUIT Breakers
Cell 10: POWER SEATS, PWR WINDOWS PWR SUNROOF, and REAR DEFOG CIRcUIT Breakers
Cell 10: POWER SEATS, PWR WINDOWS PWR SUNROOF, and REAR DEFOG Circuit Breakers
Power and Grounding Components
Cell 10: POWER DROP, RADIO CRUISE, RED STRG WHL ILLUM, and WIPER Fuses