GM Service Manual Online
For 1990-2009 cars only

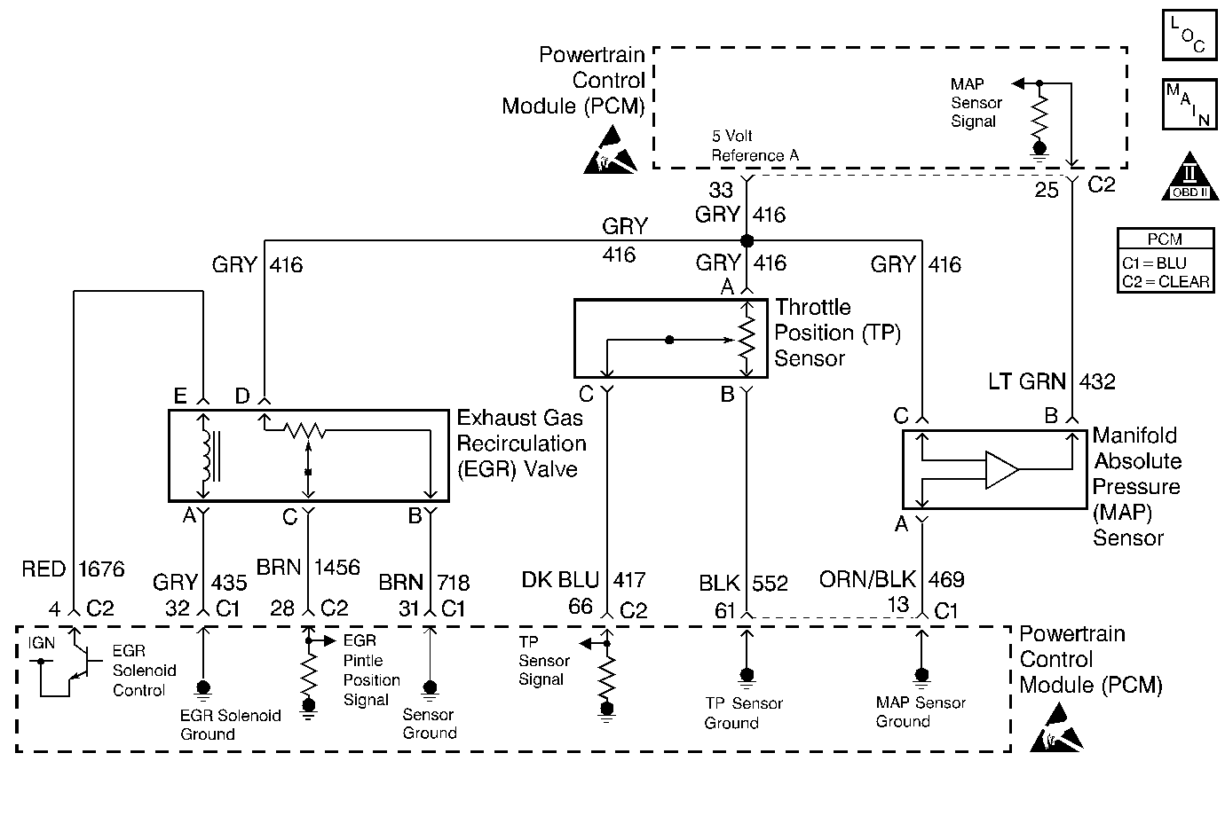
Object Number: 293709  Size: MF
A/C Refrigerant Pressure Sensor, TP Sensor, Map Sensor, ECT Sensor, IAT sensor
Engine Controls Components
OBD II Symbol Description Notice
ESD Notice

Circuit Description

The throttle position (TP) sensor is a potentiometer. The TP sensor is mounted on the side of the throttle body. The TP sensor provides a voltage signal that changes relative to throttle blade angle. This signal voltage is one of the most important inputs used by the powertrain control module (PCM). The TP sensor has a 5.0 volt reference, a ground, and a signal circuit. The signal voltage varies from below 1 volt at closed throttle to about 4 volts at wide open throttle (WOT).

Conditions for Running the DTC

Engine running..

Conditions for Setting the DTC

    • TP sensor signal voltage is less than 0.1 volt.
    • Above conditions are present for longer than 1 second.

Action Taken When the DTC Sets

    • The PCM illuminates the malfunction indicator lamp (MIL) on the second consecutive ignition cycle that the diagnostic runs and fails.
    • The PCM records the operating conditions at the time the diagnostic fails. The first time the diagnostic fails, the PCM stores this information in the Failure Records. If the diagnostic reports a failure on the second consecutive ignition cycle, the PCM records the operating conditions at the time of the failure. The PCM writes the conditions to the Freeze Frame and updates the Failure Records.

Conditions for Clearing the MIL/DTC

    • The PCM turns the MIL Off after three consecutive drive trips that the diagnostic runs and does not fail.
    • A last test failed (current DTC) clears when the diagnostic runs and does not fail.
    • A History DTC clears after forty consecutive warm-up cycles, if this or any other emission related diagnostic does not report any failures.
    • Use a scan tool in order to clear the MIL/DTC.
    • Interrupting the PCM battery voltage may or may not clear DTCs. This practice is not recommended. Refer to Powertrain Control Module (PCM) Description , Clearing Diagnostic Trouble Codes.

Diagnostic Aids

Notice: Use the connector test adapter kit J 35616-A for any test that requires probing the following items:

   • The PCM harness connectors
   • The electrical center fuse/relay cavities
   • The component terminals
   • The component harness connector
Using this kit will prevent damage caused by the improper probing of connector terminals.

Check for a malfunctioning TP sensor: With the key ON, engine not running, observe the TP sensor display on the scan tool while slowly depressing the accelerator to wide open throttle. If a voltage under 0.16 volts is seen at any point in normal accelerator travel, replace the TP sensor.

If DTC P0122 cannot be duplicated, the information included in the Fail Records data can be useful in determining vehicle mileage since the DTC was last set.

If the problem is intermittent, refer to Intermittent Conditions .

Test Description

Number(s) below refer to the step number(s) on the Diagnostic Table:

  1. This vehicle is equipped with a PCM which utilizes an Electrically Erasable Programmable Read Only Memory (EEPROM). When the PCM is being replaced, the new PCM must be programmed. Refer to PCM Replacement and Programming Procedures in Powertrain Control Module (PCM) and Sensors.

DTC P0122 - TP Sensor Circuit Low Voltage

Step

Action

Value(s)

Yes

No

1

Did you perform the Powertrain On-Board Diagnostic (OBD) System Check?

--

Go to Step 2

Go to Powertrain On Board Diagnostic (OBD) System Check

2

With the throttle closed, observe the TP Sensor display on the scan tool.

Is TP Sensor display less than the specified value?

0.16V

Go to Step 4

Go to Step 3

3

  1. Turn the key to Off, wait 15 seconds, then turn he key to On.
  2. Review and record Failure Records data.
  3. Operate the vehicle within Failure Records conditions as noted.
  4. Using a scan tool, monitor Specific DTC info for DTC P0122.

Does the scan tool indicate DTC P0122 failed?

--

Go to Step 4

Refer to Diagnostic Aids.

4

  1. Disconnect the TP sensor electrical connector.
  2. Jumper the 5 volt reference A circuit and the TP signal together at the TP sensor harness connector.
  3. Observe the TP Sensor display on the scan tool.

Is TP Sensor near the specified value?

5V

Go to Step 11

Go to Step 5

5

  1. Connect test light J 35616-200 between B+ and the TP sensor signal circuit at the TP sensor harness connector
  2. Observe the TP Sensor display on the scan tool.

Is TP Sensor near the specified value?

5V

Go to Step 6

Go to Step 8

6

  1. Turn the key to Off.
  2. Disconnect the PCM.
  3. Check the 5 volt reference A circuit for an open or short to ground.
  4. If the 5 volt reference A circuit is open or shorted to ground, repair it as necessary.

Was a problem found and corrected?

--

Go to Step 14

Go to Step 7

7

  1. Check the 5 volt reference A circuit for a poor connection at the PCM.
  2. If a problem is found repair as necessary. Refer to Intermittents and Poor Connections Diagnosis .

Was a problem found and corrected?

--

Go to Step 14

Go to Step 13

8

  1. Turn the key to Off.
  2. Disconnect the PCM.
  3. Check the 5 volt reference A circuit for a short to ground or for a short to the sensor ground circuit.
  4. If a problem is found, repair as necessary.

Was a problem found and corrected?

--

Go to Step 14

Go to Step 9

9

  1. Turn the key to Off.
  2. Disconnect the PCM.
  3. Check the TP signal circuit for an open, short to ground, or short to the sensor ground circuit.
  4. If the TP sensor signal circuit is open or shorted to ground, repair it as necessary.

Was a problem found and corrected?

--

Go to Step 14

Go to Step 10

10

  1. Check the TP sensor signal circuit for a poor connection at the PCM
  2. If a problem is found, repair as necessary. Refer to Intermittents and Poor Connections Diagnosis .

Was a problem found and corrected?

--

Go to Step 14

Go to Step 13

11

  1. Check the TP sensor signal circuit for a poor connection at the TP sensor.
  2. If a problem is found, repair as necessary. Refer to Intermittents and Poor Connections Diagnosis .

Was a problem found and corrected?

--

Go to Step 14

Go to Step 12

12

Replace the TP sensor. Refer to Throttle Position Sensor Replacement .

Is the action complete?

--

Go to Step 14

--

13

Replace the PCM.

Important: The replacement PCM must be programmed. Refer to Powertrain Control Module Replacement/Programming

Is action complete?

--

Go to Step 14

--

14

  1. Clear DTCs with the scan tool.
  2. Turn the key to Off and wait 15 seconds
  3. Operate vehicle within the conditions that are required for this diagnostic to run. Refer to Conditions for Running the DTC.

Does the scan tool indicate that this test ran and passed?

--

Go to Step 15

Go to Step 2

15

Review Captured Info using the scan tool.

Are there any DTCs that have not been diagnosed?

--

Go to the applicable DTC table

System OK