GM Service Manual Online
For 1990-2009 cars only
Makes
🢒
Oldsmobile
🢒
2000
🢒
Intrigue
🢒
Engine
🢒
Engine Controls - 3.5L
🢒 Emission Hose Routing Diagram
Emission Hose Routing Diagram WithoutSecondary Air Injection (AIR
Figure
1:
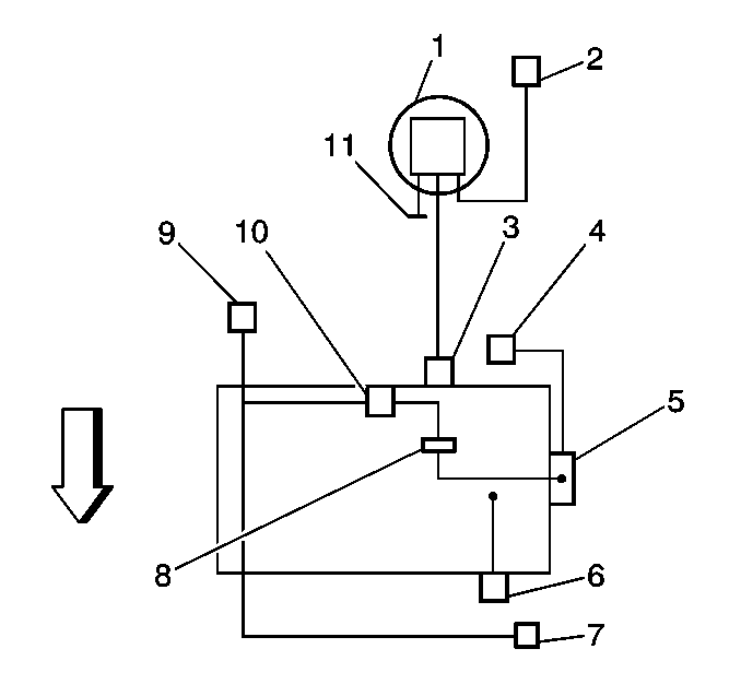
With Secondary Air Injection (AIR)
(1)
EVAP Canister
(2)
EVAP Vent Solenoid
(3)
EVAP Purge Solenoid
(4)
Fuel Pressure Regulator
(5)
Throttle Body
(6)
PCV Valve
(7)
AIR Control Valve Bank 2
(8)
AIR Vacuum Check Valve
(9)
AIR Control Valve Bank 1
(10)
AIR Solenoid
(11)
To Fuel Tank
Figure
2:
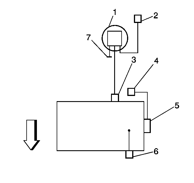
Emission Hose Routing Diagram Without Secondary Air Injection (AIR)
(1)
EVAP Canister
(2)
EVAP Vent Solenoid
(3)
EVAP Purge Solenoid
(4)
Fuel Pressure Regulator
(5)
Throttle Body
(6)
PCV Valve
(7)
To Fuel Tank
Emission Hose Routing Diagram With Secondary Air Injection (AIR)
With Secondary Air Injection (AIR)
(1)
EVAP Canister
(2)
EVAP Vent Solenoid
(3)
EVAP Purge Solenoid
(4)
Fuel Pressure Regulator
(5)
Throttle Body
(6)
PCV Valve
(7)
AIR Control Valve Bank 2
(8)
AIR Vacuum Check Valve
(9)
AIR Control Valve Bank 1
(10)
AIR Solenoid
(11)
To Fuel Tank