GM Service Manual Online
For 1990-2009 cars only

Removal Procedure


    Object Number: 295142  Size: SH
  1. Remove the air cleaner intake duct. Refer to Air Cleaner Inlet Duct Replacement .
  2. Remove the cruise control cable (1) from the bracket (3). Refer to Cruise Control Cable Replacement in Cruise Control.
  3. Remove the accelerator controls cable (2) from the bracket (3).

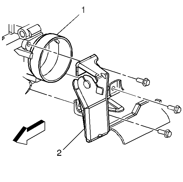
  4. Object Number: 295156  Size: SH
  5. (Graphic Shown Similar)
  6. Remove the nuts and bolt from the accelerator controls cable bracket (2).

Installation Procedure


    Object Number: 295156  Size: SH
  1. (Graphic Shown Similar)
  2. Notice: Use the correct fastener in the correct location. Replacement fasteners must be the correct part number for that application. Fasteners requiring replacement or fasteners requiring the use of thread locking compound or sealant are identified in the service procedure. Do not use paints, lubricants, or corrosion inhibitors on fasteners or fastener joint surfaces unless specified. These coatings affect fastener torque and joint clamping force and may damage the fastener. Use the correct tightening sequence and specifications when installing fasteners in order to avoid damage to parts and systems.

  3. Install the accelerator controls cable bracket.
  4. Tighten

        • Tighten the bolts to 13 N·m (115 lb in).
        • Tighten the nuts to 10 N·m (88 lb in).

    Object Number: 295142  Size: SH
  5. Install the accelerator controls cable (2) to the bracket (3).
  6. Install the cruise control cable (1) to the bracket (3). Refer to Cruise Control Cable Replacement in Cruise Control.
  7. Install the air cleaner intake duct. Refer to Air Cleaner Inlet Duct Replacement .