GM Service Manual Online
For 1990-2009 cars only
Makes
🢒
Oldsmobile
🢒
2000
🢒
Intrigue
🢒
Brakes
🢒
Hydraulic Brakes
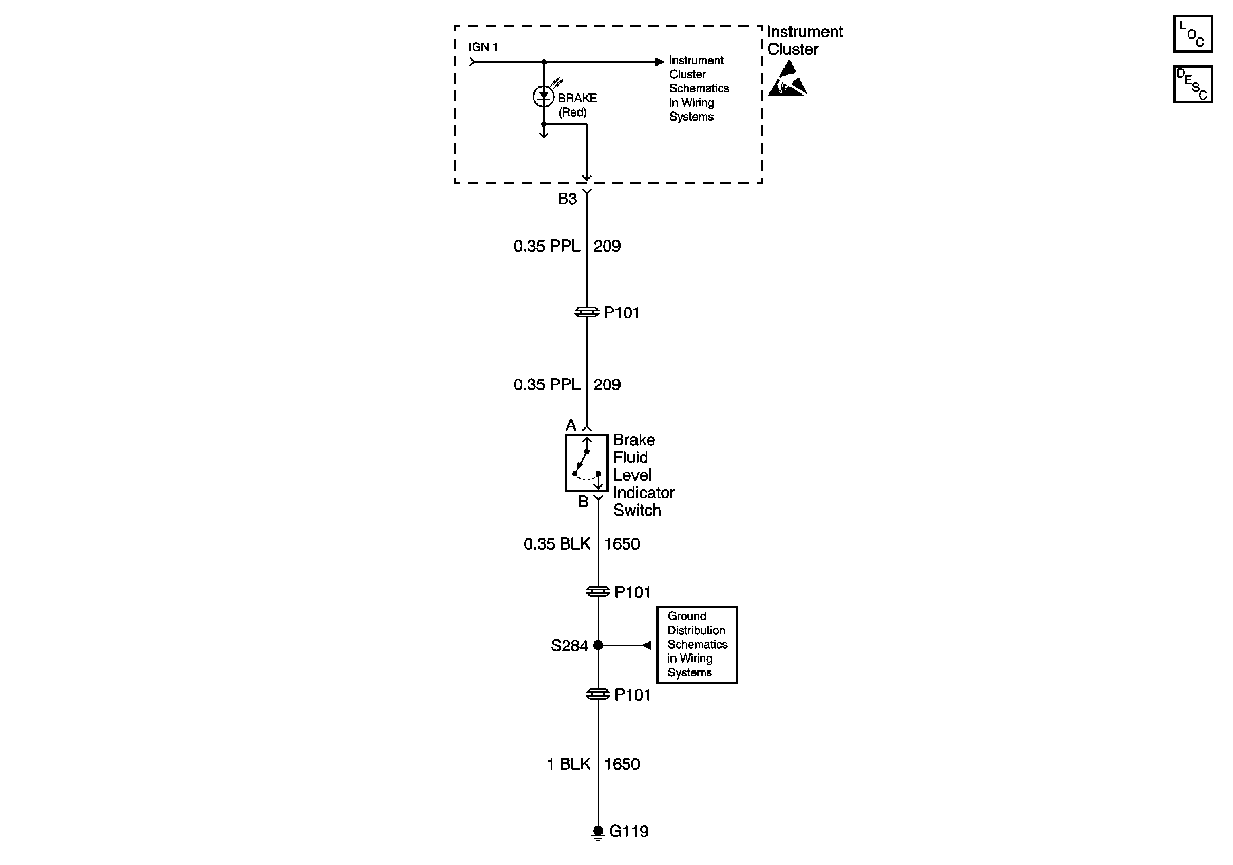
🢒 Brake Warning System Schematics
Hydraulic Brakes Components
Brake Warning System Circuit Description