GM Service Manual Online
For 1990-2009 cars only

Removal Procedure


    Object Number: 177182  Size: SH
  1. Remove the rear caliper bracket. Refer to Rear Brake Caliper Bracket Replacement in Disc Brakes.
  2. Remove the rear rotor. Refer to Rear Brake Rotor Replacement in Disc Brakes.
  3. Remove the rear wheel hub. Refer to Rear Wheel Bearing and Hub Replacement in Rear Suspension.
  4. Remove the parking brake actuator (5). Refer to Parking Brake Actuator Replacement .

  5. Object Number: 177182  Size: SH
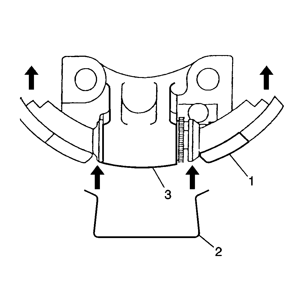
  6. Remove the rear park brake shoe (2).

Installation Procedure


    Object Number: 177198  Size: SH

    Important: Ensure that the shoe (1) engages the park brake actuator. Shipping clip (2) should slip off when installing shoe.

  1. Install the rear park brake shoe.

  2. Object Number: 177199  Size: SH
  3. Install the parking brake actuator. Refer to Parking Brake Actuator Replacement .

  4. Object Number: 177194  Size: SH
  5. Install the rear wheel hub. Refer to Rear Wheel Bearing and Hub Replacement in Rear Suspension.
  6. Adjust the rear parking brake shoe. Refer to Park Brake Cable Service/Adjustment .
  7. Install the rear rotor. Refer to Rear Brake Rotor Replacement in Disc Brakes.
  8. Install the rear caliper bracket. Refer to Rear Brake Caliper Bracket Replacement in Disc Brakes.
  9. Adjust the park brake shoe. Refer to Parking Brake Shoe Adjustment .