GM Service Manual Online
For 1990-2009 cars only

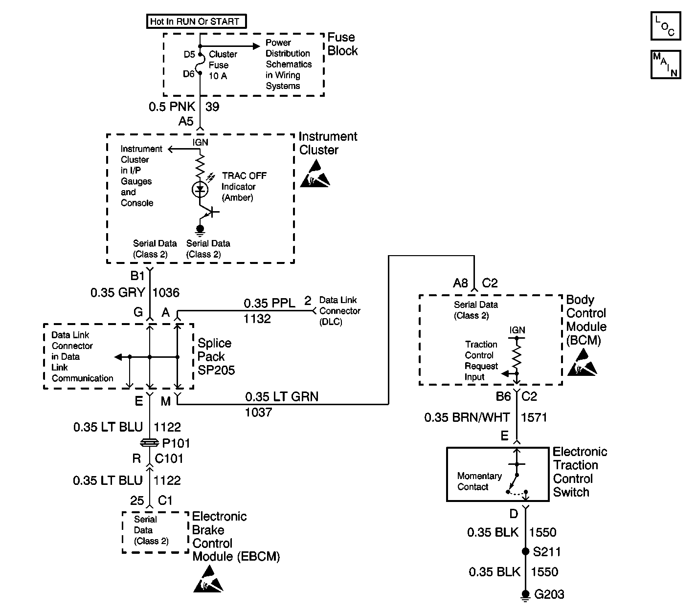
Object Number: 594864  Size: LF
ABS Components
Instrument Cluster Indicators, Traction Control System, and Serial Data

Circuit Description

The TRAC OFF indicator is controlled by the EBCM by sending class 2 messages to the instrument panel cluster (IPC). It is turned on when the EBCM sets a DTC that turns on the TRAC OFF indicator. It is also turned on or off when the traction control switch is pressed. The body control module (BCM) receives the input from the traction control switch, the BCM then sends a class 2 message to the EBCM telling the EBCM the state of the switch. The BCM supplies 12 volts to the TCS switch, when the TCS switch is pressed the BCM sees the voltage go low and sends the EBCM the message that the TCS switch state has changed. When the EBCM receives the message from the BCM that the switch state has changed, the EBCM turns on or off traction control and sends a message to the IPC to turn on or off the TRAC OFF indicator depending on its previous state.

Test Description

The numbers below refer to step numbers on the diagnostic table.

  1. Checks if the instrument panel cluster has the ability to turn the TRAC OFF indicator off or if the EBTCM is sending an incorrect command to turn the TRAC OFF indicator on.

Traction Off Indicator On with No DTC Set

Step

Action

Value(s)

Yes

No

DEFINITION: The TRAC OFF indicator does not turn off after the instrument panel cluster (IPC) bulb check or after the traction control switch is pressed to turn the traction control on after it was disabled.

1

Was the ABS Diagnostic System Check performed?

--

Go to Step 2

Go to Diagnostic System Check - ABS

2

Using a scan tool in the Instrument Panel Cluster Special Functions attempt to turn off the TRAC OFF indicator.

Did the TRAC Off indicator Turn off?

--

Go to Step 3

Go to Step 4

3

Replace the EBCM. Refer to Electronic Brake and Traction Control Module Replacement .

Is the Replacement complete?

--

Go to Diagnostic System Check - ABS

--

4

Replace the instrument panel cluster. Refer to Instrument Cluster Replacement in Instrument Panel, Gauges and Console.

Is the replacement complete?

--

Go to Diagnostic System Check - ABS

--