GM Service Manual Online
For 1990-2009 cars only
Figure 1:

Transmission Major Components


Object Number: 53813  Size: LF
(1)Oil Pump Assembly
(2)Case Cover Assembly
(3)Control Valve Body Assembly
(4)Drive Sprocket
(5)Torque Converter Assembly
(6)Reverse Band Assembly
(7)Third Clutch Sprag Assembly
(8)Input Clutch Sprag Assembly
(9)Input Carrier Assembly
(10)2-1 Manual Band Assembly
(11)Reaction Carrier Assembly
(12)1/2 Support Roller Clutch Assembly
(13)Vehicle Speed Sensor Assembly
(14)Final Drive/Differential Carrier Assembly
(15)Forward Band Assembly
(16)2-1 Manual Band Servo Assembly
(17)Input Clutch Assembly
(18)Third Clutch Assembly
(19)Second Clutch Assembly
(20)Oil Filter Assembly
(21)Driven Sprocket Support Assembly
(22)Driven Sprocket
(23)Drive Link Assembly
(24)Fourth Clutch Assembly
(25)Output Shaft
Figure 2:

Case and Associated Parts (1 of 4)


Object Number: 330234  Size: LF
(3)Transmission Case Assembly
(53)Case Side Cover
(54)Case Side Cover Gasket
(56)Case Side Cover Bolt M 8 X 1.25 X 25 (9)
(57)Side Cover TORX® Head Bolt M 8 X 1.25 X 21 (4)
(58)Side Cover to Case Stud M 8 X 1.25 X 24 (4)
(59)Side Cover to Case Cover Seal
(200)Oil Pump Assembly
(205)Pump Cover to Pump Body Bolt M 6 X 1.0 X 20.0 (1)
(206)Pump Body to Case Bolt M6 X 1.0 X 95.0 (2)
(207)Pump Cover to Case Cover Bolt M 6 X 1.0 X 85.0 (9)
(224)Wiring Harness Assembly
(225)Wiring Harness Assembly (IMS) (Some Models)
(226)Wiring Harness Clip
(300)Control Valve Body Assembly
(368)Spacer Plate and Gaskets/Control Valve Body Bolt
(368)Spacer Plate and Gaskets/Control Valve Body Bolt
(369)Case Cover/Spacer Plate Gasket
(370)Control Valve Body Spacer Plate Assembly
(371)Control Valve Body to Spacer Plate Gasket
(372)1/4 Ball Check Valve
(372)5/16 Ball Check Valve
(373)Ball Check Valve
(373)Ball Check Valve
(374)Control Valve Body Bolt M 6 X 1.0 X 65.0 (3)
(375)Control Valve Body to Case Bolt M 6 X 1.0 X 60.0 (3)
(376)Control Valve Body to Case Bolt M 6 X 1.0 X 30.0 (1)
(377)Control Valve Body to Case Cover Bolt M 6 X 1.0 X 45.0 (2)
(378)Control Valve Body to Case Cover Bolt M 6 X 1.0 X 55.0 (3)
(379)Control Valve Body to Case Bolt M 6 X 1.0 X 95.0 (1)
(380)Control Valve Body to Case Bolt M 8 X 1.25 X 90.0 (1)
(381)Control Valve Body to Case Bolt M 6 X 1 X 20.0 (1)
(382)TCC Solenoid Valve Screen/Seal Assembly
(382)TCC Solenoid Valve Screen/Seal Assembly
(384)Control Valve Body to Case Bolt M 6 X 1.0 X 85.0 (1)
(390)Temperature Sensor Clip
(391)Transmission Fluid Temperature Sensor
(391)Transmission Fluid Temperature Sensor
(395)Transmission Fluid Pressure (TFP) Manual Valve Position Switch Assembly
Figure 3:

Case and Associated Parts (2 of 4)


Object Number: 507957  Size: LF
(1)Torque Converter Assembly
(2)Torque Converter Bushing
(3)Transmission Case
(4)Right Axle Oil Seal Assembly
(5)Case Extension Bolt M 10 X 1.5 X 35.0
(6)Case Extension Assembly
(7a)Front Differential Carrier Bushing
(7b)Output Shaft Bearing Assembly
(8)Case Extension Seal
(9)Vehicle Speed Sensor Bolt M 8 X 1.25 X 12.0
(10)Vehicle Speed Sensor Assembly
(11)Vehicle Speed Sensor O-Ring Seal
(12)FWD Servo Cover Bolt M 6 X 1.0 X 20.0
(13)Forward Band Servo Cover
(14)Forward Band Servo Cover Seal
(15)Forward Band Servo Pin Retaining Ring
(16)Forward Band Servo Piston
(18)Forward Band Servo Piston Oil Seal Ring
(19)Forward Band Servo Piston Cushion Spring
(20)Forward Servo Cushion Spring Retainer
(21)Forward Band Servo Piston Apply Pin
(22)Forward Band Servo Piston Return Spring
(23)Transmission Oil Pan Bolt M 6 X 1.0 X 17.0
(24)Transmission Oil Pan
(25) Transmission Oil Pan Gasket
(26)Transmission Oil Pan Magnet
(27)Oil Dam
(37)Transmission Vent Assembly
(38)Oil Pressure Test Hole Plug  1/8 -- 27 NPTF
(39)Reverse Band Servo Cover Retaining Ring
(40)Reverse Band Servo Cover
(41)Reverse Band Servo Cover O-Ring Seal
(42)Reverse Band Servo Pin Retaining Ring
(43)Reverse Band Servo Piston Oil Seal Ring
(44)Reverse Band Servo Piston
(45)Reverse Band Servo Piston Cushion Spring
(46)Reverse Band Servo Piston Cushion Spring Retainer
(47)Reverse Band Servo Piston Cushion Spring Inner
(48)Reverse Band Servo Piston Apply Pin
(49)Reverse Band Servo Piston Return Spring
(60)Clip, Oil Cooler Quick Connect
(60)Clip, Oil Cooler Quick Connect
(61)Transmission Oil Cooler Pipe Fitting (3/8-18 NPSF with Checkball)
(62)Transmission Oil Cooler Pipe Fitting (1/4-18 NPSF)
(100)Transmission Oil Filter Assembly
(101)Transmission Oil Filter Seal Assembly
(227)Oil Pump Drive Shaft Assembly
(228)Oil Pump Drive Shaft Seal
(372)Case Cover Ball Check Valve
(372)Case Cover Ball Check Valve
(400)Complete Case Cover Assembly
Figure 4:

Case and Associated Parts (3 of 4)


Object Number: 622448  Size: LF
(3)Transmission Case
(400)Complete Case Cover Assembly
(432)4th Clutch Shaft Thrust Washer
(433)Case Cover Bolt/Screw TORX® Special M6 X 1.0 X 32.0
(434)Case Cover Bolt/Screw M6 X 1.0 X 40.0
(435)Case Cover Bolt/Screw M8 X 1.25 X 50.0
(436)Case Cover Bolt/Screw M6 X 1.0 X 30.0
(501)4th Clutch Fiber Plate Assembly
(501)4th Clutch Fiber Plate Assembly
(502)4th Clutch Steel Plate
(502)4th Clutch Steel Plate
(504)4th Clutch Shaft Assembly
(505)4th Clutch Shaft Thrust Washer
(506)Driven Sprocket
(507)Drive Link Assembly
(508)Driven Sprocket Thrust Washer
(509)Drive Shaft Retaining Ring
(510a)Output Shaft Standard
(510b)Output Shaft Heavy Duty
(513)Turbine Shaft Oil Seal Ring
(514)Drive Sprocket Thrust Washer
(515)Drive Sprocket Retaining Ring
(516)Drive Sprocket
(517)Drive Sprocket Thrust Washer
(518)Turbine Shaft
(519)Turbine Shaft Oil Seal Ring
(520)Turbine Shaft O-Ring Seal
(521)Drive Sprocket Bearing Assembly
(522)Drive Sprocket Support
(523)Drive Sprocket Support Bushing
(524)Drive Sprocket Support Bolt/Screw M8 X 1.25 X 24.0
(525)Torque Converter Oil Seal Assembly
(526)Case Cover Pin
(526)Case Cover Pin
(527)Vehicle Speed Sensor Reluctor Wheel Assembly
(528)4th Clutch Apply Plate
Figure 5:

Case and Associated Parts (4 of 4)


Object Number: 49405  Size: LF
(3)Transmission Case Assembly
(103)2-1 Manual Band Servo Cover Bolt/Screw M8 X 1.25 X 25.0 (3)
(104)2-1 Manual Band Servo Cover
(105)2-1 Manual Band Servo Cover Seal
(106)2-1 Manual Band Servo Piston Pin Retaining Ring
(107)2-1 Manual Band Servo Piston Seal
(108)2-1 Manual Band Servo Piston
(109)2-1 Manual Band Servo Piston Cushion Spring
(110)2-1 Manual Band Servo Piston Spring Retainer
(111)2-1 Manual Band Servo Piston Pin
(112)2-1 Manual Band Servo Piston Spring
(113)2-1 Manual Band Servo Piston Cylinder O-Ring Seal
(114)2-1 Manual Band Servo Piston Cylinder
(115)2-1 Manual Band Servo Exhaust Screen Assembly
(117a)Forward Band Anchor Pin
(117b)Reverse Band Anchor Pin
(120)Thermo Element Plate Pin
(121)Thermo Element
(122)Thermo Element Plate
(123)Thermo Element Plate Center Pin
(124)Forward Band Servo Oil Pipe
(125)2-1 Manual Band Servo Oil Pipe
(126)Lube Oil Pipe
(127)Lube Oil Hose Clamp
(127)Lube Oil Hose Clamp
(128)Lube Oil Hose
(129)Lube Oil Pipe Retainer
(130)Lube Oil Pipe and Washer Assembly
(131)Accumulator Cover Bolt/Screw M6 X 1.0 X 28.0 (11)
(132)Accumulator Cover
(134)Accumulator Cover Spacer Plate Assembly
(135a)1-2 Accumulator Piston Pin
(135b)2-3 Accumulator Piston Pin
(136a)1-2 Accumulator Piston
(136b)2-3 Accumulator Piston
(137a)1-2 Accumulator Piston Oil Seal Ring
(137b)2-3 Accumulator Piston Oil Seal Ring
(138)2-3 Accumulator Piston Outer Spring
(139)1-2 Accumulator Piston Cushion Spring
(140)1-2 and 2-3 Accumulator Housing
(142)1-2 Accumulator Piston Outer Spring
(143)2-3 Accumulator Piston Cushion Spring
Figure 6:

Oil Pump Assembly


Object Number: 51116  Size: LF
(201)Pump Cover
(202)Oil Pump Body
(205)Oil Pump Cover Bolt/Screw M6 X 1.0 X 20.0 (1)
(209)Oil Pump Vane Ring
(209)Oil Pump Vane Ring
(210)Oil Pump Selective Rotor
(211)Oil Pump Selective Vane
(212)Oil Pump Slide Oil Seal Ring
(213)Oil Pump Slide O-Ring Seal
(214)Oil Pump Selective Slide
(215)Oil Pump Slide Pivot Pin
(219)Oil Pump Outlet Screen Assembly
(220)Oil Pump Slide Seal
(221)Oil Pump Slide Seal Support
(222)Oil Pump Prime Outer Spring
(223)Oil Pump Prime Inner Spring
Figure 7:

Control Valve Body Assembly (1 of 2)


Object Number: 51107  Size: MF
(301)Control Valve Body Machined
(302)Line Boost Valve and Bushing Retainer
(303)Line Boost Valve Bore Plug
(304)Line Boost Valve
(305)TCC PWM Solenoid Valve O-Ring Seal
(306)TCC PWM Solenoid Valve O-Ring Seal
(307)Pressure Control Solenoid Valve O-Ring Seal
(309)Reverse Boost Valve Bushing
(310)Reverse Boost Valve
(311)Pressure Regulator Valve Spring Outer
(312)Pressure Regulator Valve Inner Spring
(313)Pressure Regulator Valve
(314d)1-2, 3-4 Shift Solenoid Valve Retainer
(314e)Pressure Control Solenoid Valve Retainer
(314f)TCC PWM Solenoid Valve Retainer
(314g)TCC Regulator Apply Valve Bore Plug Retainer
(315a)1-2, 3-4 Shift Solenoid Valve Assembly
(316a)1-2, 3-4 Shift Solenoid Valve O-Ring Seal
(316b)Pressure Control Solenoid Valve O-Ring Seal
(317)1-2 Shift Valve Spring
(318)1-2 Shift Valve
(320)Torque Signal Regulator Valve Spring
(321)Torque Signal Regulator Valve
(322)Pressure Control Solenoid Valve Assembly
(323)Line Pressure Relief Valve Spring
(324)Line Pressure Relief Valve
(325)Line Pressure Relief Valve Spring Retainer
(326)TCC Regulator Apply Valve Spring
(327)TCC Regulator Apply Valve
(328)TCC Regulator Apply Valve Bore Plug O-Ring Seal
(329)TCC Regulator Apply Valve Bore Plug
(334)TCC PWM Solenoid Valve Assembly
(335)TCC Control Valve
(336)TCC Control Valve Spring
Figure 8:

Control Valve Body Assembly (2 of 2)


Object Number: 51113  Size: MF
(301)Control Valve Body (Machined)
(314a)1-2 Accumulator Valve Retainer
(314b)4-3 Manual Downshift Valve Retainer
(314c)2-3 Shift Solenoid Valve Retainer
(315b)2-3 Shift Solenoid Valve Assembly
(316)O-Ring Seal
(339)1-2 Accumulator Valve Bore Plug
(340)3-4 Accumulator Valve Spring
(341)3-4 Accumulator Valve
(342)2-3 Accumulator Valve Bore Plug Retainer
(343)2-3 Accumulator Valve Bore Plug
(344)2-3 Accumulator Valve
(345)2-3 Accumulator Valve Bushing
(346)2-3 Accumulator Valve Spring
(350)1-2 Accumulator Valve
(351)1-2 Accumulator Valve Spring
(353)3-2 Manual Downshift Valve Retainer
(354)3-2 Manual Downshift Valve Bore Plug
(355)3-2 Manual Downshift Valve Spring
(356)3-2 Manual Downshift Valve
(357)2-3 Shift Valve
(359)4-3 Manual Downshift Valve Bore Plug
(360)4-3 Manual Downshift Valve
(361)4-3 Manual Downshift Valve Spring
(362)3-4 Shift Valve
(363a)Reverse Servo Boost Valve Bore Pin
(363b)Forward Servo Boost Valve Bore Pin
(366a)Reverse Servo Boost Valve Spring
(366b)Forward Servo Boost Valve Spring
(367a)Reverse Servo Boost Valve
(367b)Forward Servo Boost Valve
(385)2-3 Accumulator Valve Bushing Assembly Retainer
Figure 9:

Case Cover Assembly


Object Number: 49406  Size: LF
(401)Case Cover
(402)Manual Valve Link
(403)Manual Valve Link Retainer
(404)Manual Valve
(405)Low Blow Off Ball Valve Bore Plug
(406)Low Blow Off Ball Valve Spring
(407)Cooler Ball Valve Spring
(409)Left Side Axle Oil Seal Assembly
(410)Control Valve Body Alignment Sleeve
(411)Bore Plug
(411)Bore Plug
(412)Orificed Cup Plug
(414)Actuator Feed Limit Valve
(415)Actuator Feed Limit Valve Spring
(416)Actuator Feed Limit Valve Spring Retainer
(417)Ball Valve Bore Plug
(418)TCC Blow Off Ball Valve Spring
(420a)Low Blow Off Ball Valve
(420b)TCC Blow Off Ball Valve
(420c)Cooler Ball Valve
(421)3-4 Accumulator Piston Cylinder
(422)3-4 Accumulator Piston Cylinder O-Ring Seal
(423)3-4 Accumulator Piston Outer Spring
(424)3-4 Accumulator Piston Inner Spring
(426)3-4 Accumulator Piston Pin
(427)3-4 Accumulator Piston Oil Seal Ring
(428)3-4 Accumulator Piston
(429)Case Cover Lower Gasket
(430)Case Cover Upper Gasket
(431)Front Wheel Drive Shaft Bearing Assembly
(432)Fourth Clutch Shaft Thrust Washer
(440)Input Speed Sensor Assembly
(441)Input Speed Sensor Clip
(514)Drive Sprocket/Case Cover Thrust Washer
(526)Case Cover Dowel Pin
(526)Case Cover Dowel Pin
Figure 10:

Internal Components (1 of 2)


Object Number: 399210  Size: LF
(601)4th Clutch Spring Retaining Ring
(602)4th Clutch Piston Return Spring Assembly
(603)4th Clutch Piston Assembly
(604)4th Clutch Piston Seal (Outer)
(605)4th Clutch Piston Seal (Inner)
(606)Drawn Cup Bearing Assembly
(607)Orificed Cup Plug
(608)Drive Link Lube Scoop
(609)Driven Sprocket Support Assembly
(610)Cup Plug
(611)Thrust Washer (Driven Sprocket Support 2nd Clutch Drum)
(612)Ring Four Lobed Seal
(613)Oil Seal Ring
(614)Driven Sprocket Support Bushing
(615)Reverse Band Assembly
(616)75.5 OD X 8.0 Bushing
(617)2nd Clutch Housing
(618)Check Valve Retainer and Ball Assembly (2nd Clutch)
(619)70.0 OD X 11.0 Bushing
(620)2nd Clutch Piston w/Molded Seal
(621)2nd Clutch Apply Ring and Release Spring Assembly
(622)Retaining Ring
(623)2nd Clutch Plate (Waved)
(624)2nd Clutch Plate Assembly (Fiber)
(625)2nd Clutch Reaction Plate (Steel)
(626)Backing Support Ring Plate (Steel)
(627)2nd Clutch Retaining Ring (Outer)
(628)Oil Seal Ring (Input Shaft)
(629)Thrust Bearing (Support Sprocket/Thrust Washer)
(630)Selective Thrust Washer (Bearing/Input Clutch Hub)
(631)Input Shaft Bushing
(632)Input Housing Sleeve and Shaft Assembly
(633)Check Valve Retainer and Ball Assembly
(634)Input Clutch Piston Seal (Inner)
(635)Input Clutch Piston Seal (Outer)
(636)Input Clutch Piston
(637)Input Clutch Spring and Retainer Assembly
(638)O-Ring Seal
(639)3rd Clutch Piston Housing
(640)Retaining Ring (3rd Clutch Piston Housing/Input Shaft)
(640)Retaining Ring (3rd Clutch Piston Housing/Input Shaft)
(641)3rd Clutch Piston Seal (Inner)
(642)3rd Clutch Piston and Seal Assembly
(643)3rd Clutch Spring Retainer and Guide Assembly
(644)Thrust Bearing Assembly
(645)3rd Clutch Plate (Waved)
(646)3rd Clutch Plate Assembly (OD Spline)
(647)3rd Clutch Plate Assembly (ID Spline)
(648)3rd Clutch Backing Plate
(649)3rd Clutch Backing Plate Retaining Ring
(654)Input Clutch Apply Plate
(655)Input Clutch Plate (Waved)
(656)Input Clutch Plate Assembly (Fiber)
(657)Input Clutch Plate (Steel)
(658)Input Clutch Backing Plate (Steel)
(659)Input Clutch Backing Plate Retaining Ring
(716)2nd Clutch Apply Reaction Plate (Tapered)
(723)4th Clutch Shaft to Input Housing Bearing
(724)3rd Clutch Piston Housing Ball Check Valve Assembly
Figure 11:

Internal Components (2 of 2)


Object Number: 51086  Size: LF
(653)Third Clutch Sprag Outer Race
(661)Input and Third Clutch Sprag Inner Race
(665)Input Clutch Sprag Outer Race
(667)Input Sun Gear Spacer
(668)Input Sun Gear
(669)Reverse Reaction Drum
(671)Input Sun Gear Thrust Bearing Assembly
(672)Input Complete Carrier Assembly
(673)Input Carrier/Reaction Carrier Lube Dam
(674)Input/Reaction Carrier Thrust Bearing Assembly
(675)Reaction Complete Carrier Assembly
(676)Reaction Carrier/Sun Gear Thrust Bearing Assembly
(677)Left Hand Reaction Sun Gear Bushing
(678)Reaction Sun/Drum Gear Assembly
(679)Right Hand Reaction Sun Gear Bushing
(680)2/1 Manual Band Assembly
(683)1/2 Support Roller Clutch Assembly
(685)Thrust Bearing Assembly
(686)1/2 Support Bushing
(687)1/2 Support and Drum
(688)Forward Band Assembly
(689)Final Drive Sun Gear Shaft
(690)Final Drive Internal Gear Bushing
(690)Final Drive Internal Gear Bushing
(691)Thrust Washer 1/2 Support/Internal Gear
(692)Retaining Ring Final Drive Internal Gear
(693)Final Drive Internal Gear
(694)Park Pawl Assembly
(695)Thrust Bearing Assembly Internal Gear/Parking Gear
(696)Parking Gear
(697)Final Drive Sun Gear
(698)Carrier/Sun Gear Thrust Bearing Assembly
(699)Spiral Pinion Gear Pin Retaining Ring
(700) Differential/Final Drive Carrier Assembly
(701)Differential Pinion Shaft
(702)Differential Pinion Shaft Retaining Pin
(703)Thrust Washer Differential Pinion
(703)Thrust Washer Differential Pinion
(704)Differential Pinon Gear
(704)Differential Pinon Gear
(705)Differential Side Gear MN7 has unique left/right gears
(705)Differential Side Gear MN7 has unique left/right gears
(706)Bronze Thrust Washer Differential Side Gear
(706)Bronze Thrust Washer Differential Side Gear
(708)Pinion Thrust Washer Steel
(708)Pinion Thrust Washer Steel
(709)Roller Needle Bearing
(710)Pinion Needle Bearing Spacer
(711)Final Drive Planetary Pinion Gear
(712)Planetary Pinion Gear Pin
(713)Vehicle Speed Sensor Reluctor Wheel
(714)Differential Carrier/Case Washer Thrust
(715)Thrust Bearing Assembly
(717)Spiral Lock Retaining Ring
(718)3rd Clutch Sprag Outer Race Retainer
(719)Input and Third Clutch Sprag End Bearing
(719)Input and Third Clutch Sprag End Bearing
(720)3rd Clutch Sprag Assembly
(721)Input and Third Clutch Sprag Center Bearing
(722)Input Clutch Sprag
Figure 12:

Manual Shaft and Parking System Assembly


Object Number: 330228  Size: MF
(800)Park Pawl Actuator Assembly
(801)Manual Shift Shaft Pin
(802)Manual Shift Detent Lever
(803)Manual Shift Detent Lever Nut
(804)Manual Shift Detent Assembly
(805)Manual Shift Detent Bolt/Screw
(806)Manual Shift Shaft Seal Assembly
(807)Manual Shift Shaft
(808)Park Pawl Actuator Guide Pin
(809)Park Pawl Actuator Guide
(810)Park Pawl Actuator Guide O-Ring Seal
(811)Lever Assembly-Manual Shaft Detent with Internal Mode Switch (IMS) Some Models
Figure 13:

Case Side Cover Bolts


Object Number: 330231  Size: MF
(56)Side Cover Bolt/Screw M8 X 1.25 X 25.0 (9)
(57)Side Cover Bolt/Screw M8 X 1.25 X 21.0 (4)
(58)Side Cover Bolt/Screw M8 X 1.25 X 24.0 (4)
Figure 14:

Oil Pump Bolts


Object Number: 51148  Size: LF
(205)Oil Pump Cover to Oil Pump Body Bolt/Screw M6 X 1.0 X 20.0 (1)
(206)Oil Pump to Case Bolt/Screw M6 X 1.0 X 95.0 (2)
(207)Oil Pump to Case Cover Bolt/Screw M6 X 1.0 X 85.0 (9)
Figure 15:

Control Valve Body Bolts


Object Number: 51149  Size: LF
(374)Control Valve Body Bolt/Screw M6 X 1.0 X 65.0 (3)
(375)Control Valve Body Bolt/Screw M6 X 1.0 X 60.0 (3)
(376)Control Valve Body Bolt/Screw M6 X 1.0 X 30.0 (1)
(377)Control Valve Body Bolt/Screw M6 X 1.0 X 45.0 (2)
(378)Control Valve Body Bolt/Screw M6 X 1.0 X 55.0 (3)
(379)Control Valve Body Bolt/Screw M6 X 1.0 X 95.0 (1)
(380)Control Valve Body Bolt/Screw M8 X 1.0 X 90.0 (1)
(381)Control Valve Body Bolt/Screw M6 X 1.0 X 20.0 (2)
(384)Control Valve Body Bolt/Screw M6 X 1.0 X 85.0 (1)
Figure 16:

Case Cover Bolts


Object Number: 51150  Size: LF
(433)Case Cover Bolt/Screw TORX® Plus Special M6 X 1.0 X 32.0 (1)
(434)Case Cover Bolt/Screw M6 X 1.0 X 40.0 (3)
(435)Case Cover Bolt/Screw M8 X 1.25 X 50.0 (3)
(436)Case Cover Bolt/Screw M6 X 1.0 X 30.0 (3)
(805)Case Cover Bolt/Screw M6 X 1.0 X 16.0 (1)
Figure 17:

Bottom Pan, Accumulator Cover and Manual 2-1 Band Servo Cover Bolts


Object Number: 262443  Size: LF
(23)Transmission Oil Pan Bolt M6 X 1.0 X 17.0 (20)
(103)2-1 Manual Band Servo Cover Bolt/Screw M8 X 1.25 X 25.0 (3)
(131)Accumulator Cover Bolt/Screw M6 X 1.0 X 28.0 (11)
Figure 18:

Thrust Washers


Object Number: 51129  Size: LF
(432)Fourth Clutch Shaft Thrust Washer
(505)Fourth Clutch Shaft Thrust Washer
(508)Driven Sprocket Thrust Washer
(514)Drive Sprocket Thrust Washer
(517)Drive Sprocket Thrust Washer
(611)Second Clutch Housing Thrust Washer
(630)Input Clutch Housing Thrust Washer Selective
(691)Final Drive Gear Internal Thrust Washer
(703)Differential Pinion Thrust Washer
(706)Differential Side Gear Thrust Washer Bronze
(708)Planetary Pinion Gear Thrust Washer Steel
(714)Differential Carrier/Case Thrust Washer
Figure 19:

Bushings


Object Number: 51133  Size: LF
(2)Torque Converter Bushing
(7a)Front Differential Carrier Bushing M15 and MN3 Models Only
(523)Turbine Shaft Bushing
(614)Second Clutch Housing Bushing
(616)Second Clutch Housing Front Bushing
(619)Second Clutch Housing Rear Bushing
(631)Input Shaft Bushing
(677)Reaction Sun Gear Bushing Left Side
(679)Reaction Sun Gear Bushing Right Side
(686)1-2 Support Drum Bushing
(690)Front Differential Carrier Internal Gear Bushing
Figure 20:

Bearings


Object Number: 51142  Size: LF
(7b)Output Shaft Bearing Assembly MN7 Models Only
(208)Oil Pump Drive Shaft Bearing
(431)Front Wheel Drive Shaft Bearing
(521)Drive Sprocket Bearing Assembly
(606)Driven Sprocket Bearing Assembly
(629)Input Clutch Housing Thrust Bearing Assembly
(644)Input Shaft Thrust Bearing Assembly
(671)Input Sun Gear Thrust Bearing Assembly
(674)Reaction Carrier Thrust Bearing Assembly
(676)Reaction Sun Gear Thrust Bearing Assembly
(685)1-2 Drum Support Thrust Bearing
(695)Front Differential Carrier Internal Gear Thrust Bearing
(698)Front Differential Carrier Sun Gear Thrust Bearing
(709)Front Differential Carrier Planetary Pinion Bearing
(715)Front Differential Carrier Thrust Bearing
(723)Input Clutch Housing Thrust Bearing
Figure 21:

Lip Seals


Object Number: 51144  Size: LF
(4)Front Wheel Drive Shaft Oil Seal Assembly Right Side
(18)Forward Band Servo Piston Oil Seal Ring
(43)Reverse Band Servo Piston Oil Seal Ring
(101)Automatic Transmission Oil Filter Seal
(107)Manual 2-1 Band Servo Piston Seal
(409)Front Wheel Drive Shaft Oil Seal Assembly Left Side
(525)Torque Converter Oil Seal Assembly
(604)Fourth Clutch Piston Seal Outer
(605)Fourth Clutch Piston Seal Inner
(620)Second Clutch Piston and Seal Assembly
(620)Second Clutch Piston and Seal Assembly
(634)Input Clutch Piston Seal Inner
(635)Input Clutch Piston Seal Outer
(641)Third Clutch Piston Seal Inner
(642)Third Clutch Piston and Seal Assembly
(642)Third Clutch Piston and Seal Assembly
(806)Manual Shift Shaft Seal
Figure 22:

Square and O-Ring Seals


Object Number: 51146  Size: LF
(8)Automatic Transmission Case Extension Seal
(11)Vehicle Speed Sensor O-Ring Seal
(14)Forward Band Servo Cover Seal
(41)Reverse Band Servo Cover O-Ring Seal
(105)Manual 2-1 Band Servo Cover Seal
(113)Manual 2-1 Band Servo Piston Cylinder O-Ring Seal
(137a)1-2 Accumulator Piston Oil Seal Ring
(137b)2-3 Accumulator Piston Oil Seal Ring
(212)Automatic Transmission Oil Pump Slide Oil Seal Ring
(213)Automatic Transmission Oil Pump Slide O-Ring Seal
(220)Automatic Transmission Oil Pump Slide Seal
(221)Automatic Transmission Oil Pump Slide Seal Support
(228)Automatic Transmission Oil Pump Drive Shaft Seal
(422)3-4 Accumulator Piston Cylinder O-Ring Seal
(427)3-4 Accumulator Piston Oil Seal
(513)Turbine Shaft Oil Seal Ring
(519)Turbine Shaft Oil Seal Ring
(520)Turbine Shaft O-Ring Seal
(612)Second Clutch Housing Oil Seal Ring Four Lobe Seal
(613)Second Clutch Housing Oil Seal Ring
(628)Input Clutch Housing Oil Seal Ring
(638)Third Clutch Housing O-Ring Seal
(810)Park Pawl Actuator Guide O-Ring Seal
Figure 23:

Gaskets


Object Number: 51147  Size: LF
(25)Oil Pan Gasket
(54)Case Side Cover Gasket
(59)Case Side Cover Inner Gasket
(371)Control Valve Body to Spacer Plate Gasket
(429)Case Cover Lower Gasket
(430)Case Cover Upper Gasket
Figure 24:

Ball Check Valves


Object Number: 54172  Size: LF
(1)TCC Apply-Release
(2)2nd-2nd Clutch
(3)Input Clutch-PRN
(4)3rd Clutch-Lo/1st
(5)Reverse-Reverse Servo Large
(6)D4-Servo Apply
(7)Lo-Lo/1st
(8)D2-Manual 2-1 Servo Feed
(9)3rd-3rd Clutch
(10)Line-Lo/1st Gear
Figure 25:

Oil Pump Cover Fluid Passages (Oil Pump Body Side)


Object Number: 53841  Size: LF
(2)Line
(17)Decrease
(43)Casting Void
(43)Casting Void
(43)Casting Void
Figure 26:

Oil Pump Body Fluid Passages (Oil Pump Cover Side)


Object Number: 53838  Size: LF
(1)Suction
(2)Line
(2)Line
(17)Decrease
(42)Exhaust
(43)Casting Void
Figure 27:

Oil Pump Body Fluid Passages (Control Valve Body Side)


Object Number: 53840  Size: LF
(1)Suction
(2)Line
(2)Line
(2)Line
(17)Decrease
(42)Exhaust
Figure 28:

Control Valve Body Fluid Passages (Oil Pump Body Side)


Object Number: 54144  Size: LF
(1)Suction
(2)Line
(2)Line
(2)Line
(2)Line
(13)TCC Release
(13)TCC Release
(13)TCC Release
(17)Decrease
(18)D4
(18)D4
(18)D4
(19)Forward Servo
(19)Forward Servo
(29)3rd
(35)D3
(36)D2
(38)Lo
(40)Reverse
(42)Exhaust
(42)Exhaust
(42)Exhaust
(42)Exhaust
(42)Exhaust
(42)Exhaust
(42)Exhaust
Figure 29:

Control Valve Body Fluid Passages (Case Cover Side)


Object Number: 54145  Size: LF
(1)Suction
(2)Line
(2)Line
(2)Line
(2)Line
(2)Line
(2)Line
(2)Line
(2)Line
(2)Line
(2)Line
(2)Line
(2)Line
(2)Line
(2)Line
(2)Line
(3)PRN
(4)2-3 Signal
(4)2-3 Signal
(5)1-2, 3-4 Signal
(5)1-2, 3-4 Signal
(6)Input Clutch Feed
(6)Input Clutch Feed
(7)Input Clutch
(7)Input Clutch
(8)Torque Signal
(8)Torque Signal
(8)Torque Signal
(8)Torque Signal
(8)Torque Signal
(8)Torque Signal
(8)Torque Signal
(9)TCC Signal (PWM)
(9)TCC Signal (PWM)
(10)Actuator Feed
(10)Actuator Feed
(10)Actuator Feed
(11)Converter Feed
(11)Converter Feed
(11)Converter Feed
(11)Converter Feed
(11)Converter Feed
(11)Converter Feed
(12)TCC Regulated Apply
(12)TCC Regulated Apply
(13)TCC Release
(13)TCC Release
(13)TCC Release
(14)TCC Apply
(14)TCC Apply
(14)TCC Apply
(15)Cooler
(15)Cooler
(17)Decrease
(18)D4
(18)D4
(18)D4
(18)D4
(18)D4
(18)D4
(19)Forward Servo
(19)Forward Servo
(19)Forward Servo
(19)Forward Servo
(20)Lo/1st Gear
(20)Lo/1st Gear
(21)Auxiliary Input Clutch Feed
(22)1-2 Accumulator
(22)1-2 Accumulator
(22)1-2 Accumulator
(23)2-3 Accumulator
(23)2-3 Accumulator
(23)2-3 Accumulator
(24)3-4 Accumulator
(24)3-4 Accumulator
(24)3-4 Accumulator
(25)2nd
(25)2nd
(25)2nd
(25)2nd
(27)2nd Clutch
(27)2nd Clutch
(28)2-3 Off Signal
(28)2-3 Off Signal
(28)2-3 Off Signal
(28)2-3 Off Signal
(28)2-3 Off Signal
(29)3rd
(29)3rd
(29)3rd
(29)3rd
(29)3rd
(29)3rd
(31)3rd Clutch
(31)3rd Clutch
(31)3rd Clutch
(33)4th Clutch
(35)D3
(36)D2
(36)D2
(36)D2
(37)Manual 2-1 Servo
(37)Manual 2-1 Servo
(37)Manual 2-1 Servo
(38)Lo
(38)Lo
(39)Lo-1st
(39)Lo-1st
(39)Lo-1st
(39)Lo-1st
(40)Reverse
(40)Reverse
(41)Reverse Servo
(42)Exhaust
(42)Exhaust
(42)Exhaust
(42)Exhaust
(42)Exhaust
(42)Exhaust
(42)Exhaust
(42)Exhaust
(42)Exhaust
(42)Exhaust
(42)Exhaust
(42)Exhaust
(42)Exhaust
(42)Exhaust
(43)Casting Void
(43)Casting Void
(43)Casting Void
(43)Casting Void
(43)Casting Void
(43)Casting Void
(43)Casting Void
(43)Casting Void
(43)Casting Void
(43)Casting Void
(43)Casting Void
(43)Casting Void
(43)Casting Void
(43)Casting Void
(43)Casting Void
(#5)Ball Check Valve
(#6)Ball Check Valve
(#7)Ball Check Valve
(#8)Ball Check Valve
(#9)Ball Check Valve
(#10)Ball Check Valve
Figure 30:

Control Valve Body to Spacer Plate Gasket Fluid Passages


Object Number: 54154  Size: LF
(1)Suction
(2)Line
(2)Line
(2)Line
(2)Line
(2)Line
(2)Line
(2)Line
(2)Line
(2)Line
(2)Line
(2)Line
(2)Line
(2)Line
(2)Line
(2)Line
(2)Line
(2)Line
(2)Line
(2)Line
(2)Line
(2/8)Line/Torque Signal
(2/11)Line/Converter Feed
(2/22)Line/1-2 Accumulator
(2/23)Line/2-3 Accumulator
(3)PRN
(5)1-2, 3-4 Signal
(6)Input Clutch Feed
(6)Input Clutch Feed
(7)Input Clutch
(8)Torque Signal
(8)Torque Signal
(8)Torque Signal
(8)Torque Signal
(8)Torque Signal
(8)Torque Signal
(8)Torque Signal
(8)Torque Signal
(9)TCC Signal (PWM)
(9)TCC Signal (PWM)
(10)Actuator Feed
(10)Actuator Feed
(11)Converter Feed
(11)Converter Feed
(11)Converter Feed
(11)Converter Feed
(11)Converter Feed
(12)TCC Regulated Apply
(12)TCC Regulated Apply
(13)TCC Release
(13)TCC Release
(14)TCC Apply
(14)TCC Apply
(14)TCC Apply
(15)Cooler
(18)D4
(18)D4
(18)D4
(18)D4
(18)D4
(19)Forward Servo
(19)Forward Servo
(19)Forward Servo
(19)Forward Servo
(19)Forward Servo
(19)Forward Servo
(19)Forward Servo
(20)Lo/1st Gear
(20)Lo/1st Gear
(22)1-2 Accumulator
(22)1-2 Accumulator
(23)2-3 Accumulator
(23)2-3 Accumulator
(23)2-3 Accumulator
(24)3-4 Accumulator
(24)3-4 Accumulator
(24)3-4 Accumulator
(25)2nd
(25)2nd
(25)2nd
(25)2nd
(26)2nd Exhaust
(27)2nd Clutch
(29)3rd
(29)3rd
(29)3rd
(29)3rd
(29)3rd
(29)3rd
(29)3rd
(31)3rd Clutch
(31)3rd Clutch
(31)3rd Clutch
(31)3rd Clutch
(33)4th Clutch
(34)4th Clutch Exhaust
(35)D3
(36)D2
(36)D2
(36)D2
(37)Manual 2-1 Servo
(37)Manual 2-1 Servo
(37)Manual 2-1 Servo
(38)Lo
(38)Lo
(38)Lo
(39)Lo-1st
(39)Lo-1st
(40)Reverse
(40)Reverse
(40)Reverse
(41)Reverse Servo
(42)Exhaust
(42)Exhaust
(42)Exhaust
(42)Exhaust
(42)Exhaust
(42)Exhaust
(368)Spacer Plate and Gaskets/Control Valve Body Bolt
(368)Spacer Plate and Gaskets/Control Valve Body Bolt
(382)TCC Solenoid Valve Screen/Seal Assembly
(382)TCC Solenoid Valve Screen/Seal Assembly
Figure 31:

Spacer Plate Fluid Passages


Object Number: 54152  Size: LF
(1)Suction
(2)Line
(2)Line
(2)Line
(2)Line
(2)Line
(2)Line
(2)Line
(2)Line
(2)Line
(2)Line
(2)Line
(2)Line
(2)Line
(2)Line
(2)Line
(2)Line
(2/4)Line/2-3 Signal
(2/11)Line/Converter Feed
(3)PRN
(6)Input Clutch Feed
(6)Input Clutch Feed
(7)Input Clutch
(8)Torque Signal
(8)Torque Signal
(8)Torque Signal
(8)Torque Signal
(8)Torque Signal
(8)Torque Signal
(8)Torque Signal
(8)Torque Signal
(9)TCC Signal (PWM)
(9)TCC Signal (PWM)
(10)Actuator Feed
(10)Actuator Feed
(10/5)Actuator Feed/1-2, 3-4 Signal
(11)Converter Feed
(11)Converter Feed
(11)Converter Feed
(11)Converter Feed
(11)Converter Feed
(12)TCC Regulated Apply
(12)TCC Regulated Apply
(13)TCC Release
(13)TCC Release
(14)TCC Apply
(14)TCC Apply
(14)TCC Apply
(15)Cooler
(16/2)Lube/Line
(18)D4
(18)D4
(18)D4
(18)D4
(19)Forward Servo
(19)Forward Servo
(19)Forward Servo
(19)Forward Servo
(19)Forward Servo
(19/18)Forward Servo/D4
(19/18)Forward Servo/D4
(20)Lo/1st Gear
(20)Lo/1st Gear
(20/2)Lo/1st Gear/Line
(22)1-2 Accumulator
(22)1-2 Accumulator
(23)2-3 Accumulator
(23)2-3 Accumulator
(23)2-3 Accumulator
(24)3-4 Accumulator
(24)3-4 Accumulator
(24)3-4 Accumulator
(25)2nd
(25)2nd
(25)2nd
(25)2nd
(25)2nd
(26)2nd Exhaust
(27)2nd Clutch
(29)3rd
(29)3rd
(29)3rd
(29)3rd
(29)3rd
(29/31)3rd/3rd Clutch
(29/31)3rd/3rd Clutch
(31)3rd Clutch
(31)3rd Clutch
(31)3rd Clutch
(31/32)3rd Clutch/3rd Clutch/Lo-1st
(33)4th Clutch
(34)4th Clutch Exhaust
(35)D3
(35/29)D3/3rd
(36)D2
(36)D2
(37)Manual 2-1 Servo
(37)Manual 2-1 Servo
(37)Manual 2-1 Servo
(37/36)Manual 2-1 Servo/D2
(38)Lo
(38)Lo
(39)Lo-1st
(39)Lo-1st
(39/38)Lo-1st/Lo
(40)Reverse
(41)Reverse Servo
(41/40)Reverse Servo/Reverse
(41/40)Reverse Servo/Reverse
(42)Exhaust
(42)Exhaust
(42)Exhaust
(42)Exhaust
(42)Exhaust
(42)Exhaust
(42)Exhaust
(43/2)Casting Void/Line
(368)Spacer Plate and Gaskets/Control Valve Body Bolt Hole
(368)Spacer Plate and Gaskets/Control Valve Body Bolt Hole
(382)TCC Solenoid Valve Screen/Seal Assembly
(382)TCC Solenoid Valve Screen/Seal Assembly
Figure 32:

Spacer Plate to Case Cover Gasket Fluid Passages


Object Number: 54156  Size: LF
(1)Suction
(2)Line
(2)Line
(2)Line
(2)Line
(2)Line
(2)Line
(2)Line
(2)Line
(2)Line
(2)Line
(2)Line
(2)Line
(2)Line
(2)Line
(2)Line
(2/11)Line/Converter Feed
(3)PRN
(4)2-3 Signal
(6)Input Clutch Feed
(6)Input Clutch Feed
(7)Input Clutch
(8)Torque Signal
(8)Torque Signal
(8)Torque Signal
(8)Torque Signal
(8)Torque Signal
(8)Torque Signal
(8)Torque Signal
(8)Torque Signal
(9)TCC Signal (PWM)
(9)TCC Signal (PWM)
(10)Actuator Feed
(10)Actuator Feed
(10)Actuator Feed
(11)Converter Feed
(11)Converter Feed
(11)Converter Feed
(11)Converter Feed
(11)Converter Feed
(12)TCC Regulated Apply
(12)TCC Regulated Apply
(13)TCC Release
(13)TCC Release
(14)TCC Apply
(14)TCC Apply
(14)TCC Apply
(15)Cooler
(16)Lube
(18)D4
(18)D4
(18)D4
(18)D4
(18)D4
(19)Forward Servo
(19)Forward Servo
(19)Forward Servo
(19)Forward Servo
(19)Forward Servo
(19)Forward Servo
(20)Lo/1st Gear
(20)Lo/1st Gear
(22)1-2 Accumulator
(22)1-2 Accumulator
(23)2-3 Accumulator
(23)2-3 Accumulator
(23)2-3 Accumulator
(24)3-4 Accumulator
(24)3-4 Accumulator
(24)3-4 Accumulator
(25)2nd
(25)2nd
(25)2nd
(25)2nd
(26)2nd Exhaust
(27)2nd Clutch
(29)3rd
(29)3rd
(29)3rd
(29)3rd
(30)3rd/Exhaust
(32)3rd Clutch/Lo-1st
(31)3rd Clutch
(31)3rd Clutch
(31)3rd Clutch
(31)3rd Clutch
(33)4th Clutch
(34)4th Clutch Exhaust
(35)D3
(35)D3
(36)D2
(36)D2
(37)Manual 2-1 Servo
(37)Manual 2-1 Servo
(37)Manual 2-1 Servo
(38)Lo
(38)Lo
(39)Lo-1st
(39)Lo-1st
(39)Lo-1st
(40)Reverse
(41)Reverse Servo
(41)Reverse Servo
(41)Reverse Servo
(42)Exhaust
(42)Exhaust
(42)Exhaust
(42)Exhaust
(42)Exhaust
(42)Exhaust
(43)Casting Void
(368)Spacer Plate and Gaskets/Control Valve Body Bolt
(382)TCC Solenoid Valve Screen/Seal Assembly
(382)TCC Solenoid Valve Screen/Seal Assembly
Figure 33:

Case Cover Fluid Passages (Control Valve Body Side)


Object Number: 54151  Size: LF
(1)Suction
(2)Line
(2)Line
(2)Line
(2)Line
(2)Line
(2)Line
(2)Line
(2)Line
(2)Line
(2)Line
(2)Line
(3)PRN
(3)PRN
(3)PRN
(6)Input Clutch Feed
(7)Input Clutch
(7)Input Clutch
(8)Torque Signal
(8)Torque Signal
(8)Torque Signal
(8)Torque Signal
(8)Torque Signal
(9)TCC Signal (PWM)
(10)Actuator Feed
(10)Actuator Feed
(11)Converter Feed
(11)Converter Feed
(11)Converter Feed
(11)Converter Feed
(11)Converter Feed
(12)TCC Regulated Apply
(13)TCC Release
(13)TCC Release
(13/14)TCC Release/TCC Apply
(14)TCC Apply
(14)TCC Apply
(15)Cooler
(16)Lube
(18)D4
(18)D4
(18)D4
(19)Forward Servo
(19)Forward Servo
(19)Forward Servo
(19)Forward Servo
(20)Lo/1st Gear
(20)Lo/1st Gear
(22)1-2 Accumulator
(22)1-2 Accumulator
(23)2-3 Accumulator
(23)2-3 Accumulator
(24)3-4 Accumulator
(24)3-4 Accumulator
(25)2nd
(25)2nd
(25)2nd
(25)2nd
(27)2nd Clutch
(27)2nd Clutch
(29)3rd
(29)3rd
(29)3rd
(29)3rd
(31)3rd Clutch
(31)3rd Clutch
(32)3rd Clutch/Lo-1st
(33)4th Clutch
(33)4th Clutch
(35)D3
(35)D3
(35)D3
(36)D2
(36)D2
(36)D2
(37)Manual 2-1 Servo
(37)Manual 2-1 Servo
(37)Manual 2-1 Servo
(37)Manual 2-1 Servo
(38)Lo
(38)Lo
(39)Lo-1st
(39)Lo-1st
(39)Lo-1st
(39)Lo-1st
(39)Lo-1st
(40)Reverse
(41)Reverse Servo
(42)Exhaust
(42)Exhaust
(42)Exhaust
(42)Exhaust
(42)Exhaust
(42)Exhaust
(42)Exhaust
(42)Exhaust
(43)Casting Void
(43)Casting Void
(43)Casting Void
(43)Casting Void
(43)Casting Void
(43)Casting Void
(43)Casting Void
(43)Casting Void
(43)Casting Void
(43)Casting Void
(43)Casting Void
(43)Casting Void
(43)Casting Void
(43)Casting Void
(#1)Ball Check Valve
(#2)Ball Check Valve
(#3)Ball Check Valve
(#4)Ball Check Valve
Figure 34:

Case Cover Fluid Passages (Case Side)


Object Number: 54157  Size: MF
(1)Suction
(1)Suction
(2)Line
(2)Line
(3)PRN
(3)PRN
(7)Input Clutch
(10)Actuator Feed
(13)TCC Release
(15)Cooler
(15)Cooler
(16)Lube
(16)Lube
(19)Forward Servo
(22)1-2 Accumulator
(23)2-3 Accumulator
(24)3-4 Accumulator
(27)2nd Clutch
(27)2nd Clutch
(31)3rd Clutch
(32)3rd Clutch/Lo-1st
(33)4th Clutch
(33)4th Clutch
(35)D3
(37)Manual 2-1 Servo
(38)Lo
(41)Reverse Servo
(42)Exhaust
(42)Exhaust
(42)Exhaust
(42)Exhaust
(42)Exhaust
(42)Exhaust
(42)Exhaust
(42)Exhaust
(42)Exhaust
(42)Exhaust
(43)Casting Void
(412)Orificed Cup Plug
Figure 35:

Driven Sprocket Support Fluid Passages


Object Number: 54170  Size: MF
(7)Input Clutch
(7)Input Clutch
(7)Input Clutch
(7)Input Clutch
(16)Lube
(16)Lube
(16)Lube
(16)Lube
(16)Lube
(16)Lube
(27)2nd Clutch
(27)2nd Clutch
(27)2nd Clutch
(32)3rd Clutch/Lo-1st
(32)3rd Clutch/Lo-1st
(32)3rd Clutch/Lo-1st
(32)3rd Clutch/Lo-1st
(33)4th Clutch
(33)4th Clutch
Figure 36:

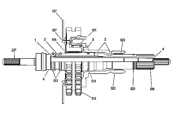
Oil Pump Drive Shaft and Drive Sprocket Support Fluid Passages


Object Number: 54143  Size: MF
(1)Steel Sleeve
(2)TCC Apply Passage
(2)TCC Apply Passage
(3)Converter Seal Drainback Passage
(4)TCC Release Passage
(4)TCC Release Passage
(227)Oil Pump Drive Shaft Assembly
(513)Turbine Shaft Oil Seal Ring
(515)Drive Sprocket Retaining Ring
(516)Drive Sprocket
(517)Drive Sprocket Thrust Washer
(518)Turbine Shaft
(519)Turbine Shaft Oil Seal Ring
(520)Turbine Shaft O-Ring Seal
(521)Drive Sprocket Bearing Assembly
(522)Drive Sprocket Support
(523)Drive Sprocket Support Bushing
(527)Vehicle Speed Sensor Reluctor Wheel Assembly
Figure 37:

Case Fluid Passages (Case Cover Side)


Object Number: 54159  Size: LF
(1)Suction
(1)Suction
(2)Line
(3)PRN
(10)Actuator Feed
(13)TCC Release
(15)Cooler
(19)Forward Servo
(22)1-2 Accumulator
(23)2-3 Accumulator
(27)2nd Clutch
(31)3rd Clutch
(35)D3
(37)Manual 2-1 Servo
(38)Lo
(41)Reverse Servo
(42)Exhaust
(43)Casting Void
(43)Casting Void
(44)Vent
(45)Thermo Element Exhaust
(45)Thermo Element Exhaust
Figure 38:

Case Fluid Passages (Bottom)


Object Number: 54161  Size: LF
(1)Suction
(16)Lube
(16)Lube
(19)Forward Servo
(19)Forward Servo
(22)1-2 Accumulator
(23)2-3 Accumulator
(27)2nd Clutch
(31)3rd Clutch
(37)Manual 2-1 Servo
(43)Casting Void
(45)Thermo Element Exhaust
Figure 39:

1-2 and 2-3 Accumulator Housing Fluid Passages


Object Number: 54167  Size: LF
(16)Lube
(16)Lube
(22)1-2 Accumulator
(22)1-2 Accumulator
(23)2-3 Accumulator
(23)2-3 Accumulator
(37)Manual 2-1 Servo
(37)Manual 2-1 Servo
Figure 40:

Accumulator Cover Spacer Plate Fluid Passages


Object Number: 54164  Size: LF
(16)Lube
(16)Lube
(16)Lube
(19)Forward Servo
(22)1-2 Accumulator
(22)1-2 Accumulator
(23)2-3 Accumulator
(23)2-3 Accumulator
(27)2nd Clutch
(31)3rd Clutch
(37)Manual 2-1 Servo
(37)Manual 2-1 Servo
(37)Manual 2-1 Servo
Figure 41:

Accumulator Cover Fluid Passages


Object Number: 54163  Size: LF
(16)Lube
(16)Lube
(19)Forward Servo
(19)Forward Servo
(19)Forward Servo
(22)1-2 Accumulator
(22)1-2 Accumulator
(23)2-3 Accumulator
(27)2nd Clutch
(27)2nd Clutch
(31)3rd Clutch
(31)3rd Clutch
(37)Manual 2-1 Servo
(37)Manual 2-1 Servo
(124)Forward Band Servo Oil Pipe
(125)Manual 2-1 Band Servo Oil Pipe
(126)Lube Oil Pipe
Figure 42:

Manual 2-1 Band Servo Cover Fluid Passages


Object Number: 54168  Size: LF
(19)Forward Servo
(37)Manual 2-1 Servo
(124)Forward Band Servo Oil Pipe
(125)Manual 2-1 Band Servo Oil Pipe