GM Service Manual Online
For 1990-2009 cars only

Removal Procedure

Notice: Allow sufficient clearance around the transaxle oil cooler pipes and around the hoses to prevent damage or wear which may cause fluid loss.

  1. Raise and support the vehicle. Refer to Lifting and Jacking the Vehicle in General Information.
  2. Position the drain pan.

  3. Object Number: 289516  Size: SH
  4. Remove the transaxle oil cooler hoses from the transaxle oil cooler fittings in the transaxle.

  5. Object Number: 190635  Size: SH
  6. Remove the quick connect transaxle oil cooler pipes from the radiator.
  7. Important: Perform the following procedures when removing the retaining ring and transaxle oil cooler pipe from the quick connect fitting on the transmission.

  8. Pull the plastic cap back from the quick connect fitting and down along the transaxle oil cooler pipe about two inches.

  9. Object Number: 104737  Size: SH
  10. Using a bent-tip screwdriver, pull on one of the open ends of the retaining ring in order to rotate the retaining ring around the quick connect fitting until the retaining ring is out of position and can be completely removed.

  11. Object Number: 104739  Size: SH
  12. Remove the retaining ring from the quick connect fitting.
  13. Discard the retaining ring.

  14. Object Number: 104740  Size: SH
  15. Pull the transaxle oil cooler pipe straight out from the quick connect fitting.
  16. Remove the retaining ring (E-clip) securing the transaxle oil cooler pipe to the quick connect in order to remove the remaining transaxle oil cooler pipes from the remaining quick connect fittings.

  17. Object Number: 190631  Size: SH
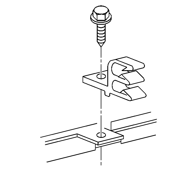
  18. Remove the transaxle oil cooler pipe clip bolt.
  19. Remove the transaxle oil cooler pipe clip.

  20. Object Number: 190630  Size: SH
  21. Remove the transaxle oil cooler pipe and hose from the vehicle.

Installation Procedure


    Object Number: 190630  Size: SH
  1. Install the transaxle oil cooler pipe and hose to the vehicle.

  2. Object Number: 190635  Size: SH
  3. Install the quick connect transaxle oil cooler pipes to the radiator.

  4. Object Number: 190631  Size: SH
  5. Install the transaxle oil cooler pipe clip.
  6. Notice: Use the correct fastener in the correct location. Replacement fasteners must be the correct part number for that application. Fasteners requiring replacement or fasteners requiring the use of thread locking compound or sealant are identified in the service procedure. Do not use paints, lubricants, or corrosion inhibitors on fasteners or fastener joint surfaces unless specified. These coatings affect fastener torque and joint clamping force and may damage the fastener. Use the correct tightening sequence and specifications when installing fasteners in order to avoid damage to parts and systems.

  7. Install the transaxle oil cooler pipe clip bolt.
  8. Tighten
    Tighten the transaxle oil cooler pipe clip bolt to 10 N·m (89 lb in).

    Important: 

       • Do not reuse any of the existing retaining rings that were removed from the existing quick connect fittings. All retaining rings being installed must be new.
       • Ensure the following procedures are performed when installing the new retaining rings onto the fittings.

  9. Install a new retaining ring (E-clip) into the quick connect fitting using the following procedure:

  10. Object Number: 104743  Size: SH
  11. Hook one of the open ends of retaining ring in one of the slots in the quick connect fitting.

  12. Object Number: 104746  Size: SH
  13. Rotate the retaining ring around the fitting until the retaining ring is positioned with all three ears through the three slots on the fitting.

  14. Object Number: 104741  Size: SH
  15. Do not install the new retaining ring onto the fitting by pushing the retaining ring.

  16. Object Number: 104664  Size: SH
  17. Ensure that the three retaining ring ears are seen from inside the fitting and that the retaining ring moves freely in the fitting slots.
  18. Install the new retaining ring (E-clip) into the remaining quick connect fittings.

  19. Object Number: 104740  Size: SH

    Notice: Ensure that the cooler line being installed has a plastic cap on each end that connects to a quick connect fitting. If no plastic cap exists, or the plastic cap is damaged, obtain a new plastic cap and position on to the cooler line prior to the cooler line installation.

  20. Install the transaxle oil cooler pipes to the quick connect fittings.

  21. Object Number: 104752  Size: SH
  22. Install the transaxle oil cooler pipe into the quick connect fitting.
  23. Insert the transaxle oil cooler pipe end into the quick connect fitting until a click is either heard or felt.

  24. Object Number: 104750  Size: SH
  25. Do not use the plastic cap on the transaxle oil cooler pipe in order to install the transaxle oil cooler pipe into the fitting.
  26. Pull back sharply on the transaxle oil cooler pipe in order to ensure that the transaxle oil cooler pipe is fastened into the quick connect fitting.

  27. Object Number: 104753  Size: SH
  28. Position (snap) the plastic cap onto the fitting. Do not manually depress the retaining ring when installing the plastic cap onto the quick connect fitting.
  29. Ensure that the plastic cap is fully seated against the fitting.

  30. Object Number: 104754  Size: SH
  31. Ensure that no gap is present between the cap and the fitting.

  32. Object Number: 104753  Size: SH
  33. Ensure that the yellow identification band on the tube is hidden within the quick connect fitting. A hidden yellow identification band indicates proper joint seating.

  34. Object Number: 104755  Size: SH
  35. Do not install the transaxle oil cooler pipe end into the fitting incorrectly.
  36. If you cannot position the plastic cap against the fitting, remove the retaining ring from the quick connect fitting per step 4 of the transaxle oil cooler pipe removal procedure. Check the retaining ring and the transaxle oil cooler pipe end in order to ensure neither is bent. Replace the transaxle oil cooler pipe or the retaining ring if necessary, and install per step 2 of the transaxle oil cooler pipe installation procedure.

  37. Object Number: 190635  Size: SH
  38. Install the transaxle oil cooler hoses to the retaining clip on the frame.

  39. Object Number: 289516  Size: SH

    Important: The correct thread engagement is critical. The crossthreaded fittings can achieve proper tightness value and still leak.

  40. Install the transaxle oil cooler hoses to the transaxle oil cooler fittings in the transaxle.
  41. Tighten
    Tighten the transaxle oil cooler hose fittings to 23 N·m (17 lb ft).

  42. Lower the vehicle.
  43. Notice: Do NOT overfill the transaxle. The overfilling of the transaxle causes foaming, loss of fluid, shift complaints, and possible damage to the transaxle.

  44. Adjust the fluid level.
  45. Inspect for proper completion of the repairs.
  46. Inspect for fluid leaks.