GM Service Manual Online
For 1990-2009 cars only
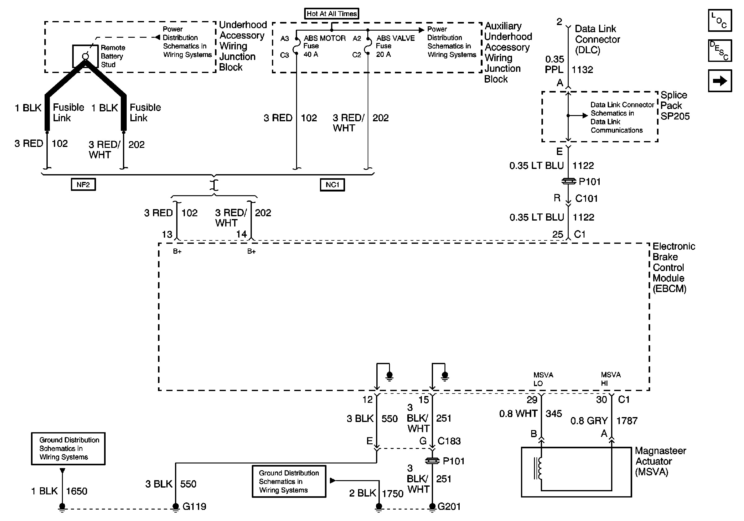
Figure 1:

Power/Grounds, Serial Data and Variable Effort Actuator


Object Number: 631781  Size: FS
Battery, MaxiFuses, Fusible Links and Crank Relay
Battery, MaxiFuses, Fusible Links and Crank Relay
DLC Schematic
Steering Controls Components
Variable Effort Steering Circuit Operation
Steering Position Sensor (w/ JL4 Only)
Ground G119
Ground G201
Figure 2:

Steering Position Sensor (w/ JL4 Only)


Object Number: 631784  Size: FS
Trans Solenoid, ABS, and O2 Sensor Fuses
Trans Solenoid, ABS, and O2 Sensor Fuses
Steering Controls Components
Variable Effort Steering Circuit Operation
Wheel Speed Sensors
Power/Grounds, Serial Data and Variable Effort Actuator
Precision Control System (PCS) (RPO JL4)
Figure 3:

Wheel Speed Sensors


Object Number: 590222  Size: FS