GM Service Manual Online
For 1990-2009 cars only
Makes
🢒
Oldsmobile
🢒
2000
🢒
Intrigue
🢒
Body and Accessories
🢒
Wipers/Washer Systems
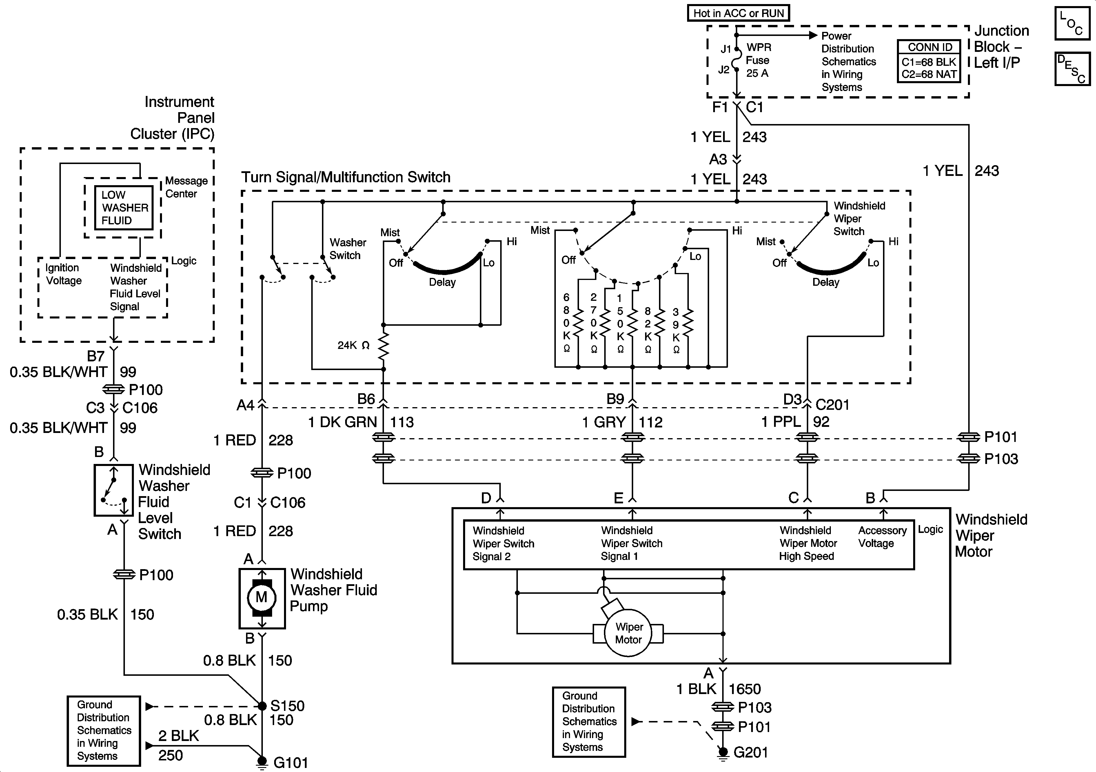
🢒 Wiper/Washer System (Pulse) Schematics
Wiper, Power Drop, Radio/Cruise and Red Strg Whl Illum Fuses
Grounds G100, G101, G110
Ground G119
Wiper/Washer Component Views
Wiper/Washer System Circuit Description