GM Service Manual Online
For 1990-2009 cars only

Assist Handle Replacement W/out Lamp

Removal Procedure


    Object Number: 384877  Size: SH
  1. Pull down on the assist handle to expose the assist handle to roof retaining screws.
  2. Front handle: Remove the assist handle to roof retaining screws (1).
  3. Remove the assist handle from the vehicle.

Installation Procedure


    Object Number: 384877  Size: SH
  1. Position the assist handle in the vehicle.
  2. Install the assist handle to roof retaining screws (1).
  3. Tighten
    Tighten the assist handle screws to 3 N·m (27 lb in).

Assist Handle Replacement With Lamp

Removal Procedure

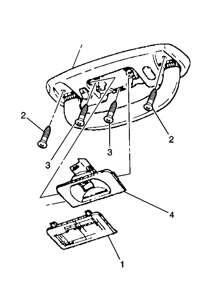
  1. Use a flat-bladed tool to remove the rail lamp lens.
  2. Remove the rail lamp to assist handle retaining screws (3).

  3. Object Number: 384915  Size: MH
  4. Pull the assist handle down to expose the assist handle to roof retaining screws (2).
  5. Remove the two assist handle to roof retaining screws.
  6. Disconnect the roof rail lamp electrical connector.
  7. Remove the assist handle from the vehicle.

Installation Procedure


    Object Number: 384915  Size: MH
  1. Position the assist handle to the vehicle.
  2. Connect the side rail lamp electrical connector.
  3. Install the assist handle to roof retaining screws (2).
  4. Tighten
    Tighten the assist handle to roof retaining screws to 3 N·m (27 lb in).

  5. Install the rail lamp to assist handle retaining screws.
  6. Tighten
    Tighten the rail lamp to assist handle retaining screws to 3 N·m (27 lb in).

  7. Align the rail lamp lens to the assist handle. Apply force until the rail lamp lens is fully seated.