GM Service Manual Online
For 1990-2009 cars only

SVS and/or Antilock Brake Lamp Illuminates, DTC P0410 (Replace Bus Bar)

Subject:Service Vehicle Soon and/or Antilock Brake Lamp Illuminates, DTC P0410 (Replace Bus Bar in Electrical Center)

Models:2000 Oldsmobile Intrigue
Built prior to VIN Breakpoint YF121427
with NC1 (California-North East States Emissions)



Condition

Some customers may comment that the Service Vehicle Soon and/or the ABS brake lamp is illuminated.

Cause

This condition may be caused by an insufficient connection between the bus bar and the fuse in the auxiliary fuse box.

Correction

Figure 1


Object Number: 639748  Size: MH

Replace the bus bar within the auxiliary fuse box (Figure 1), using the following procedure.

   • 

Disconnect the negative battery cable.

   • 

Disconnect the jumper which connects the Underhood Electrical Center and the auxiliary fuse box, located on the front of the right shock tower.

   • 

Remove the cover from the auxiliary fuse box by unlatching the lower retaining tab and lift the cover up and off.

   • 

Remove the Maxifuse from the auxiliary fuse box.

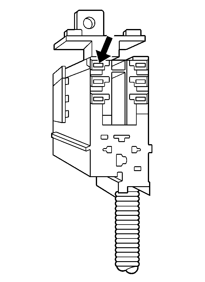
Figure 2


Object Number: 639750  Size: MH
   • 

Inspect the auxiliary fuse box closely to determine the location of the three internal locking tabs. See the arrows in Figure 2 which hold the two halves of the auxiliary fuse box together. Using a small pocket screwdriver, depress the tabs to allow the center of the auxiliary fuse box to be lifted out of the housing.

Figure 3


Object Number: 639749  Size: MH
   • 

Remove the wiring retainer from the side of the fuse block.

   • 

Inspect the new bus bar to locate the bus bar to housing retainers. Three tabs must be depressed individually with the pocket screwdriver. See the arrow in Figure 3 to allow the bus bar to be removed from the back side of the block.

   • 

Install bus bar, P/N 15354612, into the back of the fuse block. Verify that it snaps into place.

   • 

Reinstall the wiring retainer into the side of the fuse block.

   • 

Reinstall the fuse block back into the housing, ensuring that it is properly snapped into place and no wires are improperly trapped out of position.

   • 

Reinstall the MaxiFuse and the cover.

   • 

Install the jumper wire which connects the Underhood Electrical Center and the auxiliary fuse box.

Tighten
Tighten the attaching nut to 10 N·m (90 lb in).

   • 

Reconnect the negative battery cable.

Tighten
Tighten the battery cable to 15 N·m(11 lb ft).

   • 

Clear all codes using the Tech 2.

Parts Information

Part Number

Description

15354612

Bus Bar

Parts are currently available from GMSPO.

Warranty Information

For vehicles repaired under warranty, use:

Labor Operation

Description

Labor Time

N0130

Bus Bar - Replace

0.3 hr