GM Service Manual Online
For 1990-2009 cars only
Makes
🢒
Oldsmobile
🢒
2000
🢒
Intrigue
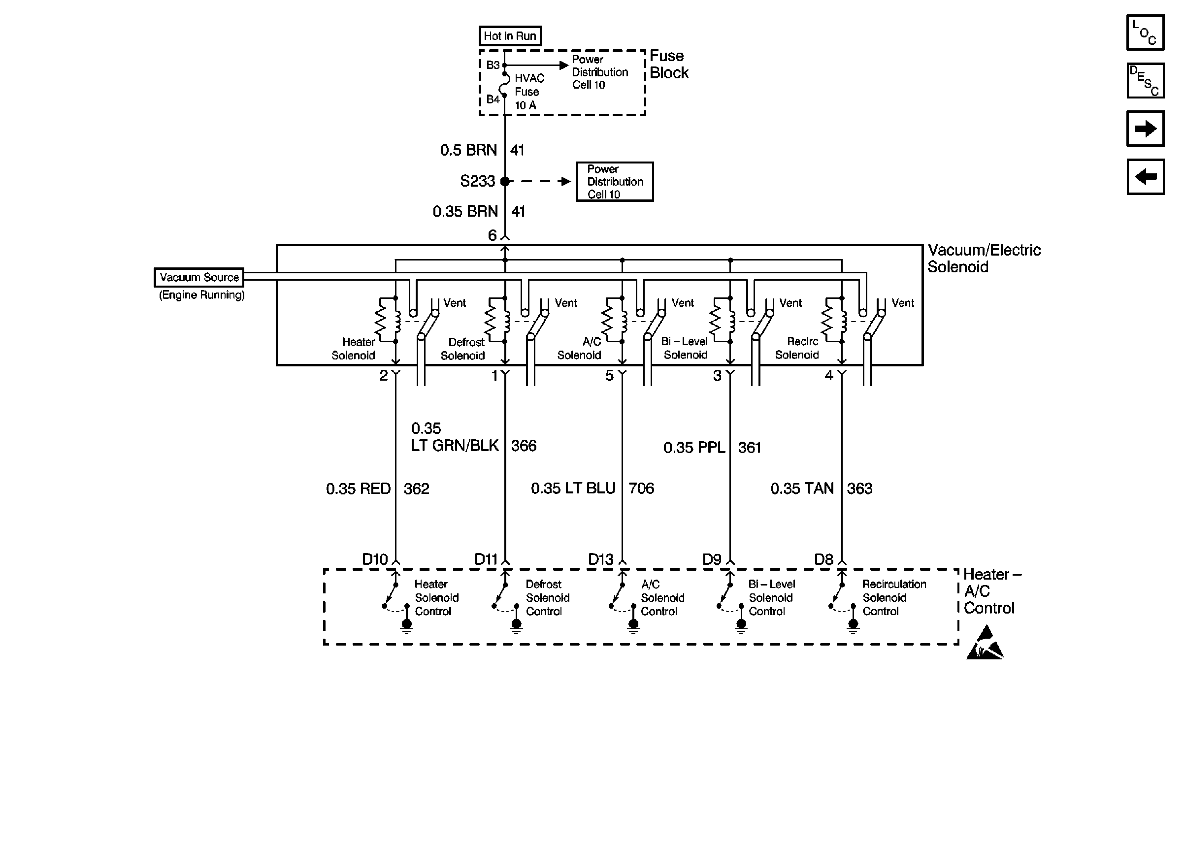
🢒 Cell 68: Power Distribution, Heater A/C Control and Vacuum/Electric Solenoid
Cell 68: Power Distribution, Heater A/C Control and Vacuum/Electric Solenoid
Cell 68: Power Distribution, Heater A/C Control and Vacuum/Electric Solenoid
Cell 10: Battery, Generator, EBTCM, and Underhood Accessory Wiring Junction Block
Cell 10: Battery, Generator, EBTCM, and Underhood Accessory Wiring Junction Block
Handling Electrostatic Discharge Sensitive Parts Notice
HVAC Components
HVAC Air Delivery/Temperature Control Circuit Description
Cell 68
Cell 68: Power Distribution, Heater A/C Control, LH and RH Electric Actuators