GM Service Manual Online
For 1990-2009 cars only
Makes
🢒
Oldsmobile
🢒
2000
🢒
Intrigue
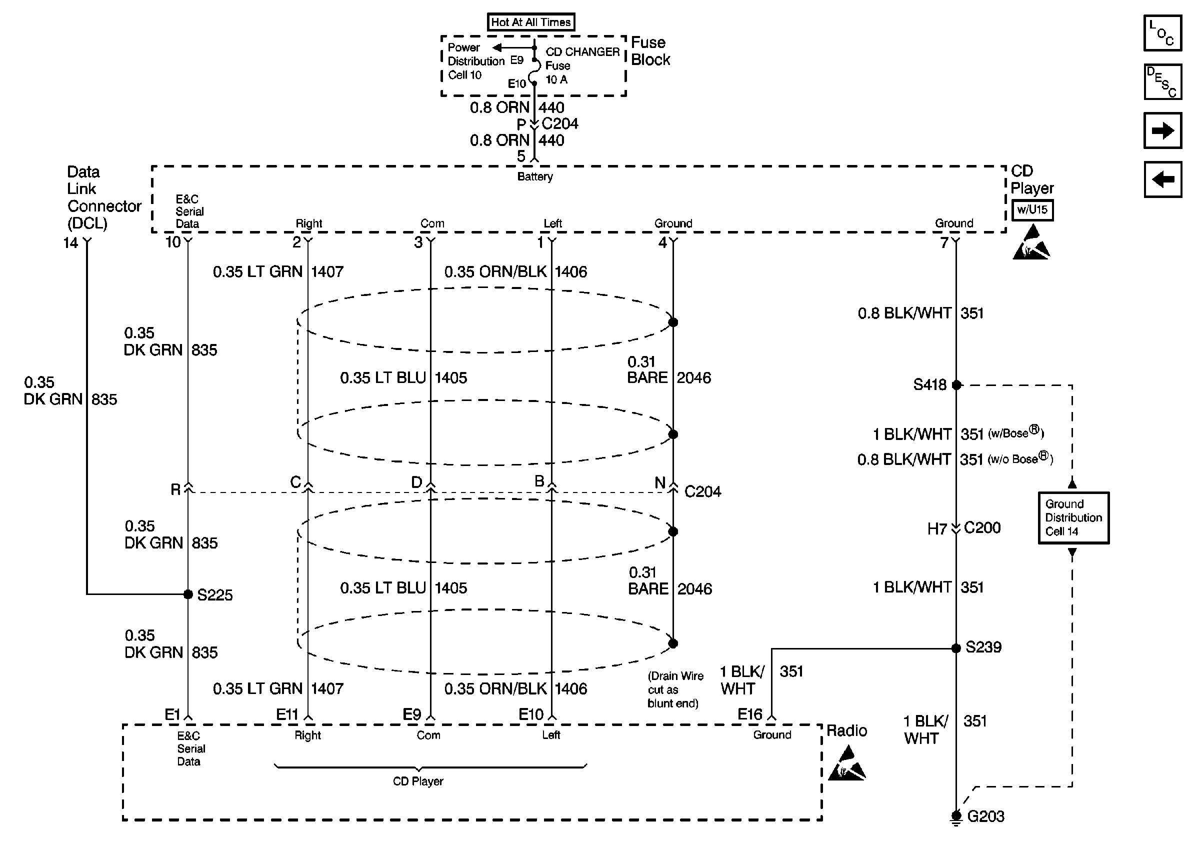
🢒 Cell 150: CD Player
Cell 150: CD Player
Cell 150: CD Player
Entertainment Components
Radio/Audio System Circuit Description
Cell 150: Bose Speaker System w/ RPO U85
Cell 150: Base Speaker System w/o RPO U85
Handling ESD Sensitive Parts Notice
Cell 14: LH IP Ground G203
Handling ESD Sensitive Parts Notice
Cell 10: ABS BCM, CD CHANGER, CIGAR LTR AUX POWER, INADV POWER BUS,and RADIO HVAC RFA CLUSTER DATA LINK Fuses