GM Service Manual Online
For 1990-2009 cars only
Makes
🢒
Oldsmobile
🢒
2000
🢒
Intrigue
🢒 Air SystemC67
Air SystemC67
HVAC Components
HVAC Air Delivery/Temperature Control Circuit Description
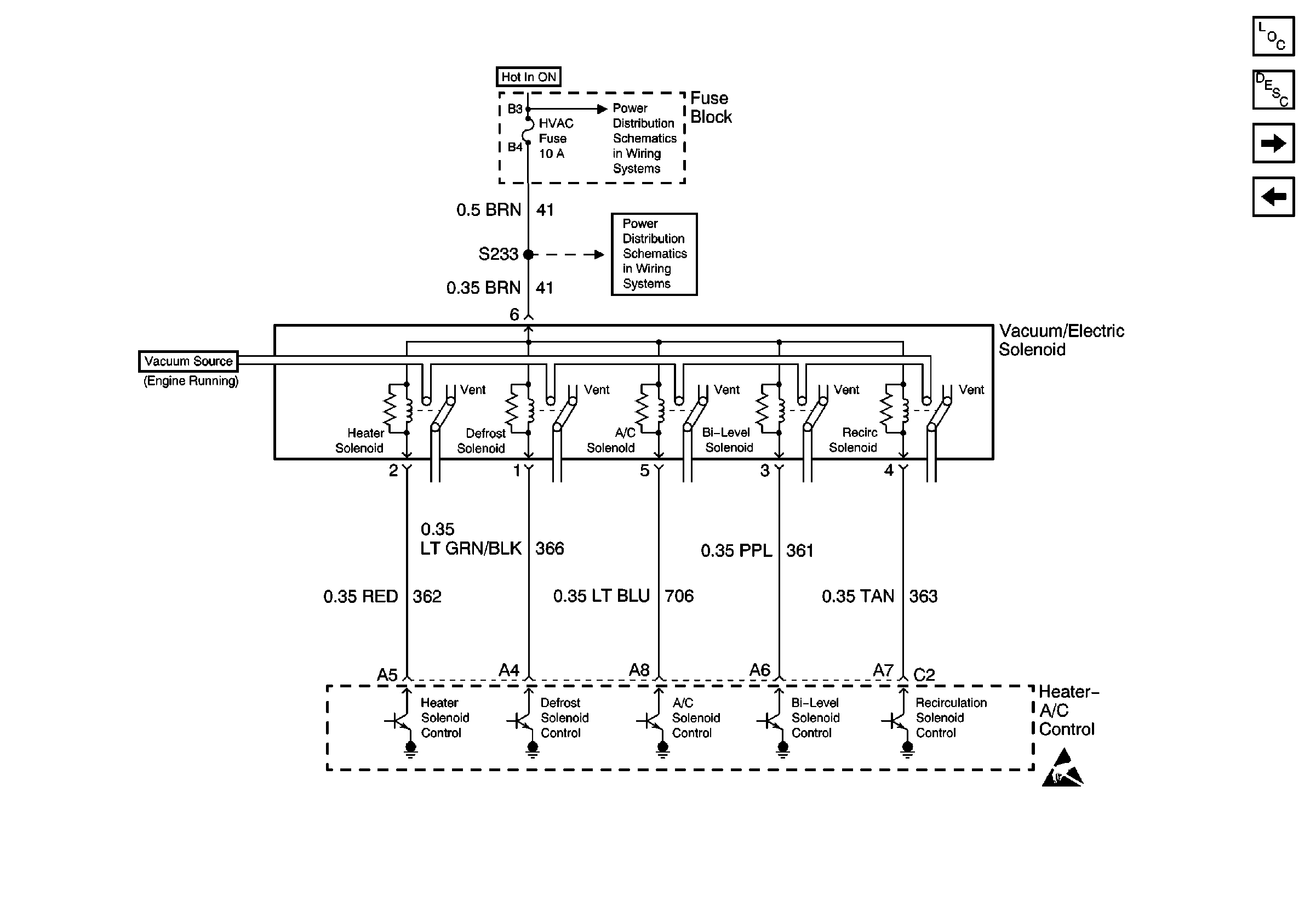
Vacuum Electric Solenoid C67
Heater A/C Control C67
Low Blower, Cruise and HVAC Fuses
Low Blower, Cruise and HVAC Fuses