GM Service Manual Online
For 1990-2009 cars only
Makes
🢒
Oldsmobile
🢒
2000
🢒
Intrigue
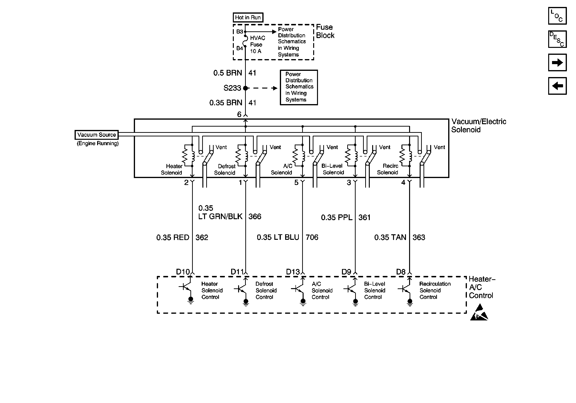
🢒 HVAC Vacuum/Electric Solenoid
HVAC Vacuum/Electric Solenoid
HVAC Vacuum/Electric Solenoid
HVAC Components
HVAC Air Delivery/Temperature Control Circuit Description
HVAC Air Delivery System
Temperature Controls
Low Blower, Cruise and HVAC Fuses
Low Blower, Cruise and HVAC Fuses