GM Service Manual Online
For 1990-2009 cars only
Makes
🢒
Oldsmobile
🢒
2000
🢒
Intrigue
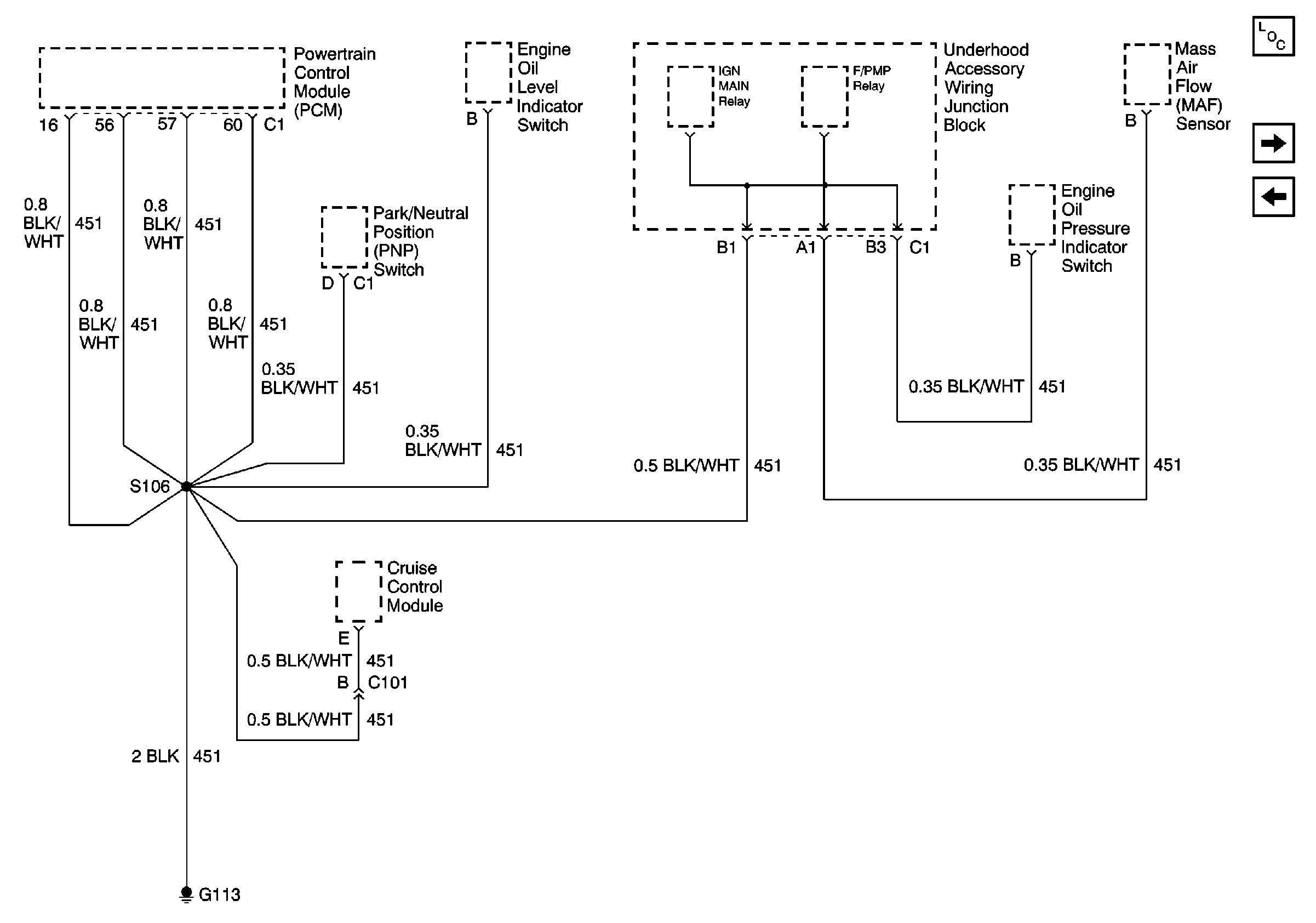
🢒 Ground G113
Ground G113
Ground G113
Power and Grounding Components
Ground G117
Grounds G100, G101, G110