GM Service Manual Online
For 1990-2009 cars only
Makes
🢒
Oldsmobile
🢒
2001
🢒
Intrigue
🢒
Body and Accessories
🢒
Seats
🢒 Power Seats Schematics
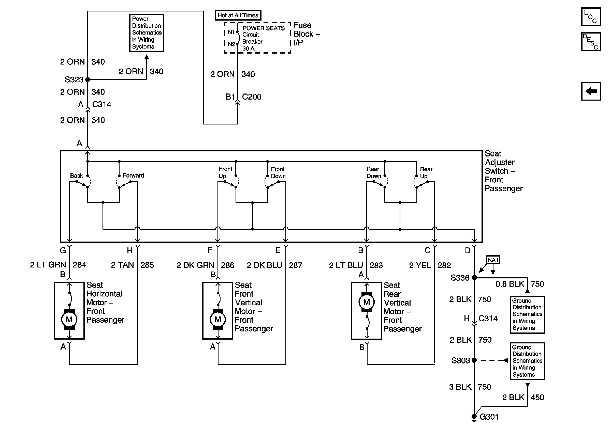
Figure
1:
Driver Seat Power, Ground and Switch
Master Electrical Component List original
Power Seats System Description and Operation
Passenger Power, Ground and Switch
ONSTAR, LH HEATED SEAT, RH HEATED SEAT, POWER SEATS, REAR DEFOG Fuses and Rear Window Defogger Relay
Ground G301 (2 of 3)
Ground G301 (1 of 3)
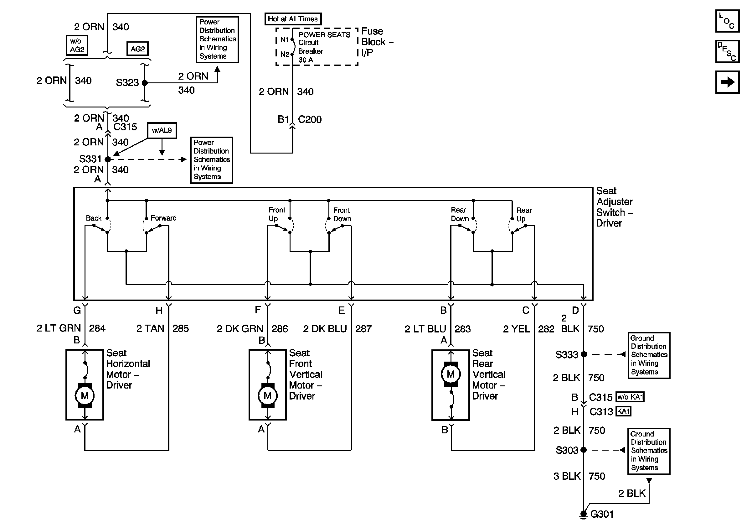
Figure
2:
Passenger Power, Ground and Switch
Master Electrical Component List original
Power Seats System Description and Operation
Driver Seat Power, Ground and Switch
ONSTAR, LH HEATED SEAT, RH HEATED SEAT, POWER SEATS, REAR DEFOG Fuses and Rear Window Defogger Relay
Ground G301 (1 of 3)