GM Service Manual Online
For 1990-2009 cars only
Makes
🢒
Oldsmobile
🢒
2001
🢒
Intrigue
🢒
Body and Accessories
🢒
Cellular Communication
🢒 OnStar Schematics
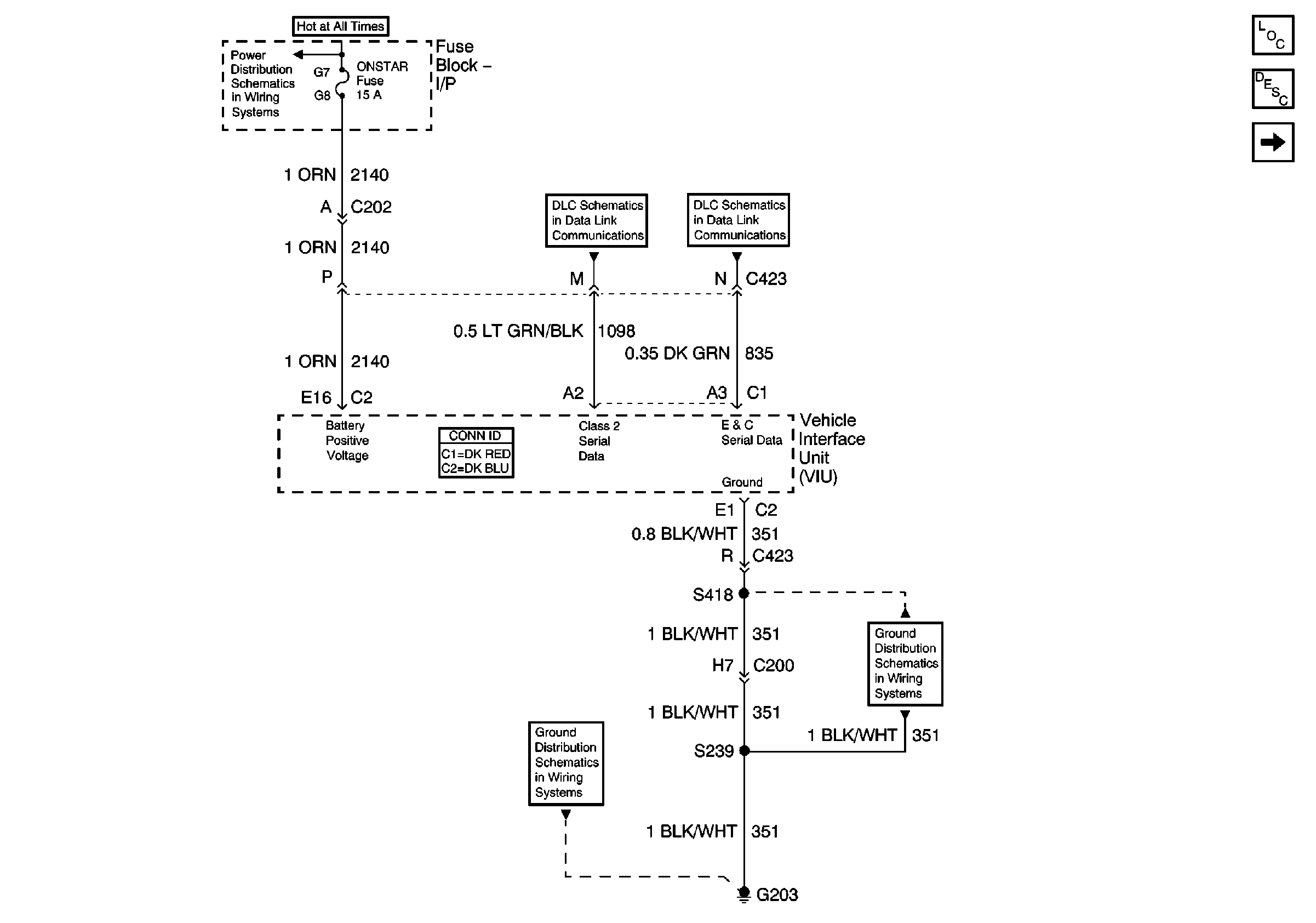
Figure
1:
Power, Grounds and DLC
Master Electrical Component List original
OnStar Description and Operation
Vehicle Communications Unit (VCU)
01 W-Car Olds: Data LInk Communications (Data LInk Connector)
01 W-Car Olds: Data LInk Communications (Data LInk Connector)
ONSTAR, LH HEATED SEAT, RH HEATED SEAT, POWER SEATS, REAR DEFOG Fuses and Rear Window Defogger Relay
Ground G203
Ground G203
Figure
2:
Vehicle Communications Unit (VCU)
Master Electrical Component List original
OnStar Description and Operation
OnStar Communications
Power, Grounds and DLC
Figure
3:
OnStar Communications
Master Electrical Component List original
OnStar Description and Operation
Vehicle Communications Unit (VCU)
Ground G302 (1 of 2)