GM Service Manual Online
For 1990-2009 cars only
Makes
🢒
Oldsmobile
🢒
2002
🢒
Intrigue
🢒
Engine
🢒
Engine Controls - 3.5L
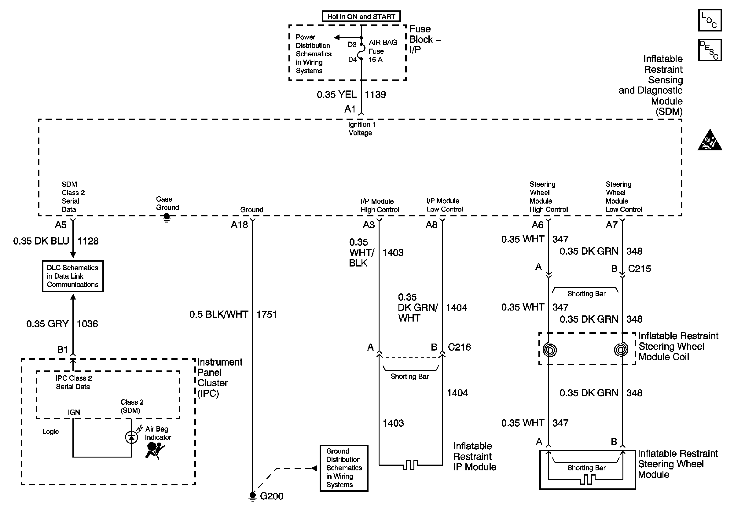
🢒 SIR Schematics
Master Electrical Component List
SIR System Description and Operation
SIR Schematic Icons
BTSI, TURN SIGNALS/CORN LPS, AIR BAG, CLUSTER, and PCM/BCM/U H RELAY Fuses
DLC, and Splice Pack
G200