GM Service Manual Online
For 1990-2009 cars only
Makes
🢒
Oldsmobile
🢒
2002
🢒
Intrigue
🢒
Transmission/Transaxle
🢒
Automatic Transaxle - 4T65-E
🢒 Automatic Transmission Controls Schematics
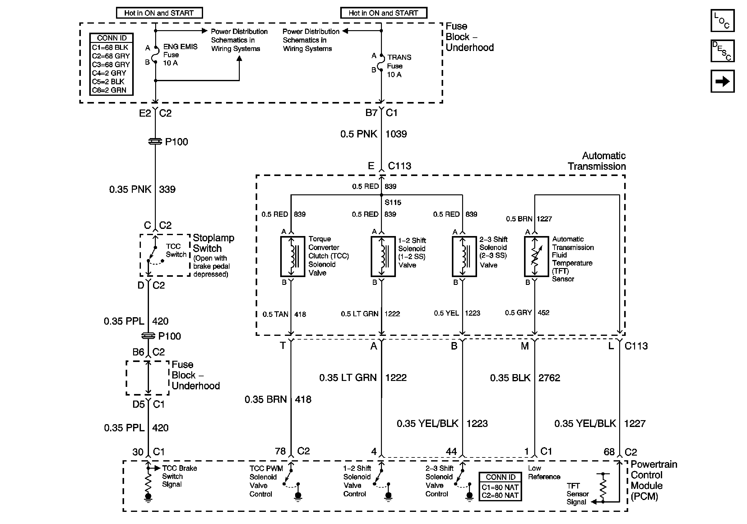
Figure
1:
VSS, TCC Switch, and TFT Sensor
Master Electrical Component List
Transmission General Description
PNP Switch
A/C COMPRESSOR CLUTCH, IGN MAIN, COOLING FAN 1, COOLING FAN 2, and COOLING FAN 3 Relays, COOL FAN 1, and COOL FAN 2, Fuses,
TRANS, ABS, and OXY SEN Fuses
Figure
2:
PNP Switch
Master Electrical Component List
Transmission General Description
SS, Pressure Control Solenoid, Pressure Switch
VSS, and TCC
G113
G113, G117, G119)
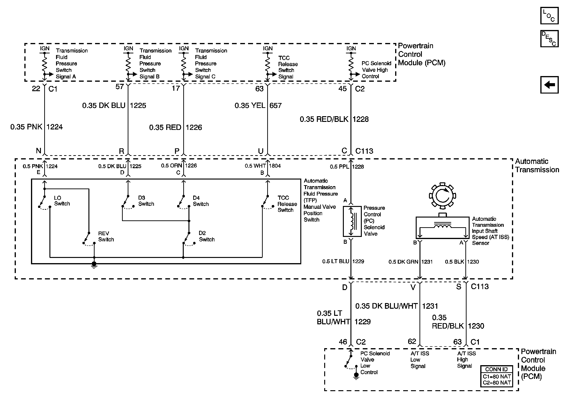
Figure
3:
ISS, Pressure Control Solenoid, and Pressure Switches
Master Electrical Component List
Transmission General Description
PNP Switch