GM Service Manual Online
For 1990-2009 cars only

Removal Procedure

  1. Remove the seat back. Refer to Rear Seat Back Replacement .
  2. Remove the fold-down seat back from the seat frame.

  3. Object Number: 176352  Size: SH
  4. Open the J-retainer at the bottom edge of the seat back.

  5. Object Number: 815411  Size: SH
  6. Remove the trim staples.

  7. Object Number: 520373  Size: SH
  8. Pull up the seat trim to expose the latch.
  9. Remove the seat back pad.

  10. Object Number: 815412  Size: SH
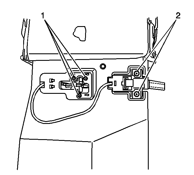
  11. Remove the latch screws (1).
  12. Lift up the latch and disconnect the release cable.
  13. Remove the latch.
  14. Drill out the rivets (2) on the cable strap anchor.

  15. Object Number: 815413  Size: SH
  16. Use a flat-bladed tool to pry the cable (2) from the bracket (1).
  17. Remove the cable assembly from the seat back.

Installation Procedure


    Object Number: 815412  Size: SH
  1. Install the cable assembly in the seat back.
  2. Install rivets (2) in the cable assembly anchor.
  3. Connect the latch to the release cable.
  4. Notice: Use the correct fastener in the correct location. Replacement fasteners must be the correct part number for that application. Fasteners requiring replacement or fasteners requiring the use of thread locking compound or sealant are identified in the service procedure. Do not use paints, lubricants, or corrosion inhibitors on fasteners or fastener joint surfaces unless specified. These coatings affect fastener torque and joint clamping force and may damage the fastener. Use the correct tightening sequence and specifications when installing fasteners in order to avoid damage to parts and systems.

  5. Install the latch screws (1).
  6. Tighten
    Tighten the screws to 6 N·m (53 lb in).

  7. Install the seat back pad.

  8. Object Number: 520373  Size: SH
  9. Pull down the seat back trim.

  10. Object Number: 815411  Size: SH
  11. Install the trim staples (1).
  12. Install the J-retainer at the bottom of the seat back.
  13. Install the fold-down seat back on the seat frame.
  14. Install the seat back. Refer to Rear Seat Back Replacement .