GM Service Manual Online
For 1990-2009 cars only
Makes
🢒
Oldsmobile
🢒
2002
🢒
Intrigue
🢒
Body and Accessories
🢒
Wipers/Washer Systems
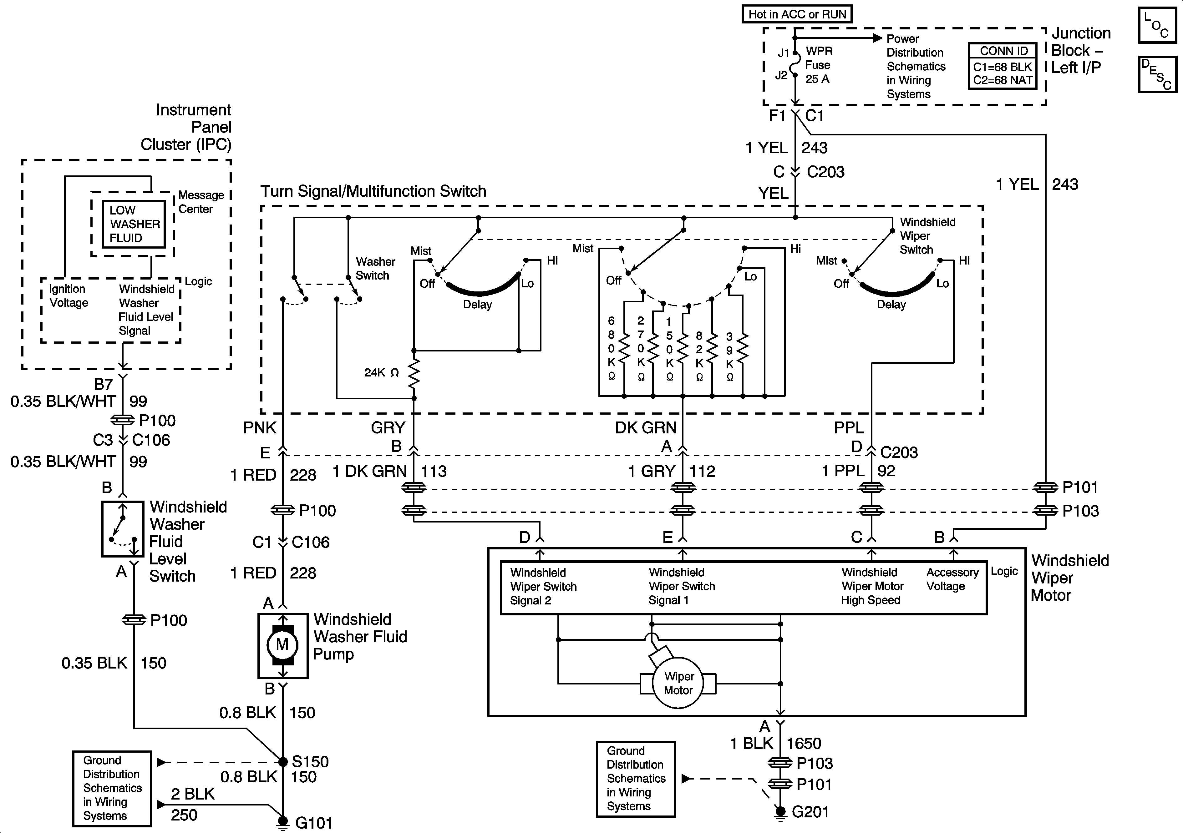
🢒 Wiper/Washer Schematics
Master Electrical Component List
Wiper/Washer System Description and Operation
POWER DROP, and WIPER Fuses, PWR WINDOWS/PWR SUNROOF Circuit Breakers
G100, G101, G110
G113, G117, G119)