| Table 1: | Left Cylinder Head Camshaft Cover Face |
| Table 2: | Left Cylinder Head Front Face |
| Table 3: | Left Cylinder Head Intake Face |
| Table 4: | Left Cylinder Head Exhaust Face |
| Table 5: | Left Cylinder Head Exhaust Face with A.I.R. |
| Table 6: | Left Cylinder Head Rear Face |
| Table 7: | Right Cylinder Head Camshaft Cover Face |
| Table 8: | Right Cylinder Head Front Face |
| Table 9: | Right Cylinder Head Intake Face |
| Table 10: | Right Cylinder Head Exhaust Face |
| Table 11: | Right Cylinder Head Exhaust Face with A.I.R. |
| Table 12: | Right Cylinder Head Rear Face |
| Table 13: | Engine Block Front |
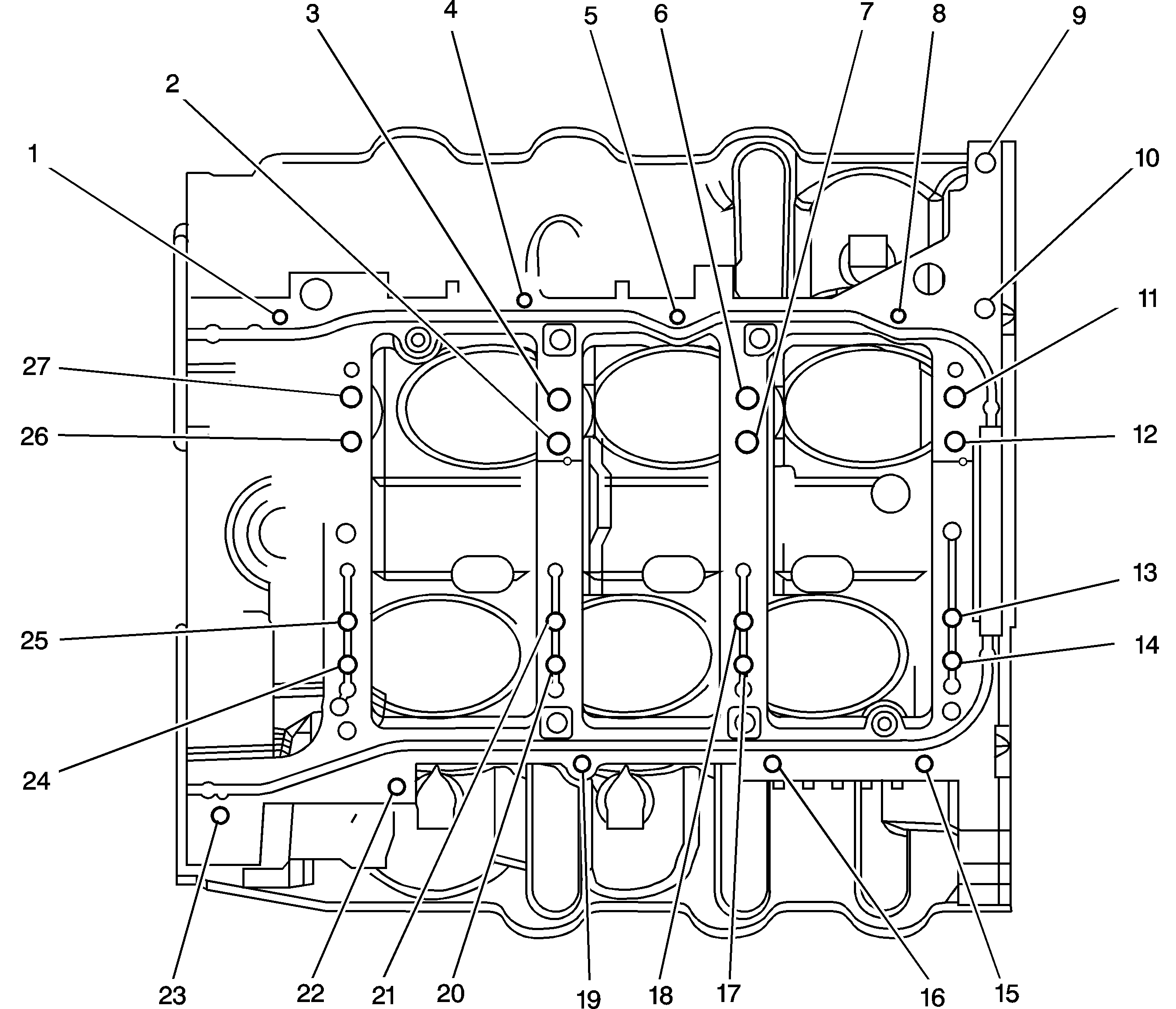
| Table 14: | Engine Block Left Side |
| Table 15: | Engine Block Right Side |
| Table 16: | Engine Block Rear |
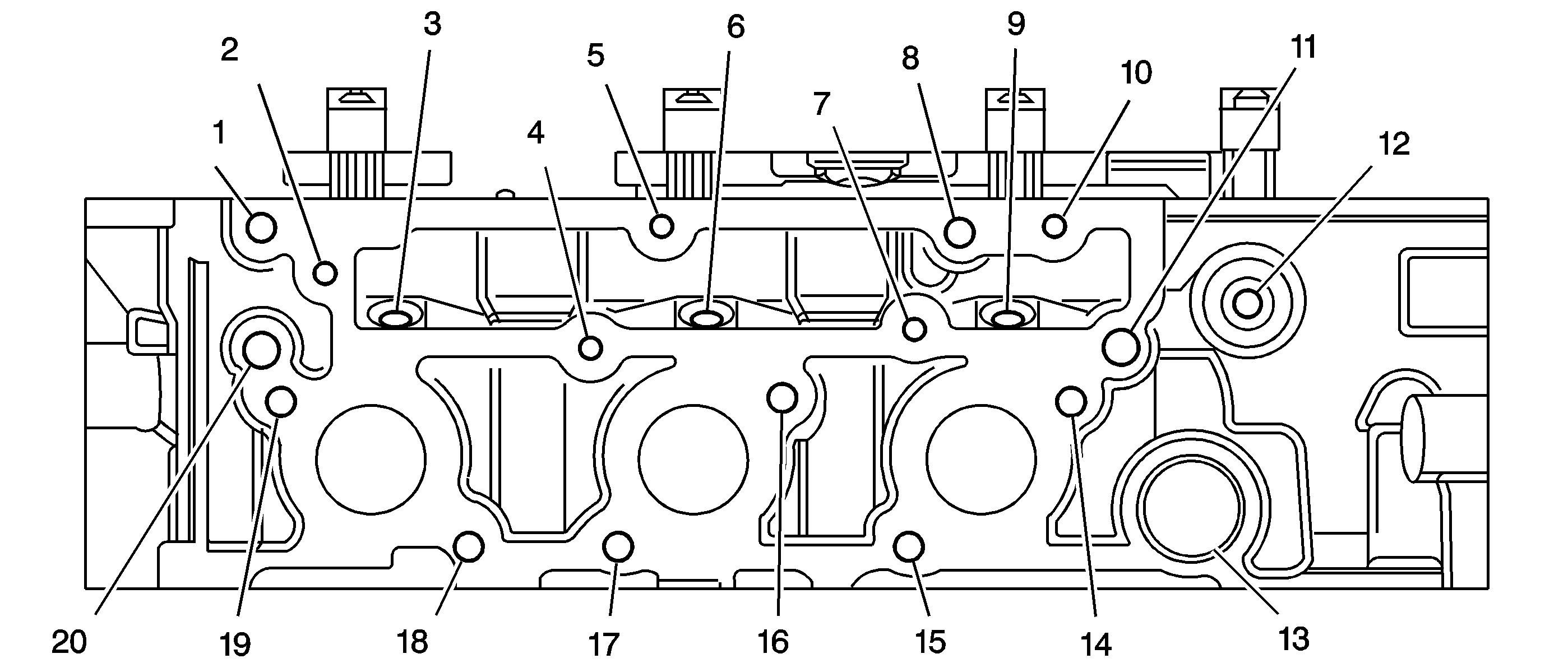
| Table 17: | Engine Block Top |
| Table 18: | Engine Block Left Deck Face |
| Table 19: | Engine Block Right Deck Face |
| Table 20: | Engine Block Lower Face |
| Table 21: | Lower Crankcase Pan Face |
Hole Location | Thread Size | Drill | Counter Bore Tool | Stop Collar | Tap | Driver | Insert | Drill Depth (Maximum) | Tap Depth (Minimum) | Engineering Number | ||
|---|---|---|---|---|---|---|---|---|---|---|---|---|
J 42385- | MM | (IN) | MM | (IN) | ||||||||
1 | M6 x 1.0 | 201 | 202 | N/R | 203 | 204 | 205 | 22 | 0.866 | 18 | 0.709 | CF 222 |
2 | M6 x 1.0 | 608 | N/R | N/R | 203 | 204 | 205 | 28 | 1.102 | 24 | 0.945 | CF 240 |
3 | M6 x 1.0 | 201 | 202 | N/R | 203 | 204 | 205 | THRU | THRU | CF 225 | ||
4 | M6 x 1.0 | 608 | N/R | N/R | 203 | 204 | 205 | 28 | 1.102 | 24 | 0.945 | CF 245 |
5 | M6 x 1.0 | 608 | N/R | N/R | 203 | 204 | 205 | 28 | 1.102 | 24 | 0.945 | CF 244 |
6 | M6 x 1.0 | 608 | N/R | N/R | 203 | 204 | 205 | 28 | 1.102 | 24 | 0.945 | CF 249 |
7 | M6 x 1.0 | 608 | N/R | N/R | 203 | 204 | 205 | 28 | 1.102 | 24 | 0.945 | CF 248 |
8 | M6 x 1.0 | 201 | 202 | N/R | 203 | 204 | 205 | THRU | THRU | CF 223 | ||
9 | M6 x 1.0 | 608 | N/R | N/R | 203 | 204 | 205 | 28 | 1.102 | 24 | 0.945 | CF 253 |
10 | M6 x 1.0 | 608 | N/R | N/R | 203 | 204 | 205 | 28 | 1.102 | 24 | 0.945 | CF 252 |
11 | M6 x 1.0 | 201 | 202 | N/R | 203 | 204 | 205 | THRU | THRU | CF 220 | ||
12 | M6 x 1.0 | 608 | N/R | N/R | 203 | 204 | 205 | 28 | 1.102 | 24 | 0.945 | CF 254 |
13 | M6 x 1.0 | 608 | N/R | N/R | 203 | 204 | 205 | 28 | 1.102 | 24 | 0.945 | CF 255 |
14 | M6 x 1.0 | 201 | 202 | N/R | 203 | 204 | 205 | 22 | 0.866 | 18 | 0.709 | CF 224 |
15 | M6 x 1.0 | 608 | N/R | N/R | 203 | 204 | 205 | 28 | 1.102 | 24 | 0.945 | CF 250 |
16 | M6 x 1.0 | 608 | N/R | N/R | 203 | 204 | 205 | 28 | 1.102 | 24 | 0.945 | CF 251 |
17 | M6 x 1.0 | 608 | N/R | N/R | 203 | 204 | 205 | 28 | 1.102 | 24 | 0.945 | CF 246 |
18 | M6 x 1.0 | 608 | N/R | N/R | 203 | 204 | 205 | 28 | 1.102 | 24 | 0.945 | CF 247 |
19 | M6 x 1.0 | 201 | 202 | N/R | 203 | 204 | 205 | 22 | 0.866 | 18 | 0.709 | CF 226 |
20 | M6 x 1.0 | 608 | N/R | N/R | 203 | 204 | 205 | 28 | 1.102 | 24 | 0.945 | CF 241 |
21 | M6 x 1.0 | 201 | 202 | N/R | 203 | 204 | 205 | THRU | THRU | CF 201 | ||
22 | M6 x 1.0 | 608 | N/R | N/R | 203 | 204 | 205 | 28 | 1.102 | 24 | 0.945 | CF 242 |
23 | M6 x 1.0 | 608 | N/R | N/R | 203 | 204 | 205 | 28 | 1.102 | 24 | 0.945 | CF 243 |
24 | M6 x 1.0 | 201 | 202 | N/R | 203 | 204 | 205 | THRU | THRU | CF 200 | ||
25 | M6 x 1.0 | 201 | 202 | N/R | 203 | 204 | 205 | 22 | 0.866 | 18 | 0.709 | CF 221 |
Hole Location | Thread Size | Drill | Counter Bore Tool | Stop Collar | Tap | Driver | Insert | Drill Depth (Maximum) | Tap Depth (Minimum) | Engineering Number | ||
|---|---|---|---|---|---|---|---|---|---|---|---|---|
J 42385- | MM | (IN) | MM | (IN) | ||||||||
1 | M10 x 1.5 | 211 | 212 | N/R | 213 | 214 | 215 | THRU | 26 | 1.024 | FF 203 | |
2 | No Service - Manufacturing Use Only | N/A | ||||||||||
3 | M8 x 1.25 | 610 | N/R | 619 | 208 | 209 | 620 | THRU | THRU | FF 201 | ||
4 | M6 x 1.0 | 201 | 202 | N/R | 203 | 204 | 205 | 22 | 0.866 | 18 | 0.709 | FF 208 |
5 | M10 x 1.5 | 211 | 212 | N/R | 213 | 214 | 215 | THRU | 26 | 1.024 | FF 206 | |
6 | M6 x 1.0 | 201 | 202 | N/R | 203 | 204 | 205 | 22 | 0.866 | 18 | 0.709 | FF 209 |
7 | M10 x 1.5 | 211 | 212 | N/R | 213 | 214 | 215 | THRU | 26 | 1.024 | FF 205 | |
8 | No Service - Manufacturing Use Only | N/A | ||||||||||
9 | M8 x 1.25 | 610 | N/R | 619 | 208 | 209 | 620 | 27 | 1.063 | 22 | 0.866 | FF 200 |
10 | M8 x 1.25 | 206 | 207 | N/R | 208 | 209 | 210 | 27 | 1.063 | 22 | 0.866 | FF 204 |
Hole Location | Thread Size | Drill | Counter Bore Tool | Stop Collar | Tap | Driver | Insert | Drill Depth (Maximum) | Tap Depth (Minimum) | Engineering Number | ||
|---|---|---|---|---|---|---|---|---|---|---|---|---|
J 42385- | MM | (IN) | MM | (IN) | ||||||||
1 | M6 x 1.0 | 201 | 202 | N/R | 203 | 204 | 205 | 22 | 0.866 | 18 | 0.709 | IF 204 |
2 | M6 x 1.0 | 201 | 202 | N/R | 203 | 204 | 205 | 22 | 0.866 | 18 | 0.709 | IF 203 |
3 | M6 x 1.0 | 201 | 202 | N/R | 203 | 204 | 205 | 22 | 0.866 | 18 | 0.709 | IF 202 |
4 | M6 x 1.0 | 201 | 202 | N/R | 203 | 204 | 205 | 22 | 0.866 | 18 | 0.709 | IF 201 |
Hole Location | Thread Size | Drill | Counter Bore Tool | Stop Collar | Tap | Driver | Insert | Drill Depth (Maximum) | Tap Depth (Minimum) | Engineering Number | ||
|---|---|---|---|---|---|---|---|---|---|---|---|---|
J 42385- | MM | (IN) | MM | (IN) | ||||||||
1 | M10 x 1.5 | 211 | 212 | N/A | 213 | 214 | 215 | 32 | 1.250 | 26 | 1.024 | EF 220 |
2 | M16 x 1.5 | No Service Tools Available | 22 | 0.866 | 16 | 0.630 | EF 200 | |||||
3 | M10 x 1.5 | 211 | 212 | N/A | 213 | 214 | 215 | 32 | 1.250 | 26 | 1.024 | EF 221 |
4 | M8 Bore | No Service - Not Threaded | 8 | 0.315 | N/A | EF 234 | ||||||
5 | M8 x 1.25 | 206 | 207 | N/A | 208 | 209 | 210 | 27 | 1.063 | 22 | 0.866 | EF 209 |
6 | M6 x 1.0 | 201 | 202 | N/A | 203 | 204 | 205 | 22 | 0.866 | 18 | 0.709 | EF 227 |
7 | M8 Bore | No Service - Not Threaded | 8 | 0.315 | N/A | EF 233 | ||||||
8 | M10 Bore | No Service - Not Threaded | 10.7 | 0.421 | N/A | EF 242 | ||||||
9 | M6 x 1.0 | 201 | 202 | N/A | 203 | 204 | 205 | 22 | 0.866 | 18 | 0.709 | EF 240 |
10 | M8 x 1.25 | 206 | 207 | N/A | 208 | 209 | 210 | 27 | 1.063 | 22 | 0.866 | EF 215 |
11 | M8 x 1.25 | 206 | 207 | N/A | 208 | 209 | 210 | 27 | 1.063 | 22 | 0.866 | EF 214 |
12 | M8 x 1.25 | 206 | 207 | N/A | 208 | 209 | 210 | 27 | 1.063 | 22 | 0.866 | EF 213 |
13 | M8 x 1.25 | 206 | 207 | N/A | 208 | 209 | 210 | 27 | 1.063 | 22 | 0.866 | EF 212 |
14 | M8 x 1.25 | 206 | 207 | N/A | 208 | 209 | 210 | 27 | 1.063 | 22 | 0.866 | EF 208 |
15 | M10 Bore | No Service - Not Threaded | 10.7 | 0.421 | N/A | EF 243 | ||||||
Hole Location | Thread Size | Drill | Counter Bore Tool | Stop Collar | Tap | Driver | Insert | Drill Depth (Maximum) | Tap Depth (Minimum) | Engineering Number | ||
|---|---|---|---|---|---|---|---|---|---|---|---|---|
J 42385- | MM | (IN) | MM | (IN) | ||||||||
1 | M10 x 1.5 | 211 | 212 | N/A | 213 | 214 | 215 | 32 | 1.260 | 26 | 1.024 | EF 220 |
2 | M16 x 1.5 | No Service - Not Threaded | 22 | 0.866 | 16 | 0.630 | EF 200 | |||||
3 | M10 x 1.5 | 211 | 212 | N/A | 213 | 214 | 215 | 32 | 1.260 | 26 | 1.024 | EF 221 |
4 | M8 Bore | No Service - Not Threaded | 8 | 0.315 | N/A | EF 234 | ||||||
5 | M6 x 1.0 | 201 | 202 | N/A | 203 | 204 | 205 | 22 | 0.866 | 18 | 0.709 | EF 229 |
6 | M8 Bore | No Service - Not Threaded | 51.4 | 2.024 | N/A | EF 232 | ||||||
7 | M6 x 1.0 | 201 | 202 | N/A | 203 | 204 | 205 | 22 | 0.866 | 18 | 0.709 | EF 228 |
8 | M6 x 1.0 | 201 | 202 | N/A | 203 | 204 | 205 | 22 | 0.866 | 18 | 0.709 | EF 227 |
9 | M8 Bore | No Service - Not Threaded | 51.4 | 2.024 | N/A | EF 231 | ||||||
10 | M6 x 1.0 | 201 | 202 | N/A | 203 | 204 | 205 | 22 | 0.866 | 18 | 0.709 | EF 226 |
11 | M8 Bore | No Service - Not Threaded | 8 | 0.315 | N/A | EF 233 | ||||||
12 | M8 Bore | No Service - Not Threaded | 51.4 | 2.024 | N/A | EF 230 | ||||||
13 | M6 x 1.0 | 201 | 202 | N/A | 203 | 204 | 205 | 22 | 0.866 | 18 | 0.709 | EF 225 |
14 | M10 Bore | No Service - Not Threaded | 10.7 | 0.421 | N/A | EF 242 | ||||||
15 | M6 x 1.0 | 201 | 202 | N/A | 203 | 204 | 205 | 22 | 0.866 | 18 | 0.709 | EF 240 |
16 | M8 x 1.25 | 206 | 207 | N/A | 208 | 209 | 210 | 27 | 1.063 | 22 | 0.866 | EF 215 |
17 | M8 x 1.25 | 206 | 207 | N/A | 208 | 209 | 210 | 27 | 1.063 | 22 | 0.866 | EF 214 |
18 | M8 x 1.25 | 206 | 207 | N/A | 208 | 209 | 210 | 27 | 1.063 | 22 | 0.866 | EF 213 |
19 | M8 x 1.25 | 206 | 207 | N/A | 208 | 209 | 210 | 27 | 1.063 | 22 | 0.866 | EF 212 |
20 | M8 x 1.25 | 206 | 207 | N/A | 208 | 209 | 210 | 27 | 1.063 | 22 | 0.866 | EF 209 |
21 | M8 x 1.25 | 206 | 207 | N/A | 208 | 209 | 210 | 27 | 1.063 | 22 | 0.866 | EF 208 |
22 | M10 Bore | No Service - Not Threaded | 10.7 | 0.421 | N/A | EF 243 | ||||||
Hole Location | Thread Size | Drill | Counter Bore Tool | Stop Collar | Tap | Driver | Insert | Drill Depth (Maximum) | Tap Depth (Minimum) | Engineering Number | ||
|---|---|---|---|---|---|---|---|---|---|---|---|---|
J 42385- | MM | (IN) | MM | (IN) | ||||||||
1 | M10 x 1.5 | 211 | 212 | N/A | 213 | 214 | 215 | 32 | 1.260 | 26 | 1.024 | RF 211 |
2 | M16 x 1.5 | No Service Tools Available | 22 | 0.866 | 16 | 0.630 | RF 202 | |||||
3 | M10 x 1.5 | 211 | 212 | N/A | 213 | 214 | 215 | 32 | 1.260 | 26 | 1.024 | RF 212 |
4 | No Service - Manufacturing Use Only | |||||||||||
5 | M16 x 1.5 | No Service Tools Available | 22 | 0.866 | 16 | 0.630 | RF 201 | |||||
6 | M10 x 1.5 | 211 | 212 | N/A | 213 | 214 | 215 | 32 | 1.260 | 26 | 1.024 | RF 210 |
7 | M8 x 1.25 | 206 | 207 | N/A | 208 | 209 | 210 | 27 | 1.063 | 22 | 0.866 | RF 205 |
8 | M8 x 1.25 | 206 | 207 | N/A | 208 | 209 | 210 | 27 | 1.063 | 22 | 0.866 | RF 206 |
9 | M8 x 1.25 | 206 | 207 | N/A | 208 | 209 | 210 | 27 | 1.063 | 22 | 0.866 | RF 207 |
10 | M8 x 1.25 | 206 | 207 | N/A | 208 | 209 | 210 | 27 | 1.063 | 22 | 0.866 | RF 208 |
11 | No Service - Manufacturing Use Only | |||||||||||
12 | M31.84 Bore | No Service - Not Threaded | THRU | N/A | RF 203 | |||||||
13 | M10 x 1.5 | 211 | 212 | N/A | 213 | 214 | 215 | 32 | 1.260 | 26 | 1.024 | RF 209 |
Hole Location | Thread Size | Drill | Counter Bore Tool | Stop Collar | Tap | Driver | Insert | Drill Depth (Maximum) | Tap Depth (Minimum) | Engineering Number | ||
|---|---|---|---|---|---|---|---|---|---|---|---|---|
J 42385- | MM | (IN) | MM | (IN) | ||||||||
1 | M6 x 1.0 | 608 | N/A | N/A | 203 | 204 | 205 | 28 | 1.102 | 24 | 0.945 | CF 244 |
2 | M6 x 1.0 | 608 | N/A | N/A | 203 | 204 | 205 | 28 | 1.102 | 24 | 0.945 | CF 245 |
3 | M6 x 1.0 | 201 | 202 | N/A | 203 | 204 | 205 | THRU | THRU | CF 207 | ||
4 | M6 x 1.0 | 608 | N/A | N/A | 203 | 204 | 205 | 28 | 1.102 | 24 | 0.945 | CF 248 |
5 | M6 x 1.0 | 608 | N/A | N/A | 203 | 204 | 205 | 28 | 1.102 | 24 | 0.945 | CF 249 |
6 | M6 x 1.0 | 608 | N/A | N/A | 203 | 204 | 205 | 28 | 1.102 | 24 | 0.945 | CF 252 |
7 | M6 x 1.0 | 608 | N/A | N/A | 203 | 204 | 205 | 28 | 1.102 | 24 | 0.945 | CF 253 |
8 | M6 x 1.0 | 201 | 202 | N/A | 203 | 204 | 205 | THRU | THRU | CF 206 | ||
9 | M6 x 1.0 | 201 | 202 | N/A | 203 | 204 | 205 | 22 | 0.866 | 18 | 0.709 | CF 228 |
10 | M6 x 1.0 | 608 | N/A | N/A | 203 | 204 | 205 | 28 | 1.102 | 24 | 0.945 | CF 256 |
11 | M6 x 1.0 | 608 | N/A | N/A | 203 | 204 | 205 | 28 | 1.102 | 24 | 0.945 | CF 257 |
12 | M6 x 1.0 | 201 | 202 | N/A | 203 | 204 | 205 | THRU | THRU | CF 202 | ||
13 | M6 x 1.0 | 201 | 202 | N/A | 203 | 204 | 205 | THRU | THRU | CF 203 | ||
14 | M6 x 1.0 | 608 | N/A | N/A | 203 | 204 | 205 | 28 | 1.102 | 24 | 0.945 | CF 258 |
15 | M6 x 1.0 | 201 | 202 | N/A | 203 | 204 | 205 | 22 | 0.866 | 18 | 0.709 | CF 229 |
16 | M6 x 1.0 | 608 | N/A | N/A | 203 | 204 | 205 | 28 | 1.102 | 24 | 0.945 | CF 259 |
17 | M6 x 1.0 | 608 | N/A | N/A | 203 | 204 | 205 | 28 | 1.102 | 24 | 0.945 | CF 254 |
18 | M6 x 1.0 | 608 | N/A | N/A | 203 | 204 | 205 | 28 | 1.102 | 24 | 0.945 | CF 255 |
19 | M6 x 1.0 | 201 | 202 | N/A | 203 | 204 | 205 | 22 | 0.866 | 18 | 0.709 | CF 224 |
20 | M6 x 1.0 | 608 | N/A | N/A | 203 | 204 | 205 | 28 | 1.102 | 24 | 0.945 | CF 250 |
21 | M6 x 1.0 | 608 | N/A | N/A | 203 | 204 | 205 | 28 | 1.102 | 24 | 0.945 | CF 251 |
22 | M6 x 1.0 | 608 | N/A | N/A | 203 | 204 | 205 | 28 | 1.102 | 24 | 0.945 | CF 246 |
23 | M6 x 1.0 | 608 | N/A | N/A | 203 | 204 | 205 | 28 | 1.102 | 24 | 0.945 | CF 247 |
24 | M6 x 1.0 | 201 | 202 | N/A | 203 | 204 | 205 | 22 | 0.866 | 18 | 0.709 | CF 226 |
25 | M6 x 1.0 | 201 | 202 | N/A | 203 | 204 | 205 | THRU | THRU | CF 227 | ||
Hole Location | Thread Size | Drill | Counter Bore Tool | Stop Collar | Tap | Driver | Insert | Drill Depth (Maximum) | Tap Depth (Minimum) | Engineering Number | ||
|---|---|---|---|---|---|---|---|---|---|---|---|---|
J 42385- | MM | (IN) | MM | (IN) | ||||||||
1 | M10 x 1.5 | 211 | 212 | N/A | 213 | 214 | 215 | 27 | 1.063 | 22 | 0.866 | FF 225 |
2 | No Service - Manufacturing Use Only | |||||||||||
3 | No Service - Manufacturing Use Only | |||||||||||
4 | M23.6 Bore | No Service - Not Threaded | THRU | N/A | FF 222 | |||||||
5 | M6 x 1.0 | 201 | 202 | N/A | 203 | 204 | 205 | THRU | THRU | FF 223 | ||
6 | M10 x 1.5 | 211 | 212 | N/A | 213 | 214 | 215 | 32 | 1.260 | 26 | 1.024 | FF 224 |
7 | M8 x 1.25 | 206 | 207 | N/A | 208 | 209 | 210 | 27 | 1.063 | 22 | 0.866 | FF 228 |
8 | M8 x 1.25 | 610 | N/A | 619 | 208 | 209 | 620 | THRU | 22 | 0.866 | FF 220 | |
9 | M8 x 1.25 | 610 | N/A | 619 | 208 | 209 | 620 | THRU | 22 | 0.866 | FF 221 | |
10 | M14.68 Bore | No Service - Not Threaded | 8.8 | 0.346 | N/A | FF 227 | ||||||
11 | M10 x 1.5 | 211 | 212 | N/A | 213 | 214 | 215 | THRU | 26 | 1.024 | FF 226 | |
12 | M10 x 1.5 | 211 | 212 | N/A | 213 | 214 | 215 | 27 | 1.063 | 22 | 0.866 | FF 229 |
Hole Location | Thread Size | Drill | Counter Bore Tool | Stop Collar | Tap | Driver | Insert | Drill Depth (Maximum) | Tap Depth (Minimum) | Engineering Number | ||
|---|---|---|---|---|---|---|---|---|---|---|---|---|
J 42385- | MM | (IN) | MM | (IN) | ||||||||
1 | M6 x 1.0 | 201 | 202 | N/R | 203 | 204 | 205 | 22 | 0.866 | 18 | 0.709 | IF 204 |
2 | M6 x 1.0 | 201 | 202 | N/R | 203 | 204 | 205 | 22 | 0.866 | 18 | 0.709 | IF 203 |
3 | M6 x 1.0 | 201 | 202 | N/R | 203 | 204 | 205 | 22 | 0.866 | 18 | 0.709 | IF 202 |
4 | M6 x 1.0 | 201 | 202 | N/R | 203 | 204 | 205 | 22 | 0.866 | 18 | 0.709 | IF 201 |
Hole Location | Thread Size | Drill | Counter Bore Tool | Stop Collar | Tap | Driver | Insert | Drill Depth (Maximum) | Tap Depth (Minimum) | Engineering Number | ||
|---|---|---|---|---|---|---|---|---|---|---|---|---|
J 42385- | MM | (IN) | MM | (IN) | ||||||||
1 | M8 Bore | No Service - Not Threaded | 8 | 0.315 | N/A | EF 234 | ||||||
2 | M8 Bore | No Service - Not Threaded | 8 | 0.315 | N/A | EF 233 | ||||||
3 | M10 Bore | No Service - Not Threaded | 10.7 | 0.421 | N/A | EF 242 | ||||||
4 | M16 x 1.5 | No Service Tools Available | 22 | 0.866 | 16 | 0.630 | EF 201 | |||||
5 | M31.84 Bore | No Service - Not Threaded | THRU | N/A | EF 203 | |||||||
6 | M8 x 1.25 | 206 | 207 | N/A | 208 | 209 | 210 | 27 | 1.063 | 22 | 0.866 | EF 215 |
7 | M8 x 1.25 | 206 | 207 | N/A | 208 | 209 | 210 | 27 | 1.063 | 22 | 0.866 | EF 214 |
8 | M8 x 1.25 | 206 | 207 | N/A | 208 | 209 | 210 | 27 | 1.063 | 22 | 0.866 | EF 213 |
9 | M8 x 1.25 | 206 | 207 | N/A | 208 | 209 | 210 | 27 | 1.063 | 22 | 0.866 | EF 212 |
10 | M8 x 1.25 | 206 | 207 | N/A | 208 | 209 | 210 | 27 | 1.063 | 22 | 0.866 | EF 211 |
11 | M8 x 1.25 | 206 | 207 | N/A | 208 | 209 | 210 | 27 | 1.063 | 22 | 0.866 | EF 210 |
12 | M10 Bore | No Service - Not Threaded | 10.7 | 0.421 | N/A | EF 243 | ||||||
Hole Location | Thread Size | Drill | Counter Bore Tool | Stop Collar | Tap | Driver | Insert | Drill Depth (Maximum) | Tap Depth (Minimum) | Engineering Number | ||
|---|---|---|---|---|---|---|---|---|---|---|---|---|
J 42385- | MM | (IN) | MM | (IN) | ||||||||
1 | M8 Bore | No Service - Not Threaded | 8 | 0.315 | N/A | EF 234 | ||||||
2 | M6 x 1.0 | 201 | 202 | N/A | 203 | 204 | 205 | 22 | 0.866 | 18 | 0.709 | EF 229 |
3 | M8 Bore | No Service - Not Threaded | 51.4 | 2.024 | N/A | EF 232 | ||||||
4 | M6 x 1.0 | 201 | 202 | N/A | 203 | 204 | 205 | 22 | 0.866 | 18 | 0.709 | EF 228 |
5 | M6 x 1.0 | 201 | 202 | N/A | 203 | 204 | 205 | 22 | 0.866 | 18 | 0.709 | EF 227 |
6 | M8 Bore | No Service - Not Threaded | 51.4 | 2.024 | N/A | EF 231 | ||||||
7 | M6 x 1.0 | 201 | 202 | N/A | 203 | 204 | 205 | 22 | 0.866 | 18 | 0.709 | EF 226 |
8 | M8 Bore | No Service - Not Threaded | 8 | 0.315 | N/A | EF 233 | ||||||
9 | M8 Bore | No Service - Not Threaded | 51.4 | 2.024 | N/A | EF 230 | ||||||
10 | M6 x 1.0 | 201 | 202 | N/A | 203 | 204 | 205 | 22 | 0.866 | 18 | 0.709 | EF 225 |
11 | M10 Bore | No Service - Not Threaded | 10.7 | 0.421 | N/A | EF 242 | ||||||
12 | M16 x 1.5 | No Service Tools Available | 22 | 0.866 | 16 | 0.630 | EF 201 | |||||
13 | M31.84 Bore | No Service - Not Threaded | THRU | N/A | EF 203 | |||||||
14 | M8 x 1.25 | 206 | 207 | N/A | 208 | 209 | 210 | 27 | 1.063 | 22 | 0.866 | EF 215 |
15 | M8 x 1.25 | 206 | 207 | N/A | 208 | 209 | 210 | 27 | 1.063 | 22 | 0.866 | EF 214 |
16 | M8 x 1.25 | 206 | 207 | N/A | 208 | 209 | 210 | 27 | 1.063 | 22 | 0.866 | EF 213 |
17 | M8 x 1.25 | 206 | 207 | N/A | 208 | 209 | 210 | 27 | 1.063 | 22 | 0.866 | EF 212 |
18 | M8 x 1.25 | 206 | 207 | N/A | 208 | 209 | 210 | 27 | 1.063 | 22 | 0.866 | EF 211 |
19 | M8 x 1.25 | 206 | 207 | N/A | 208 | 209 | 210 | 27 | 1.063 | 22 | 0.866 | EF 210 |
20 | M10 Bore | No Service - Not Threaded | 10.7 | 0.421 | N/A | EF 243 | ||||||
Hole Location | Thread Size | Drill | Counter Bore Tool | Stop Collar | Tap | Driver | Insert | Drill Depth (Maximum) | Tap Depth (Minimum) | Engineering Number | ||
|---|---|---|---|---|---|---|---|---|---|---|---|---|
J 42385- | MM | (IN) | MM | (IN) | ||||||||
1 | M8 x 1.25 | 206 | 207 | N/A | 208 | 29 | 210 | 27 | 1.063 | 22 | 0.866 | RF 216 |
2 | M16 x 1.5 | No Service Tools Available | 22 | 0.866 | 16 | 0.630 | RF 220 | |||||
3 | No Service - Manufacturing Use Only | |||||||||||
4 | M16 x 1.5 | No Service Tools Available | 22 | 0.866 | 16 | 0.630 | RF 221 | |||||
5 | M10 x 1.5 | 211 | 212 | N/A | 213 | 214 | 215 | 32 | 1.260 | 26 | 1.024 | RF 218 |
6 | 3/8-18 NPSF | No Service Tools Available | THRU | N/A | RF 222 | |||||||
7 | M31.84 Bore | No Service - Not Threaded | THRU | N/A | RF 219 | |||||||
8 | No Service - Manufacturing Use Only | |||||||||||
9 | M8 x 1.25 | 206 | 207 | N/A | 208 | 29 | 210 | 27 | 1.063 | 22 | 0.866 | RF 215 |
10 | M8 x 1.25 | 206 | 207 | N/A | 208 | 29 | 210 | 27 | 1.063 | 22 | 0.866 | RF 214 |
Hole Location | Thread Size | Drill | Counter Bore Tool | Stop Collar | Tap | Driver | Insert | Drill Depth (Maximum) | Tap Depth (Minimum) | Engineering Number | ||
|---|---|---|---|---|---|---|---|---|---|---|---|---|
J 42385- | MM | (IN) | MM | (IN) | ||||||||
1 | M6 x 1.0 | 201 | 202 | N/R | 203 | 204 | 205 | 24 | 0.945 | 20 | 0.787 | 105 |
2 | M8 x 1.25 | 206 | 207 | N/R | 208 | 209 | 210 | 27 | 1.063 | 22 | 0.866 | 123 |
3 | M6 x 1.0 | 210 | 202 | N/R | 203 | 204 | 205 | THRU | THRU | 116 | ||
4 | M8 x 1.25 | 206 | 207 | N/R | 208 | 209 | 210 | 25 | 0.984 | 20 | 0.787 | 121 |
5 | M6 x 1.0 | 201 | 202 | N/R | 203 | 204 | 205 | 24 | 0.945 | 20 | 0.787 | 106 |
6 | M8 x 1.25 | 206 | 207 | N/R | 208 | 209 | 210 | THRU | THRU | 138 | ||
7 | M8 x 1.25 | 206 | 207 | N/R | 208 | 209 | 210 | THRU | THRU | 139 | ||
8 | M6 x 1.0 | 201 | 202 | N/R | 203 | 204 | 205 | 24 | 0.945 | 20 | 0.787 | 107 |
9 | M8 x 1.25 | 206 | 207 | N/R | 208 | 209 | 210 | 25 | 0.984 | 20 | 0.787 | 122 |
10 | M6 x 1.0 | 201 | 202 | N/R | 203 | 204 | 205 | THRU | THRU | 117 | ||
11 | M8 x 1.25 | 206 | 207 | N/R | 208 | 209 | 210 | 27 | 1.063 | 22 | 0.866 | 124 |
12 | M6 x 1.0 | 201 | 202 | N/R | 203 | 204 | 205 | 25 | 0.984 | 21 | 0.827 | 141 |
13 | M6 x 1.0 | 201 | 202 | N/R | 203 | 204 | 205 | 24 | 0.945 | 20 | 0.787 | 108 |
14 | M6 x 1.0 | 201 | 202 | N/R | 203 | 204 | 205 | 24 | 0.945 | 20 | 0.787 | 109 |
15 | M10 x 1.5 | 211 | 212 | N/R | 213 | 214 | 215 | THRU | 30 | 1.181 | 136 | |
16 | M6 x 1.0 | 201 | 202 | N/R | 203 | 204 | 205 | 24 | 0.945 | 20 | 0.787 | 110 |
17 | 5.96 M Bore | No Service - Not Threaded | 9 | 0.354 | N/A | 102 | ||||||
18 | M8 x 1.25 | 206 | 207 | N/R | 208 | 209 | 210 | 25 | 0.984 | 20 | 0.787 | 132 |
19 | M8 x 1.25 | 206 | 207 | N/R | 208 | 209 | 210 | THRU | 24 | 0.945 | 126 | |
20 | M6 x 1.0 | 201 | 202 | N/R | 203 | 204 | 205 | 24 | 0.945 | 20 | 0.787 | 111 |
21 | M10 x 1.5 | 211 | 212 | N/R | 213 | 214 | 215 | 36.5 | 1.437 | 30 | 1.181 | 137 |
22 | M6 x 1.0 | 201 | 202 | N/R | 203 | 204 | 205 | 24 | 0.945 | 20 | 0.787 | 112 |
23 | M8 x 1.25 | 610 | N/R | 619 | 208 | 209 | 620 | 29 | 1.142 | 24 | 0.945 | 128 |
24 | M6 x 1.0 | 201 | 202 | N/R | 203 | 204 | 205 | 24 | 0.945 | 20 | 0.787 | 113 |
25 | 19.15 M Bore | No Service - Not Threaded | 8 | 0.315 | N/A | 134 | ||||||
26 | M6 x 1.0 | 201 | 202 | N/R | 203 | 204 | 205 | 24 | 0.945 | 20 | 0.787 | 114 |
27 | M8 x 1.25 | 610 | N/R | 619 | 208 | 209 | 620 | 29 | 1.142 | 24 | 0.945 | 129 |
28 | No Service - Not Threaded | N/A | 133 | |||||||||
29 | M8 x 1.25 | 610 | N/R | 619 | 208 | 209 | 620 | 29 | 1.142 | 24 | 0.945 | 127 |
30 | M6 x 1.0 | 201 | 202 | N/R | 203 | 204 | 205 | 24 | 0.945 | 20 | 0.787 | 115 |
31 | 5.96 M Bore | No Service - Not Threaded | 9 | 0.354 | N/A | 101 | ||||||
32 | M10 x 1.5 | 211 | 212 | N/R | 213 | 214 | 215 | 34.5 | 1.356 | 28.5 | 1.122 | 135 |
33 | M8 x 1.25 | 206 | 207 | N/R | 208 | 209 | 210 | 27 | 1.063 | 22 | 0.866 | 130 |
34 | M6 x 1.0 | 201 | 202 | N/R | 203 | 204 | 205 | 24 | 0.945 | 20 | 0.787 | 103 |
35 | M8 x 1.25 | 206 | 207 | N/R | 208 | 209 | 210 | 27 | 1.063 | 22 | 0.866 | 131 |
36 | M6 x 1.0 | 201 | 202 | N/R | 203 | 204 | 205 | 24 | 0.945 | 20 | 0.787 | 104 |
37 | M6 x 1.0 | 201 | 202 | N/R | 203 | 204 | 205 | 25 | 0.984 | 21 | 0.827 | 140 |
Hole Location | Thread Size | Drill | Counter Bore Tool | Stop Collar | Tap | Driver | Insert | Drill Depth (Maximum) | Tap Depth (Minimum) | Engineering Number | ||
|---|---|---|---|---|---|---|---|---|---|---|---|---|
J 42385- | MM | (IN) | MM | (IN) | ||||||||
1 | M10 x 1.5 | 211 | 212 | N/R | 213 | 214 | 215 | 37 | 1.457 | 29 | 1.142 | 606 |
2 | M10 x 1.5 | 511 | N/R | 606 | 213 | 214 | 215 | 39.5 | 1.555 | 33.5 | 1.319 | 602 |
3 | M10 x 1.5 | 511 | N/R | 606 | 213 | 214 | 215 | 39.5 | 1.555 | 33.5 | 1.319 | 603 |
4 | M8 x 1.25 | 610 | N/R | N/R | 208 | 209 | 620 | THRU | 25 | 0.984 | 613 | |
5 | M6 x 1.0 | 201 | 202 | N/R | 203 | 204 | 205 | 25 | 0.984 | 21 | 0.827 | 608 |
6 | M6 x 1.0 | 201 | 202 | N/R | 203 | 204 | 205 | 24 | 0.945 | 20 | 0.787 | 604 |
7 | M10 x 1.5 | 511 | N/R | 606 | 213 | 214 | 215 | 39.5 | 1.555 | 33.5 | 1.319 | 611 |
8 | M8 x 1.25 | 206 | 207 | N/R | 208 | 209 | 210 | 25 | 0.984 | 20 | 0.787 | 612 |
9 | M10 x 1.5 | 511 | N/R | 606 | 213 | 214 | 215 | 39.5 | 1.555 | 33.5 | 1.319 | 610 |
10 | M10 x 1.5 | 211 | 212 | N/R | 213 | 214 | 215 | 37 | 1.457 | 29 | 1.142 | 605 |
Hole Location | Thread Size | Drill | Counter Bore Tool | Stop Collar | Tap | Driver | Insert | Drill Depth (Maximum) | Tap Depth (Minimum) | Engineering Number | ||
|---|---|---|---|---|---|---|---|---|---|---|---|---|
J 42385- | MM | (IN) | MM | (IN) | ||||||||
1 | M6 x 1.0 | 201 | 202 | N/R | 203 | 204 | 205 | 25 | 0.984 | 21 | 0.827 | 507 |
2 | M8 x 1.25 | 610 | N/R | 611 | 208 | 209 | 620 | THRU | 25 | 0.984 | 506 | |
3 | M8 x 1.25 | 610 | N/R | 611 | 208 | 209 | 620 | 30 | 1.181 | 25 | 0.984 | 503 |
4 | M12 x 1.75 | No Service Tools Available | THRU | 16 | 0.630 | 508 | ||||||
5 | M10 x 1.5 | 211 | 212 | N/R | 213 | 214 | 215 | 33 | 1.299 | 27 | 1.063 | 505 |
6 | M10 x 1.5 | 211 | 212 | N/R | 213 | 214 | 215 | 31 | 1.221 | 27 | 1.063 | 504 |
7 | M10 x 1.5 | No Service Tools Available | 23 | 0.906 | 17 | 0.669 | 914 | |||||
Hole Location | Thread Size | Drill | Counter Bore Tool | Stop Collar | Tap | Driver | Insert | Drill Depth (Maximum) | Tap Depth (Minimum) | Engineering Number | ||
|---|---|---|---|---|---|---|---|---|---|---|---|---|
J 42385- | MM | (IN) | MM | (IN) | ||||||||
1 | M13 Bore | No Service - Not Threaded | N/A | 206 | ||||||||
2 | M10 x 1.5 | 211 | 212 | N/R | 213 | 214 | 215 | 32 | 1.260 | 26 | 1.024 | 203 |
3 | M10 x 1.5 | 211 | 212 | N/R | 213 | 214 | 215 | 32 | 1.260 | 26 | 1.024 | 204 |
4 | M10 x 1.5 | 211 | 212 | N/R | 213 | 214 | 215 | 37.6 | 1.480 | 34.6 | 1.362 | 201 |
5 | M13 Bore | No Service - Not Threaded | THRU | THRU | 205 | |||||||
6 | M20 x 1.5 | No Service Tools Available | 26 | 1.024 | 14 | 0.551 | 234 | |||||
7 | M10 x 1.5 | 211 | 212 | N/R | 213 | 214 | 215 | THRU | THRU | 202 | ||
Hole Location | Thread Size | Drill | Counter Bore Tool | Stop Collar | Tap | Driver | Insert | Drill Depth (Maximum) | Tap Depth (Minimum) | Engineering Number | ||
|---|---|---|---|---|---|---|---|---|---|---|---|---|
J 42385- | MM | (IN) | MM | (IN) | ||||||||
1 | M6 x 1.0 | 201 | 202 | N/R | 203 | 204 | 205 | 21 | 0.827 | 17 | 0.669 | 313 |
2 | M6 x 1.0 | 201 | 202 | N/R | 203 | 204 | 205 | 21 | 0.827 | 17 | 0.669 | 303 |
3 | M6 x 1.0 | 201 | 202 | N/R | 203 | 204 | 205 | 21 | 0.827 | 17 | 0.669 | 304 |
4 | M6 x 1.0 | 201 | 202 | N/R | 203 | 204 | 205 | 21 | 0.827 | 17 | 0.669 | 305 |
5 | M6 x 1.0 | 201 | 202 | N/R | 203 | 204 | 205 | 21 | 0.827 | 17 | 0.669 | 306 |
6 | M6 x 1.0 | 201 | 202 | N/R | 203 | 204 | 205 | 21 | 0.827 | 17 | 0.669 | 307 |
7 | M6 x 1.0 | 201 | 202 | N/R | 203 | 204 | 205 | 21 | 0.827 | 17 | 0.669 | 308 |
8 | M6 x 1.0 | 201 | 202 | N/R | 203 | 204 | 205 | 21 | 0.827 | 17 | 0.669 | 312 |
9 | M6 x 1.0 | 201 | 202 | N/R | 203 | 204 | 205 | 21 | 0.827 | 17 | 0.669 | 311 |
10 | M6 x 1.0 | 201 | 202 | N/R | 203 | 204 | 205 | 21 | 0.827 | 17 | 0.669 | 310 |
11 | M6 x 1.0 | 201 | 202 | N/R | 203 | 204 | 205 | 21 | 0.827 | 17 | 0.669 | 309 |
12 | M6 x 1.0 | 201 | 202 | N/R | 203 | 204 | 205 | 21 | 0.827 | 17 | 0.669 | 314 |
Hole Location | Thread Size | Drill | Counter Bore Tool | Stop Collar | Tap | Driver | Insert | Drill Depth (Maximum) | Tap Depth (Minimum) | Engineering Number | ||
|---|---|---|---|---|---|---|---|---|---|---|---|---|
J 42385- | MM | (IN) | MM | (IN) | ||||||||
1 | M6 x 1.0 | 608 | N/R | N/R | 203 | 204 | 205 | 30 | 1.181 | 25 | 0.984 | 811 |
2 | M6 x 1.0 | 608 | N/R | N/R | 203 | 204 | 205 | 30 | 1.181 | 25 | 0.984 | 810 |
3 | M11 x 1.5 | 601 | N/R | 605 | 602 | 603 | 507 | 83 | 3.268 | 77 | 3.032 | 801 |
4 | M11 x 1.5 | 601 | N/R | 605 | 602 | 603 | 507 | 83 | 3.268 | 77 | 3.032 | 803 |
5 | M11 x 1.5 | 601 | N/R | 605 | 602 | 603 | 507 | 83 | 3.268 | 77 | 3.032 | 804 |
6 | M11 x 1.5 | 601 | N/R | 605 | 602 | 603 | 507 | 83 | 3.268 | 77 | 3.032 | 802 |
7 | M11 x 1.5 | 601 | N/R | N/R | 602 | 603 | 507 | 102 | 4.016 | 96 | 3.780 | 808 |
8 | M11 x 1.5 | 601 | N/R | N/R | 602 | 603 | 507 | 102 | 4.016 | 96 | 3.780 | 807 |
9 | M11 x 1.5 | 601 | N/R | N/R | 602 | 603 | 507 | 102 | 4.016 | 96 | 3.780 | 806 |
10 | M11 x 1.5 | 601 | N/R | N/R | 602 | 603 | 507 | 102 | 4.016 | 96 | 3.780 | 805 |
11 | M6 x 1.0 | 608 | N/R | N/R | 203 | 204 | 205 | 30 | 1.181 | 25 | 0.984 | 809 |
Hole Location | Thread Size | Drill | Counter Bore Tool | Stop Collar | Tap | Driver | Insert | Drill Depth (Maximum) | Tap Depth (Minimum) | Engineering Number | ||
|---|---|---|---|---|---|---|---|---|---|---|---|---|
J 42385- | MM | (IN) | MM | (IN) | ||||||||
1 | M11 x 1.5 | 601 | N/R | 605 | 602 | 603 | 507 | 83 | 3.268 | 77 | 3.032 | 702 |
2 | M11 x 1.5 | 601 | N/R | 605 | 602 | 603 | 507 | 83 | 3.268 | 77 | 3.032 | 704 |
3 | M11 x 1.5 | 601 | N/R | 605 | 602 | 603 | 507 | 83 | 3.268 | 77 | 3.032 | 703 |
4 | M11 x 1.5 | 601 | N/R | 605 | 602 | 603 | 507 | 83 | 3.268 | 77 | 3.032 | 701 |
5 | M6 x 1.0 | 608 | N/R | N/R | 203 | 204 | 205 | 30 | 1.181 | 25 | 0.984 | 712 |
6 | M6 x 1.0 | 608 | N/R | N/R | 203 | 204 | 205 | 30 | 1.181 | 25 | 0.984 | 709 |
7 | M6 x 1.0 | 608 | N/R | N/R | 203 | 204 | 205 | 30 | 1.181 | 25 | 0.984 | 710 |
8 | M11 x 1.5 | 601 | N/R | N/R | 602 | 603 | 507 | 102 | 4.016 | 96 | 3.780 | 705 |
9 | M11 x 1.5 | 601 | N/R | N/R | 602 | 603 | 507 | 102 | 4.016 | 96 | 3.780 | 706 |
10 | M11 x 1.5 | 601 | N/R | N/R | 602 | 603 | 507 | 102 | 4.016 | 96 | 3.780 | 707 |
11 | M11 x 1.5 | 601 | N/R | N/R | 602 | 603 | 507 | 102 | 4.016 | 96 | 3.780 | 708 |
Hole Location | Thread Size | Drill | Counter Bore Tool | Stop Collar | Tap | Driver | Insert | Drill Depth (Maximum) | Tap Depth (Minimum) | Engineering Number | ||
|---|---|---|---|---|---|---|---|---|---|---|---|---|
J 42385- | MM | (IN) | MM | (IN) | ||||||||
1 | M8 x 1.25 | 610 | N/R | 619 | 208 | 209 | 620 | 29 | 1.142 | 24 | 0.945 | 1413 |
2 | M10 x 1.5 | 511 | N/R | N/R | 512 | 513 | 514 | 37 | 1.457 | 33 | 1.299 | 1431 |
3 | M10 x 1.5 | 511 | N/R | N/R | 512 | 513 | 514 | 37 | 1.457 | 33 | 1.299 | 1423 |
4 | M8 x 1.25 | 610 | N/R | N/R | 208 | 209 | 620 | THRU | THRU | 1414 | ||
5 | M8 x 1.25 | 610 | N/R | N/R | 208 | 209 | 620 | 37 | 1.457 | 32 | 1.260 | 1415 |
6 | M10 x 1.5 | 511 | N/R | N/R | 512 | 513 | 514 | 37 | 1.457 | 33 | 1.299 | 1432 |
7 | M10 x 1.5 | 511 | N/R | N/R | 512 | 513 | 514 | 37 | 1.457 | 33 | 1.299 | 1424 |
8 | M8 x 1.25 | 610 | N/R | N/R | 208 | 209 | 620 | THRU | THRU | 1416 | ||
9 | M10 x 1.5 | 511 | N/R | 607 | 213 | 214 | 215 | 46 | 1.811 | 39.5 | 1.555 | 1435 |
10 | M10 x 1.5 | 511 | N/R | 607 | 213 | 214 | 215 | 46 | 1.811 | 39.5 | 1.555 | 1436 |
11 | M10 x 1.5 | 511 | N/R | N/R | 512 | 513 | 514 | 37 | 1.457 | 33 | 1.299 | 1433 |
12 | M10 x 1.5 | 511 | N/R | N/R | 512 | 513 | 514 | 37 | 1.457 | 33 | 1.299 | 1425 |
13 | M10 x 1.5 | 511 | N/R | N/R | 512 | 513 | 514 | 37 | 1.457 | 33 | 1.299 | 1421 |
14 | M10 x 1.5 | 511 | N/R | N/R | 512 | 513 | 514 | 37 | 1.457 | 33 | 1.299 | 1429 |
15 | M8 x 1.25 | 610 | N/R | N/R | 208 | 209 | 620 | 37 | 1.457 | 32 | 1.260 | 1412 |
16 | M8 x 1.25 | 610 | N/R | 619 | 208 | 209 | 620 | 29 | 1.142 | 24 | 0.945 | 1411 |
17 | M10 x 1.5 | 511 | N/R | N/R | 512 | 513 | 514 | 37 | 1.457 | 33 | 1.299 | 1428 |
18 | M10 x 1.5 | 511 | N/R | N/R | 512 | 513 | 514 | 37 | 1.457 | 33 | 1.299 | 1420 |
19 | M8 x 1.25 | 610 | N/R | N/R | 208 | 209 | 620 | THRU | THRU | 1410 | ||
20 | M10 x 1.5 | 511 | N/R | N/R | 512 | 513 | 514 | 37 | 1.457 | 33 | 1.299 | 1427 |
21 | M10 x 1.5 | 511 | N/R | N/R | 512 | 513 | 514 | 37 | 1.457 | 33 | 1.299 | 1419 |
22 | M8 x 1.25 | 610 | N/R | N/R | 208 | 209 | 620 | THRU | THRU | 1409 | ||
23 | M8 x 1.25 | 610 | N/R | N/R | 208 | 209 | 620 | 37 | 1.457 | 32 | 1.260 | 1408 |
24 | M10 x 1.5 | 511 | N/R | N/R | 512 | 513 | 514 | 37 | 1.457 | 33 | 1.299 | 1426 |
25 | M10 x 1.5 | 511 | N/R | N/R | 512 | 513 | 514 | 37 | 1.457 | 33 | 1.299 | 1418 |
26 | M10 x 1.5 | 511 | N/R | N/R | 512 | 513 | 514 | 37 | 1.457 | 33 | 1.299 | 1422 |
27 | M10 x 1.5 | 511 | N/R | N/R | 512 | 513 | 514 | 37 | 1.457 | 33 | 1.299 | 1430 |
Hole Location | Thread Size | Drill | Counter Bore Tool | Stop Collar | Tap | Driver | Insert | Drill Depth (Maximum) | Tap Depth (Minimum) | Engineering Number | ||
|---|---|---|---|---|---|---|---|---|---|---|---|---|
J 42385- | MM | (IN) | MM | (IN) | ||||||||
1 | M8 x 1.25 | 206 | 207 | N/R | 208 | 209 | 210 | 21.5 | 0.847 | 18.5 | 0.728 | 451 |
2 | M8 x 1.25 | 206 | 207 | N/R | 208 | 209 | 210 | 25 | 0.984 | 20 | 0.787 | 452 |
3 | M8 x 1.25 | 206 | 207 | N/R | 208 | 209 | 210 | 25 | 0.984 | 20 | 0.787 | 453 |
4 | M8 x 1.25 | 206 | 207 | N/R | 208 | 209 | 210 | 25 | 0.984 | 20 | 0.787 | 454 |
5 | M8 x 1.25 | 206 | 207 | N/R | 208 | 209 | 210 | 25 | 0.984 | 20 | 0.787 | 455 |
6 | M8 x 1.25 | 206 | 207 | N/R | 208 | 209 | 210 | 25 | 0.984 | 20 | 0.787 | 456 |
7 | M8 x 1.25 | 206 | 207 | N/R | 208 | 209 | 210 | 25 | 0.984 | 20 | 0.787 | 457 |
8 | M8 x 1.25 | 206 | 207 | N/R | 208 | 209 | 210 | 25 | 0.984 | 20 | 0.787 | 458 |
9 | M8 x 1.25 | 206 | 207 | N/R | 208 | 209 | 210 | 25 | 0.984 | 20 | 0.787 | 459 |
10 | M8 x 1.25 | 206 | 207 | N/R | 208 | 209 | 210 | 25 | 0.984 | 20 | 0.787 | 443 |
11 | M8 x 1.25 | 206 | 207 | N/R | 208 | 209 | 210 | 25 | 0.984 | 20 | 0.787 | 444 |
12 | M8 x 1.25 | 206 | 207 | N/R | 208 | 209 | 210 | 25 | 0.984 | 20 | 0.787 | 445 |
13 | M8 x 1.25 | 206 | 207 | N/R | 208 | 209 | 210 | 25 | 0.984 | 20 | 0.787 | 446 |
14 | M8 x 1.25 | 206 | 207 | N/R | 208 | 209 | 210 | 25 | 0.984 | 20 | 0.787 | 447 |
15 | M8 x 1.25 | 206 | 207 | N/R | 208 | 209 | 210 | 25 | 0.984 | 20 | 0.787 | 448 |
16 | M8 x 1.25 | 206 | 207 | N/R | 208 | 209 | 210 | 21.5 | 0.847 | 18.5 | 0.728 | 449 |
17 | M8 x 1.25 | 206 | 207 | N/R | 208 | 209 | 210 | 21.5 | 0.847 | 18.5 | 0.728 | 450 |