GM Service Manual Online
For 1990-2009 cars only
Makes
🢒
Oldsmobile
🢒
2002
🢒
Intrigue
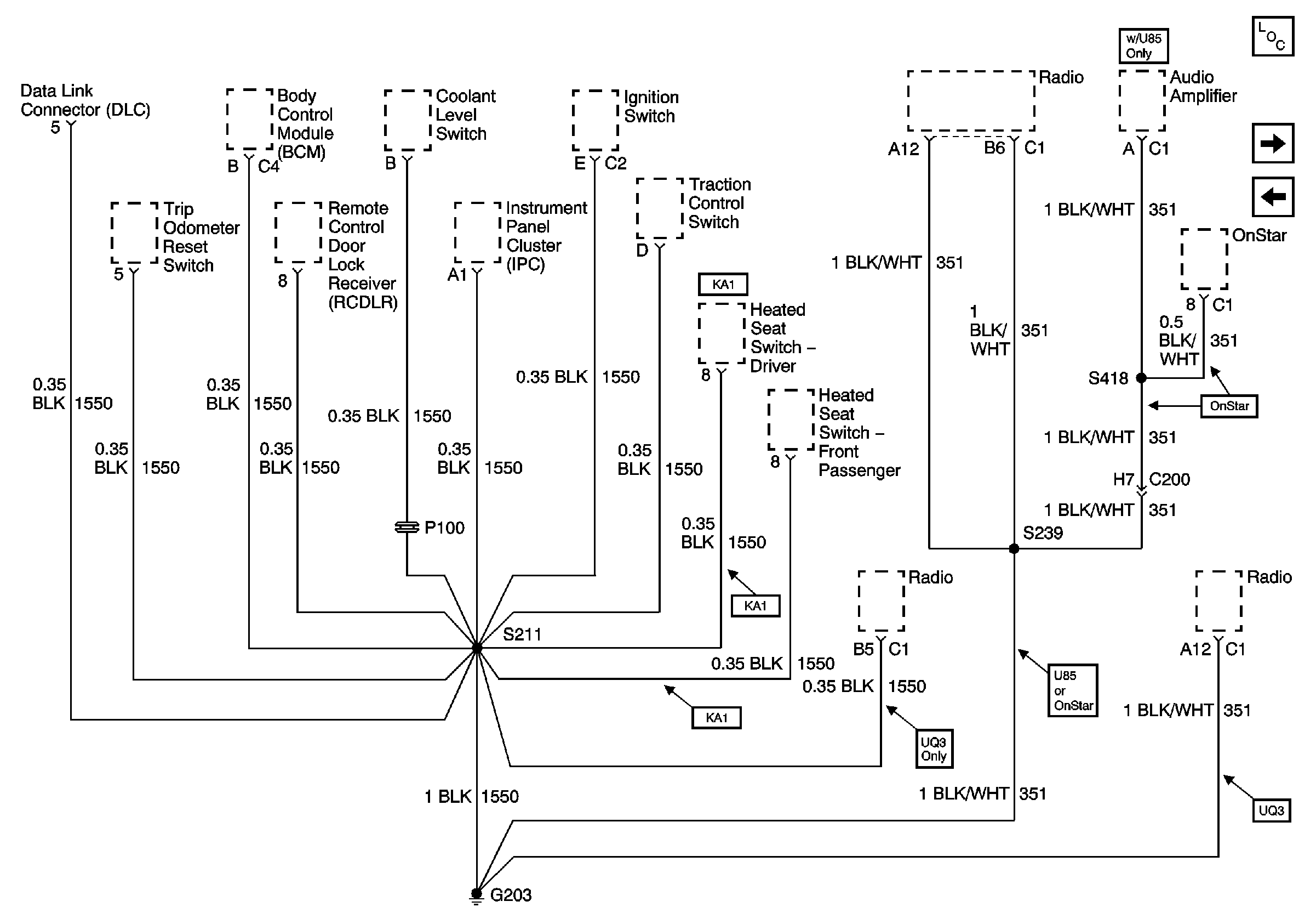
🢒 G203
G203
G203
Master Electrical Component List
G301 (1 of 3)
G201