GM Service Manual Online
For 1990-2009 cars only
Makes
🢒
Oldsmobile
🢒
2002
🢒
Intrigue
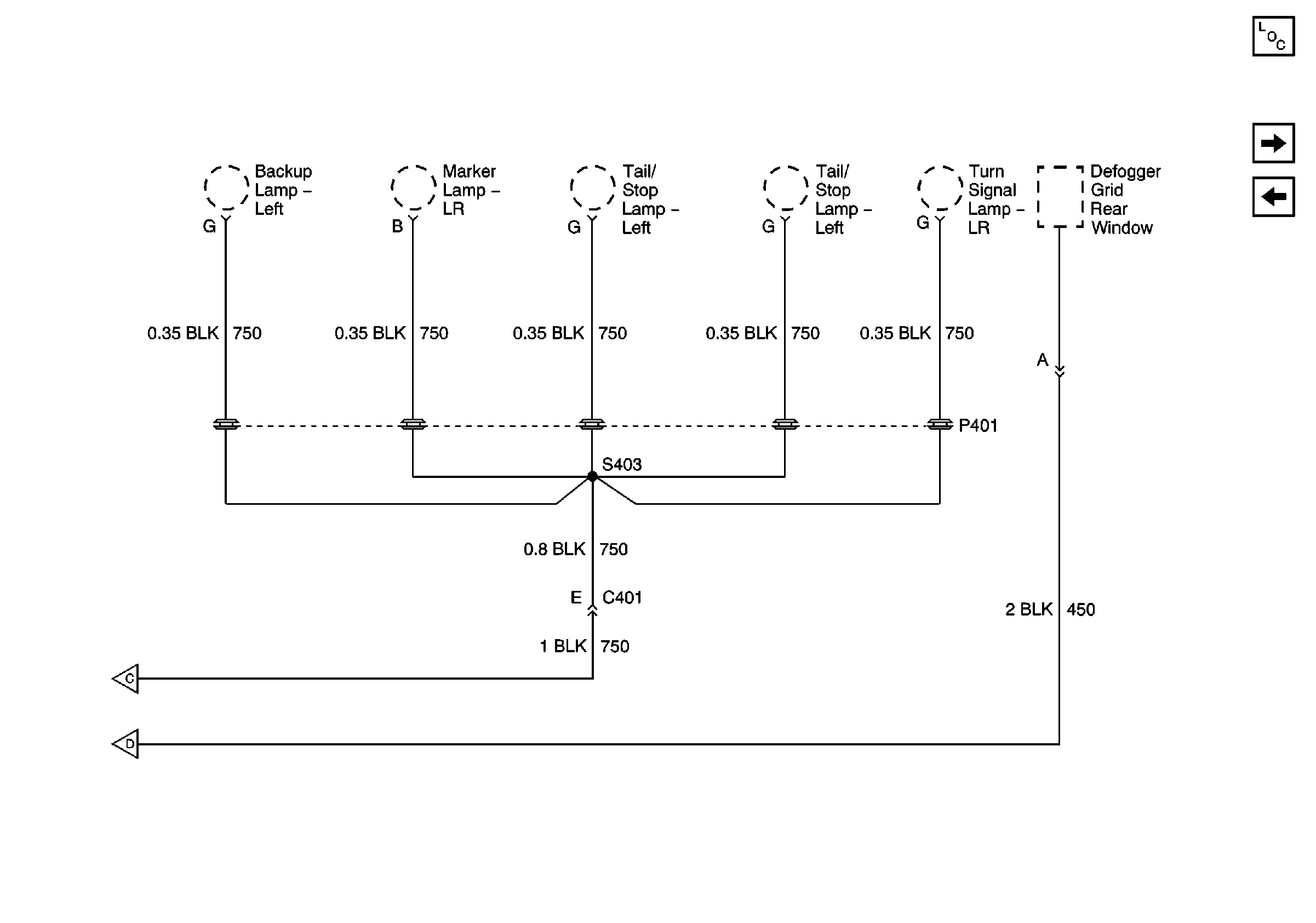
🢒 G301 (3 OF 3)
G301 (3 OF 3)
G301 - 3 of 3
Master Electrical Component List
G302
G301 (2 of 3)
G301 (1 of 3)
G301 (1 of 3)