GM Service Manual Online
For 1990-2009 cars only
Makes
🢒
Oldsmobile
🢒
2002
🢒
Intrigue
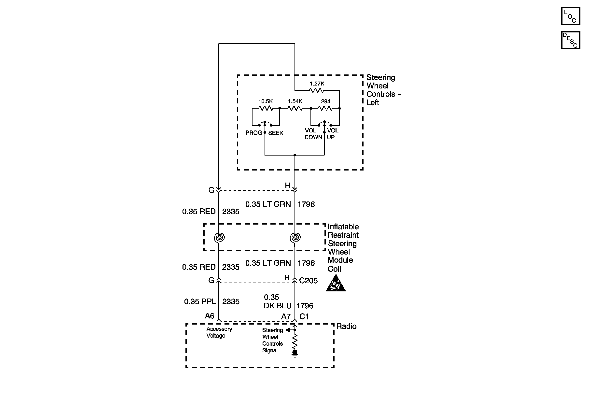
🢒 Voltage, and Signal
Voltage, and Signal
Master Electrical Component List
Radio/Audio System Description and Operation
Entertainment Schematic Icons