GM Service Manual Online
For 1990-2009 cars only

Removal Procedure

Tools Required

J 34730 Fuel Pressure Gauge

Caution: Provide additional support when a vehicle is on a hoist:

   • Before removing parts, support the opposite end. This helps prevent the vehicle from slipping off.
   • Before removing major components, chain the vehicle frame to the hoist pads at the same end as the removal. This helps avoid a tip-off.
Failure to follow these precautions could cause vehicle damage, serious personal injury, or death.

Notice: Do not attempt to straighten any kinked nylon fuel lines. Replace any kinked nylon fuel feed or return pipes in order to prevent damage to the vehicle.


    Object Number: 20975  Size: SH
  1. Relieve the fuel system fuel pressure. Refer to Fuel Pressure Relief .
  2. Drain the fuel tank (1). Refer to Fuel Tank Draining .
  3. Caution: Provide additional support when a vehicle is on a hoist:

       • Before removing parts, support the opposite end. This helps prevent the vehicle from slipping off.
       • Before removing major components, chain the vehicle frame to the hoist pads at the same end as the removal. This helps avoid a tip-off.
    Failure to follow these precautions could cause vehicle damage, serious personal injury, or death.

  4. Raise the vehicle. Refer to Lifting and Jacking the Vehicle in General Information.

  5. Object Number: 21025  Size: SH
  6. Remove the fuel tank filler extension pipe EVAP pipe (1) clamp (2) from the fuel tank EVAP pipe (3).
  7. Remove the fuel tank filler extension pipe (1) clamp (2) from the fuel tank filler pipe (3).

  8. Object Number: 12778  Size: SH

    Notice: Cap the fittings and plug the holes when servicing the fuel system in order to prevent dirt and other contaminants from entering the open pipes and passages.

  9. Remove the quick-connect fittings at the fuel tank. Refer to Plastic Collar Quick Connect Fitting Service .
  10. Remove the rubber exhaust pipe hangers that support the exhaust in order to allow the exhaust system to drop slightly.

  11. Object Number: 21195  Size: SH

    Notice: Do not bend the fuel tank straps as this may damage the straps.

  12. Remove the fuel tank strap attaching bolts which retain the fuel tank straps (1), and support the fuel tank (2) with the aid of an assistant.

  13. Object Number: 180707  Size: SH
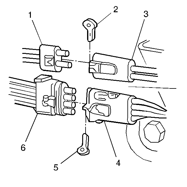
  14. Disconnect and remove the electrical connectors.
  15. 9.1. Remove the retaining clip (2) on the fuel tank pressure sensor (3) electrical connector (1).
    9.2. Remove the retaining clip (5) on the fuel sender assembly sensor (4) electrical connector (6).
  16. Remove the fuel tank from the vehicle and place the fuel tank in a suitable work area.

Disassemble Procedure

  1. If the fuel tank is not being replaced, refer to the fuel tank installation procedures.
  2. Disassemble the fuel sender assembly. Refer to Fuel Sender Assembly Replacement .

Assemble Procedure

    Important: Always replace the external fuel pump strainer when the fuel sender is removed.

    Notice: Replace the fuel sender O-rings when re-installing the fuel sender in order to avoid damage to the fuel sender assembly.

  1. Install a new fuel sender O-ring.
  2. Assemble fuel sender assembly. Refer to Fuel Sender Assembly Replacement .

Installation Procedure

Notice: Always re-attach the fuel lines and fuel filter with all original type fasteners and hardware.

Do not repair sections of fuel pipes.


    Object Number: 21195  Size: SH
  1. Position and support the fuel tank (2), with the aid of an assistant.

  2. Object Number: 180726  Size: SH
  3. Install the fuel sender electrical connector (3).
  4. Install the fuel tank pressure sensor electrical connector (2).
  5. Install the fuel sender retaining clip(s).
  6. Install the fuel tank pressure sensor retaining clip(s).

  7. Object Number: 21195  Size: SH

    Notice: Use the correct fastener in the correct location. Replacement fasteners must be the correct part number for that application. Fasteners requiring replacement or fasteners requiring the use of thread locking compound or sealant are identified in the service procedure. Do not use paints, lubricants, or corrosion inhibitors on fasteners or fastener joint surfaces unless specified. These coatings affect fastener torque and joint clamping force and may damage the fastener. Use the correct tightening sequence and specifications when installing fasteners in order to avoid damage to parts and systems.

  8. Install the fuel tank retaining strap (1) attaching bolts.
  9. Tighten
    Tighten the fuel tank retaining strap bolts to 34 N·m (25 lb ft).

  10. Install the quick-connect fittings. Refer to Plastic Collar Quick Connect Fitting Service .

  11. Object Number: 21025  Size: SH

    Important: Do Not attempt to repair sections of nylon fuel pipes. If the nylon fuel pipes are damaged, replace them.

  12. Install the fuel tank filler extension pipe (1) to the fuel tank filler pipe (3).
  13. Tighten
    Tighten the fuel tank filler extension pipe hose clamp (2) to 2.5 N·m (22 lb in).

  14. Install the EVAP fuel tank filler extension pipe (1) to the fuel tank filler pipe (3).
  15. Tighten
    Tighten the EVAP fuel tank filler extension pipe hose clamp to 2.5 N·m (22 lb in).

  16. Install the rubber exhaust pipe hangers.
  17. Lower the vehicle.

  18. Object Number: 180188  Size: SH
  19. Add fuel to the fuel tank.
  20. Install the fuel tank filler pipe cap.
  21. Install the negative battery cable. Refer to Battery Cable in Engine Electrical.
  22. 14.1. Turn the ignition switch ON for 2 seconds.
    14.2. Turn the ignition switch OFF for 10 seconds.
    14.3. Turn the ignition switch ON.
    14.4. Check for fuel leaks.