GM Service Manual Online
For 1990-2009 cars only

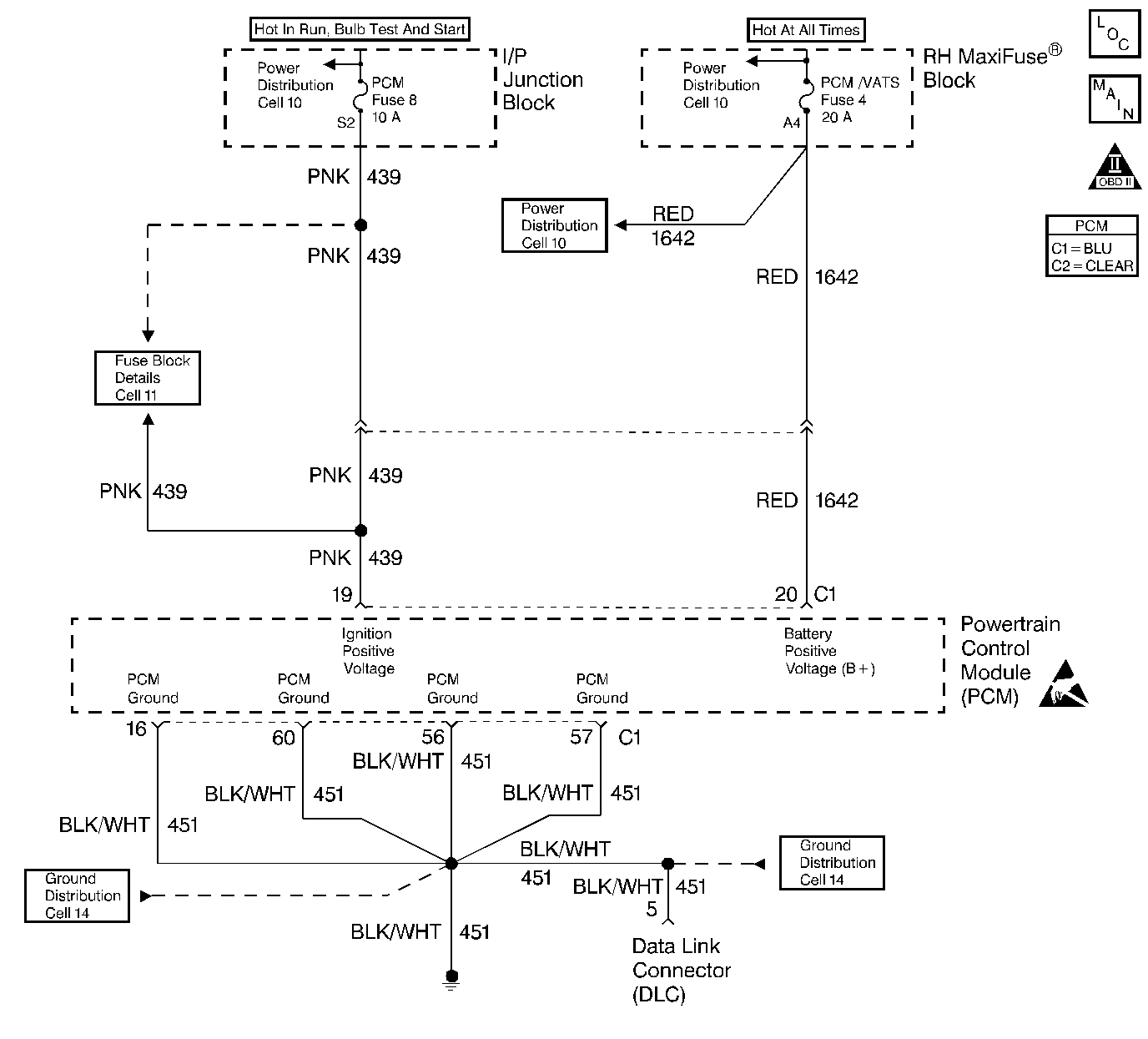
Object Number: 210765  Size: LF
Engine Controls Components
Cell 20: PCM Power, Grounds and DLC
OBD II Symbol Description Notice

Circuit Description

The Powertrain On-Board Diagnostic System Check must be the starting point for any driveability complaint diagnosis. Before using this procedure, you should perform a careful visual and physical check of the PCM and the engine grounds for being clean and tight. The Powertrain On-Board Diagnostic System Check is an organized approach to identifying a problem created by an electronic engine control system malfunction.

Diagnostic Aids

An intermittent may be caused by a poor connection, rubbed-through wire insulation, or a wire broken inside the insulation. Check for poor connections or a damaged harness. Inspect the PCM harness and connectors for improper mating, broken locks, improperly formed or damaged terminals, poor terminal-to-wire connection, and a damaged harness.

Test Description

The number(s) below refer to the Step number(s) on the Diagnostic Table:

  1. The MIL should be ON steady with the key ON / engine OFF. If not, the No Malfunction Indicator Lamp table should be used to isolate the malfunction.

  2. This test ensures that the PCM is capable transmitting Class 2 serial data to the DLC and that the Class 2 data circuit is not open or shorted. If a problem is encountered and a malfunctioning scan tool is suspected, try the scan tool on another vehicle to verify operation. If a DLC problem exists, the DLC Diagnosis table should be used to diagnose the condition.

  3. If the engine will not start, the Engine Cranks But Will Not Run table should be used to diagnose the condition.

  4. The scan tool may display DTCs which are diagnosed in Functional Test in Transmission/Transaxle. Go to Powertrain Control Module Diagnosis for a complete list of DTCs supported by this vehicle application. If multiple DTCs are stored, diagnose each DTC according the following priority:

  5. • PCM malfunction DTCs P0601, P0602.
    • System voltage DTCs P0560, P1635, P1639.
    • Component level DTCs switches, sensor range/performance, sensor high voltage, sensor low voltage, ODMs, etc.
    • System level DTCs fuel trim, misfire, EGR flow, TWC system, EVAP system, idle control system, HO2S response or HO2S transition time ratio.
  6. A scan tool parameter which is not within the typical range may help to isolate the area which is causing the problem.

Powertrain On--Board Diagnostic System Check

Step

Action

Value(s)

Yes

No

1

IMPORTANT: 

   • Check for applicable service bulletins before proceeding with diagnosis.
   • Do not turn the ignition OFF when performing this Diagnostic tables.
   • Do not perform this test if no driveablity condition exists.
   • Do not clear DTCs unless the diagnostic instructs you to.

  1. Turn ON the ignition switch.
  2. Observe the Malfunction Indicator Lamp (MIL).

Is the MIL ON?

--

Go to Step 2

Go to Malfunction Indicator Lamp (MIL) Inoperative

2

  1. Turn OFF the ignition switch.
  2. Install a scan tool.
  3. Turn ON the ignition switch.
  4. Attempt to display PCM data with the scan tool.

Does the scan tool display PCM data?

--

Go to Step 3

Go to Data Link Connector Diagnosis

3

Attempt to start the engine.

Did the engine start and continue to run?

--

Go to Step 4

Go to Engine Cranks but Does Not Run

4

Display the following DTC Statuses using the scan tool DTC Info feature. If any DTCs are stored, save the freeze frame and fail record information using the scan tool:

    • Last Test Fail.
    • Fail This ignition
    • MIL Request.
    • History.

Are any DTCs stored?

--

Go to the applicable DTC table

Go to Step 5

5

Compare PCM data values displayed on the scan tool to the Engine Scan Tool Data List .

Are the displayed values normal or close to the typical values?

--

System OK

Go to Component System Checks