GM Service Manual Online
For 1990-2009 cars only
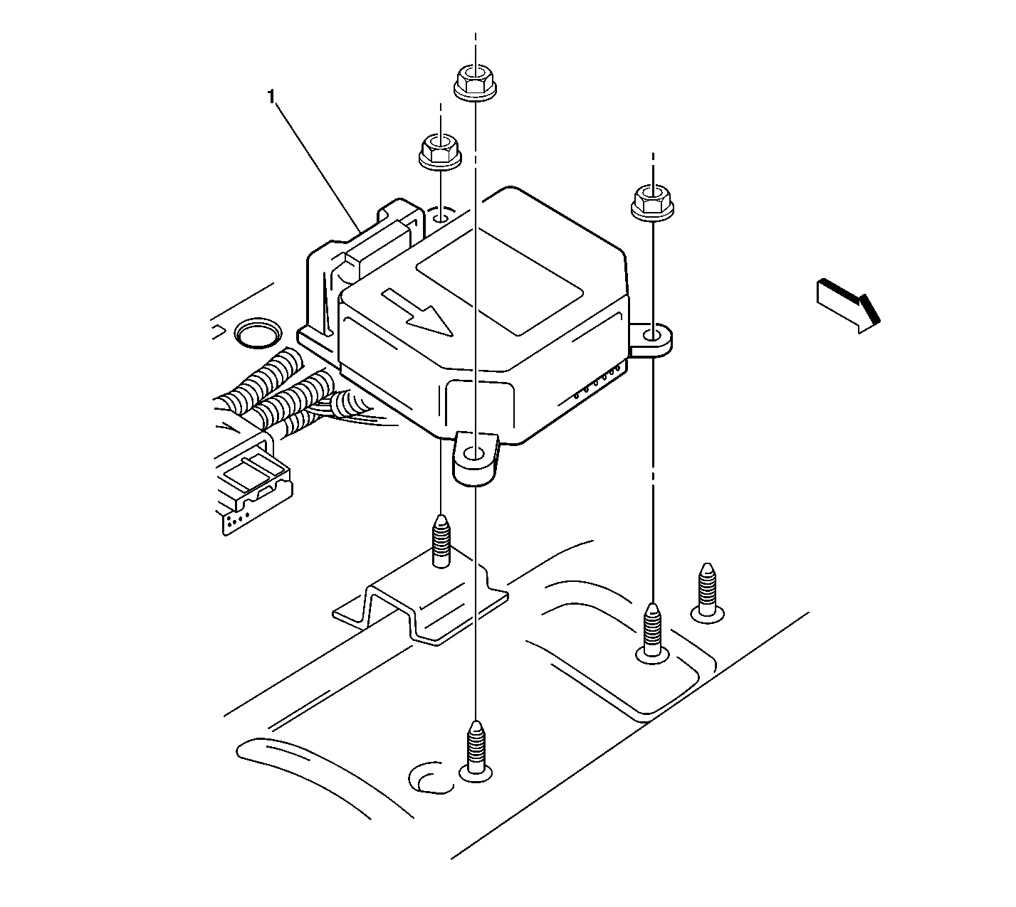
Figure 1:

Right Hand Front of Passenger Compartment, Under the Right Hand Front Seat


Object Number: 223523  Size: LF
(1)Inflatable Restraint Sensing and Diagnostic Module (SDM)
Figure 2:

Passenger Compartment, RH Front


Object Number: 223524  Size: LF
(1)Inflatable Restraint IP Module
(2)Inflatable Restraint IP Module connector
Figure 3:

Left Hand Front of Passenger Compartment


Object Number: 223526  Size: LF
(1)Inflatable Restraint Steering Wheel Module
(2)Inflatable Restraint Steering Wheel Module Coil
Figure 4:

Engine Compartment, Center Front


Object Number: 223529  Size: LF
(1)Inflatable Restraint Front End Discriminating Sensor