GM Service Manual Online
For 1990-2009 cars only

Headlights Schematics Buick

Figure 1:

Cell 100: PWR, GND, RFA, Headlamp Switch and Headlamp Dimmer Switch


Object Number: 467087  Size: FS
Lighting Systems Components
Headlights Circuit Description Buick
Cell 100: PNP Switch, Twilight Sentinal and Ambient Light Sensor
Ground Distribution Schematics
Ground Distribution Schematics
Ground Distribution Schematics
Ground Distribution Schematics
Power Distribution Schematics
Handling ESD Sensitive Parts Notice
Handling ESD Sensitive Parts Notice
Lighting Systems Connector End Views
Figure 2:

Cell 100: PNP Switch, Twilight Sentinal and Ambient Light Sensor


Object Number: 467089  Size: FS
Lighting Systems Components
Headlights Circuit Description Buick
Cell 100: Headlamps and High Beam Indicator
Cell 100: PWR, GND, RFA, Headlamp Switch and Headlamp Dimmer Switch
Ground Distribution Schematics
Ground Distribution Schematics
Ground Distribution Schematics
Power Distribution Schematics
Power Distribution Schematics
Power Distribution Schematics
Handling ESD Sensitive Parts Notice
Lighting Systems Connector End Views
Cell 138
Figure 3:

Cell 100: Headlamps and High Beam Indicator


Object Number: 467091  Size: FS
Lighting Systems Components
Headlights Circuit Description Buick
Cell 100: PNP Switch, Twilight Sentinal and Ambient Light Sensor
Ground Distribution Schematics
Ground Distribution Schematics
Ground Distribution Schematics
Ground Distribution Schematics
Ground Distribution Schematics
Handling ESD Sensitive Parts Notice
Handling ESD Sensitive Parts Notice
Handling ESD Sensitive Parts Notice
Lighting Systems Connector End Views
Lighting Systems Connector End Views

Headlights Schematics Oldsmobile

Figure 1:

Cell 100: PWR, Headlamp Switch and Headlamp Control


Object Number: 467093  Size: FS
Lighting Systems Components
Headlights Circuit Description Oldsmobile
Cell 100: GND, Ignition Switch, PNP Switch, RFA, Twilight Sentinal and Ambient Light Sensor
Ground Distribution Schematics
Power Distribution Schematics
Handling ESD Sensitive Parts Notice
Cell 100: Headlamps and High Beam Indicator
Cell 100: Headlamps and High Beam Indicator
Lighting Systems Connector End Views
Figure 2:

Cell 100: GND, Ignition Switch, PNP Switch, RFA, Twilight Sentinal and AmbientLight Sensor


Object Number: 467101  Size: FS
Lighting Systems Components
Headlights Circuit Description Oldsmobile
Cell 100: Headlamps and High Beam Indicator
Cell 100: PWR, Headlamp Switch and Headlamp Control
Ground Distribution Schematics
Ground Distribution Schematics
Ground Distribution Schematics
Ground Distribution Schematics
Ground Distribution Schematics
Power Distribution Schematics
Power Distribution Schematics
Power Distribution Schematics
Power Distribution Schematics
Handling ESD Sensitive Parts Notice
Handling ESD Sensitive Parts Notice
Cell 138
Lighting Systems Connector End Views
Figure 3:

Cell 100: Headlamps and High Beam Indicator


Object Number: 467104  Size: FS
Lighting Systems Components
Headlights Circuit Description Oldsmobile
Cell 100: GND, Ignition Switch, PNP Switch, RFA, Twilight Sentinal and Ambient Light Sensor
Ground Distribution Schematics
Ground Distribution Schematics
Ground Distribution Schematics
Ground Distribution Schematics
Handling ESD Sensitive Parts Notice
Handling ESD Sensitive Parts Notice
Handling ESD Sensitive Parts Notice
Cell 100: PWR, Headlamp Switch and Headlamp Control
Cell 100: PWR, Headlamp Switch and Headlamp Control
Lighting Systems Connector End Views
Instrument Cluster and HUD Connector End Views

Headlights Schematics Pontiac

Figure 1:

Cell 100: PWR, Headlamp Switch and Headlamp Control


Object Number: 467076  Size: FS
Lighting Systems Components
Headlights Circuit Description Pontiac
Cell 100: GND, Ignition Switch, PNP Switch, RFA, Twilight Sentinal and Ambient Light Sensor
Handling ESD Sensitive Parts Notice
Power Distribution Schematics
Lighting Systems Connector End Views
Cell 100: Headlamps w/ UB3
Cell 100: Headlamps w/ U50 or U2F
Cell 100: Headlamps w/ U50 or U2F
Cell 100: Headlamps w/ UB3
Figure 2:

Cell 100: GND, Ignition Switch,PNP Switch, RFA, Twilight Sentinal and Ambient Light Sensor


Object Number: 467079  Size: FS
Lighting Systems Components
Headlights Circuit Description Pontiac
Cell 100: Headlamps w/ UB3
Cell 100: PWR, Headlamp Switch and Headlamp Control
Handling ESD Sensitive Parts Notice
Handling ESD Sensitive Parts Notice
Ground Distribution Schematics
Ground Distribution Schematics
Ground Distribution Schematics
Ground Distribution Schematics
Power Distribution Schematics
Power Distribution Schematics
Ground Distribution Schematics
Power Distribution Schematics
Power Distribution Schematics
Figure 3:

Cell 100: Headlamps w/ UB3


Object Number: 467081  Size: FS
Lighting Systems Components
Headlights Circuit Description Pontiac
Cell 100: Headlamps w/ U50 or U2F
Cell 100: GND, Ignition Switch, PNP Switch, RFA, Twilight Sentinal and Ambient Light Sensor
Handling ESD Sensitive Parts Notice
Ground Distribution Schematics
Ground Distribution Schematics
Handling ESD Sensitive Parts Notice
Cell 100: PWR, Headlamp Switch and Headlamp Control
Cell 100: PWR, Headlamp Switch and Headlamp Control
Lighting Systems Connector End Views
Cell 100: High Beam Indicator and Head-Up Display (HUD)
Figure 4:

Cell 100: Headlamps w/ U50 or U2F


Object Number: 467083  Size: FS
Lighting Systems Components
Headlights Circuit Description Pontiac
Cell 100: High Beam Indicator and Head-Up Display (HUD)
Cell 100: Headlamps w/ UB3
Handling ESD Sensitive Parts Notice
Handling ESD Sensitive Parts Notice
Ground Distribution Schematics
Ground Distribution Schematics
Handling ESD Sensitive Parts Notice
Cell 100: PWR, Headlamp Switch and Headlamp Control
Cell 100: PWR, Headlamp Switch and Headlamp Control
Lighting Systems Connector End Views
Lighting Systems Connector End Views
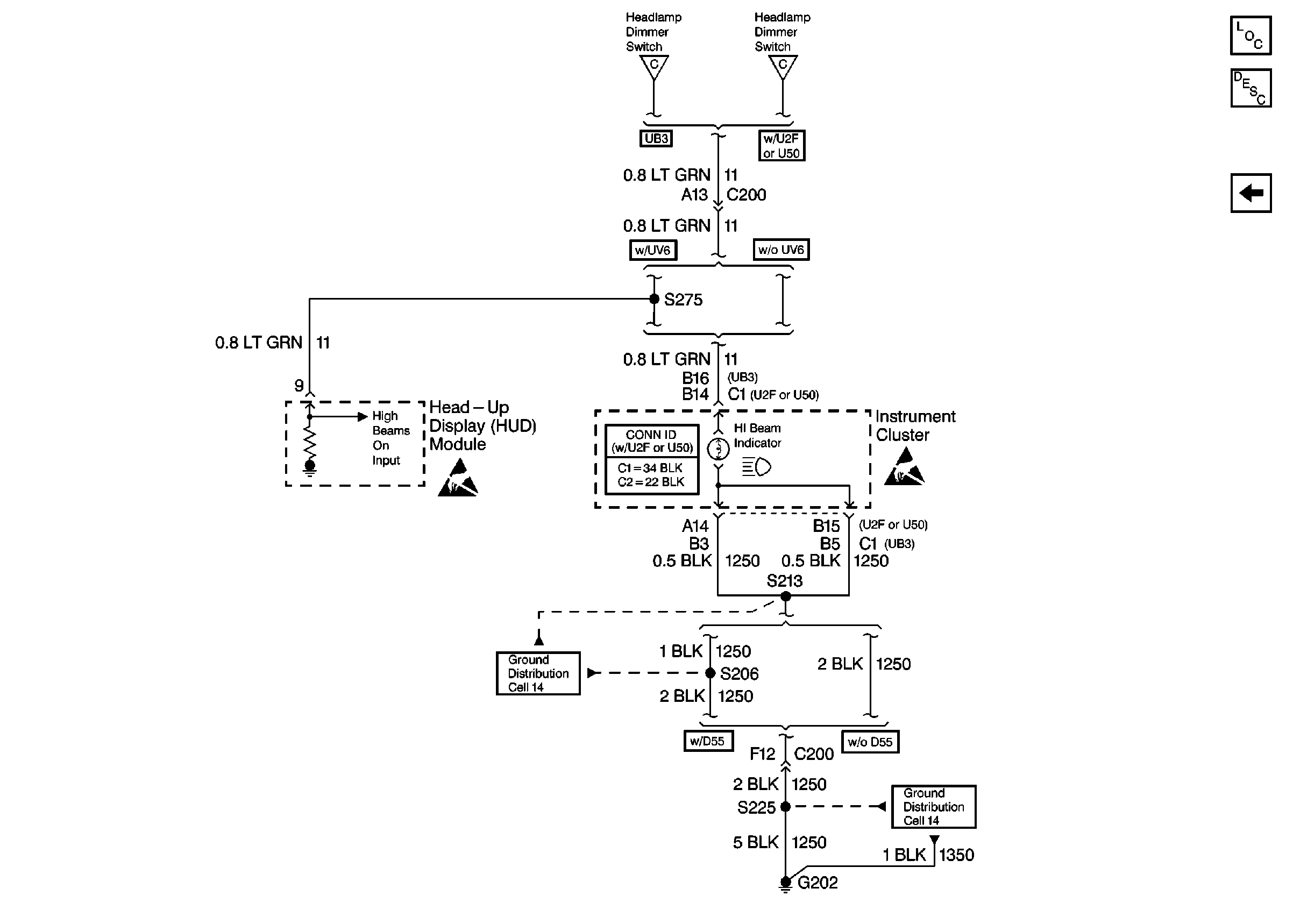
Cell 100: High Beam Indicator and Head-Up Display (HUD)
Figure 5:

Cell 100: High Beam Indicator and Head-Up Display (HUD)


Object Number: 467085  Size: FS
Lighting Systems Components
Headlights Circuit Description Pontiac
Cell 100: Headlamps w/ U50 or U2F
Handling ESD Sensitive Parts Notice
Ground Distribution Schematics
Handling ESD Sensitive Parts Notice
Ground Distribution Schematics
Cell 100: Headlamps w/ UB3
Cell 100: Headlamps w/ U50 or U2F
Lighting Systems Connector End Views