GM Service Manual Online
For 1990-2009 cars only
Figure 1:

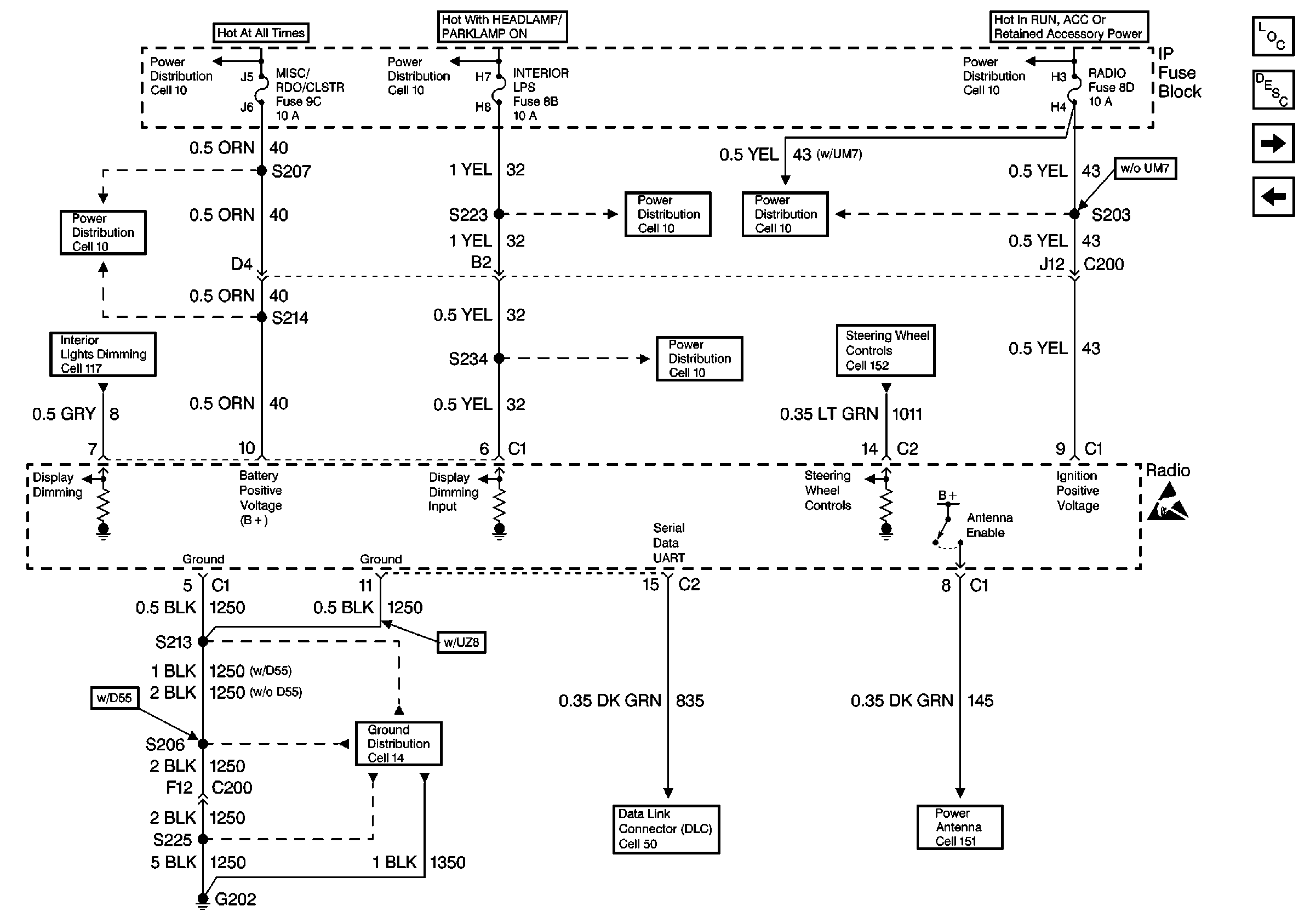
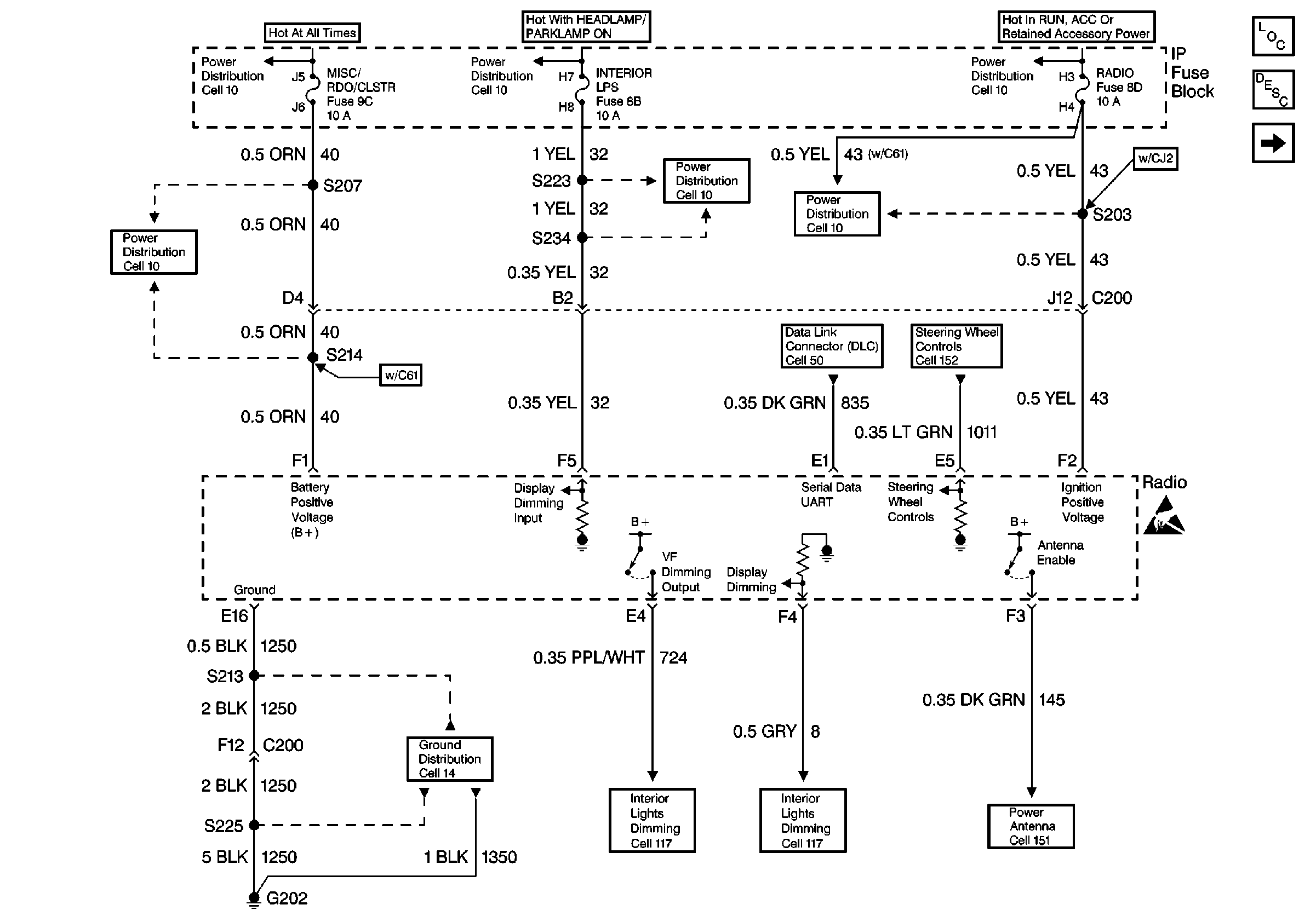
Cell 150: Radio Power and Ground (Oldsmobile)


Object Number: 497244  Size: FS
Entertainment Components
Radio/Audio System Description
Cell 150: Radio Power and Ground (Buick)
Handling ESD Sensitive Parts Notice
Power Distribution Schematics
Power Distribution Schematics
Power Distribution Schematics
Power Distribution Schematics
Power Distribution Schematics
Power Distribution Schematics
Power Distribution Schematics
Steering Wheel Controls Schematics
Data Link Connector Schematics
Ground Distribution Schematics
Interior Lights Dimming Schematics Oldsmobile
Interior Lights Dimming Schematics Oldsmobile
Power Antenna Schematics
Figure 2:

Cell 150: Radio Power and Ground (Buick)


Object Number: 497254  Size: FS
Entertainment Components
Radio/Audio System Description
Cell 150: Radio Power and Ground (Pontiac)
Cell 150: Radio Power and Ground (Oldsmobile)
Handling ESD Sensitive Parts Notice
Power Distribution Schematics
Power Distribution Schematics
Power Distribution Schematics
Power Distribution Schematics
Data Link Connector Schematics
Power Distribution Schematics
Power Distribution Schematics
Power Distribution Schematics
Ground Distribution Schematics
Power Antenna Schematics
Interior Lights Dimming Schematics Buick
Interior Lights Dimming Schematics Buick
Steering Wheel Controls Schematics
Figure 3:

Cell 150: Radio Power and Ground (Pontiac)


Object Number: 497257  Size: FS
Entertainment Components
Radio/Audio System Description
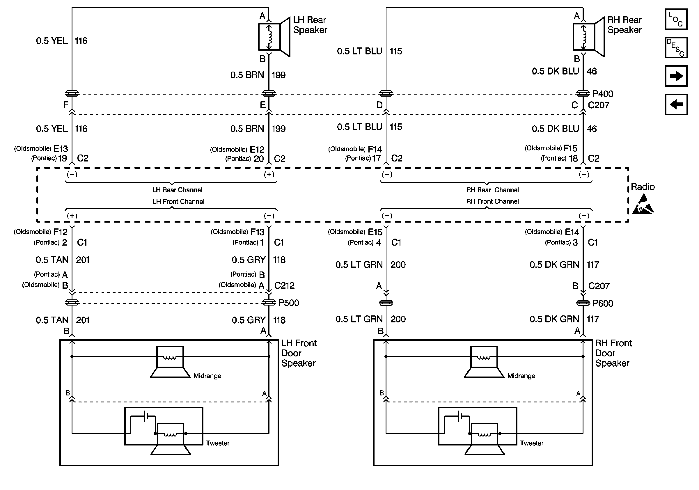
Cell 150: RH Speakers (Buick w/UW6)
Cell 150: Radio Power and Ground (Buick)
Handling ESD Sensitive Parts Notice
Power Antenna Schematics
Ground Distribution Schematics
Interior Lights Dimming Schematics Pontiac
Power Distribution Schematics
Power Distribution Schematics
Power Distribution Schematics
Power Distribution Schematics
Steering Wheel Controls Schematics
Power Distribution Schematics
Power Distribution Schematics
Power Distribution Schematics
Data Link Connector Schematics
Figure 4:

Cell 150: RH Speakers (Buick w/UW6)


Object Number: 497279  Size: FS
Entertainment Components
Radio/Audio System Description
Cell 150: LH Speakers (Buick w/UW6)
Cell 150: Radio Power and Ground (Pontiac)
Handling ESD Sensitive Parts Notice
Figure 5:

Cell 150: LH Speakers (Buick w/UW6)


Object Number: 497282  Size: FS
Entertainment Components
Radio/Audio System Description
Cell 150: Speakers (Buick w/UQ8)
Cell 150: RH Speakers (Buick w/UW6)
Handling ESD Sensitive Parts Notice
Figure 6:

Cell 150: Speakers (Buick w/UQ8)


Object Number: 497259  Size: FS
Entertainment Components
Radio/Audio System Description
Cell 150: Speakers (Oldsmobile, Pontiac w/UW6)
Cell 150: LH Speakers (Buick w/UW6)
Handling ESD Sensitive Parts Notice
Figure 7:

Cell 150: Speakers (Oldsmobile, Pontiac w/UW6)


Object Number: 497262  Size: FS
Entertainment Components
Radio/Audio System Description
Cell 150: Speakers (Oldsmobile and Pontiac w/UX7)
Cell 150: Speakers (Buick w/UQ8)
Handling ESD Sensitive Parts Notice
Figure 8:

Cell 150: Speakers (Oldsmobile and Pontiac w/UX7)


Object Number: 497287  Size: FS
Entertainment Components
Radio/Audio System Description
Cell 150: Front Speakers (Pontiac w/UZ8)
Cell 150: Speakers (Oldsmobile, Pontiac w/UW6)
Handling ESD Sensitive Parts Notice
Figure 9:

Cell 150: Front Speakers (Pontiac w/UZ8)


Object Number: 497265  Size: FS
Entertainment Components
Radio/Audio System Description
Cell 150: Rear Speakers (Pontiac w/UZ8)
Cell 150: Speakers (Oldsmobile and Pontiac w/UX7)
Handling ESD Sensitive Parts Notice
Handling ESD Sensitive Parts Notice
Ground Distribution Schematics
Power Distribution Schematics
Power Distribution Schematics
Figure 10:

Cell 150: Rear Speakers (Pontiac w/UZ8)


Object Number: 497269  Size: FS
Entertainment Components
Radio/Audio System Description
Cell 150: Front Speakers (Pontiac w/UZ8)
Handling ESD Sensitive Parts Notice
Handling ESD Sensitive Parts Notice