GM Service Manual Online
For 1990-2009 cars only

Front Bumper Impact Bar Replacement Buick

Removal Procedure

  1. Raise and support the vehicle. Refer to Lifting and Jacking the Vehicle in General Information.
  2. Remove the front bumper fascia. Refer to Front Bumper Fascia Replacement .

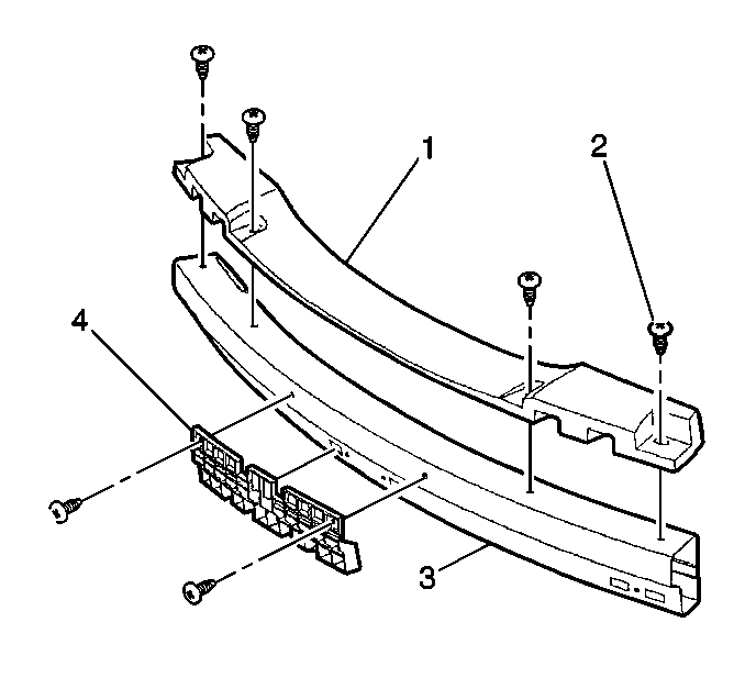
  3. Object Number: 312272  Size: SH
  4. Remove the nuts that retain the front impact bar (3) to the energy absorbers.
  5. Remember the number and the location of the shims.
  6. Remove the front impact bar (3).

Installation Procedure


    Object Number: 312272  Size: SH
  1. Install the front impact bar (3).
  2. Loosely install the nuts in order to retain the impact bar (3).
  3. Install the shims at the original locations.
  4. Notice: Use the correct fastener in the correct location. Replacement fasteners must be the correct part number for that application. Fasteners requiring replacement or fasteners requiring the use of thread locking compound or sealant are identified in the service procedure. Do not use paints, lubricants, or corrosion inhibitors on fasteners or fastener joint surfaces unless specified. These coatings affect fastener torque and joint clamping force and may damage the fastener. Use the correct tightening sequence and specifications when installing fasteners in order to avoid damage to parts and systems.

  5. Install the nuts that retain the impact bar.
  6. Tighten
    Tighten the nuts to 27 N·m (20 lb ft).

  7. Install the front bumper fascia. Refer to Front Bumper Fascia Replacement .
  8. Lower the vehicle.

Front Bumper Impact Bar Replacement Pontiac

Removal Procedure

  1. Raise and support the vehicle. Refer to Lifting and Jacking the Vehicle in General Information.
  2. Remove the front bumper fascia. Refer to Front Bumper Fascia Replacement .
  3. Remove the fog lamps. Refer to Front Fog Lamp Replacement .

  4. Object Number: 312301  Size: SH
  5. Remove the fascia supports (2) from the impact bar (4).
  6. Remove the nuts that retain the front impact bar (4) to the energy absorbers.
  7. Remember the number and the location of the shims.
  8. Remove the front impact bar (4).

Installation Procedure


    Object Number: 312301  Size: SH
  1. Install the front impact bar (4).
  2. Loosely install the nuts in order to retain the impact bar (4).
  3. Install the shims at the original locations.
  4. Notice: Use the correct fastener in the correct location. Replacement fasteners must be the correct part number for that application. Fasteners requiring replacement or fasteners requiring the use of thread locking compound or sealant are identified in the service procedure. Do not use paints, lubricants, or corrosion inhibitors on fasteners or fastener joint surfaces unless specified. These coatings affect fastener torque and joint clamping force and may damage the fastener. Use the correct tightening sequence and specifications when installing fasteners in order to avoid damage to parts and systems.

  5. Install the nuts in order to retain the impact bar (4).
  6. Tighten
    Tighten the nuts to 27 N·m (20 lb ft).

  7. Install the fog lamps. Refer to Front Fog Lamp Replacement .
  8. Install the front bumper fascia. Refer to Front Bumper Fascia Replacement .
  9. Lower the vehicle.