GM Service Manual Online
For 1990-2009 cars only

Power Seats Schematics w/ AG1 or AG2

Figure 1:

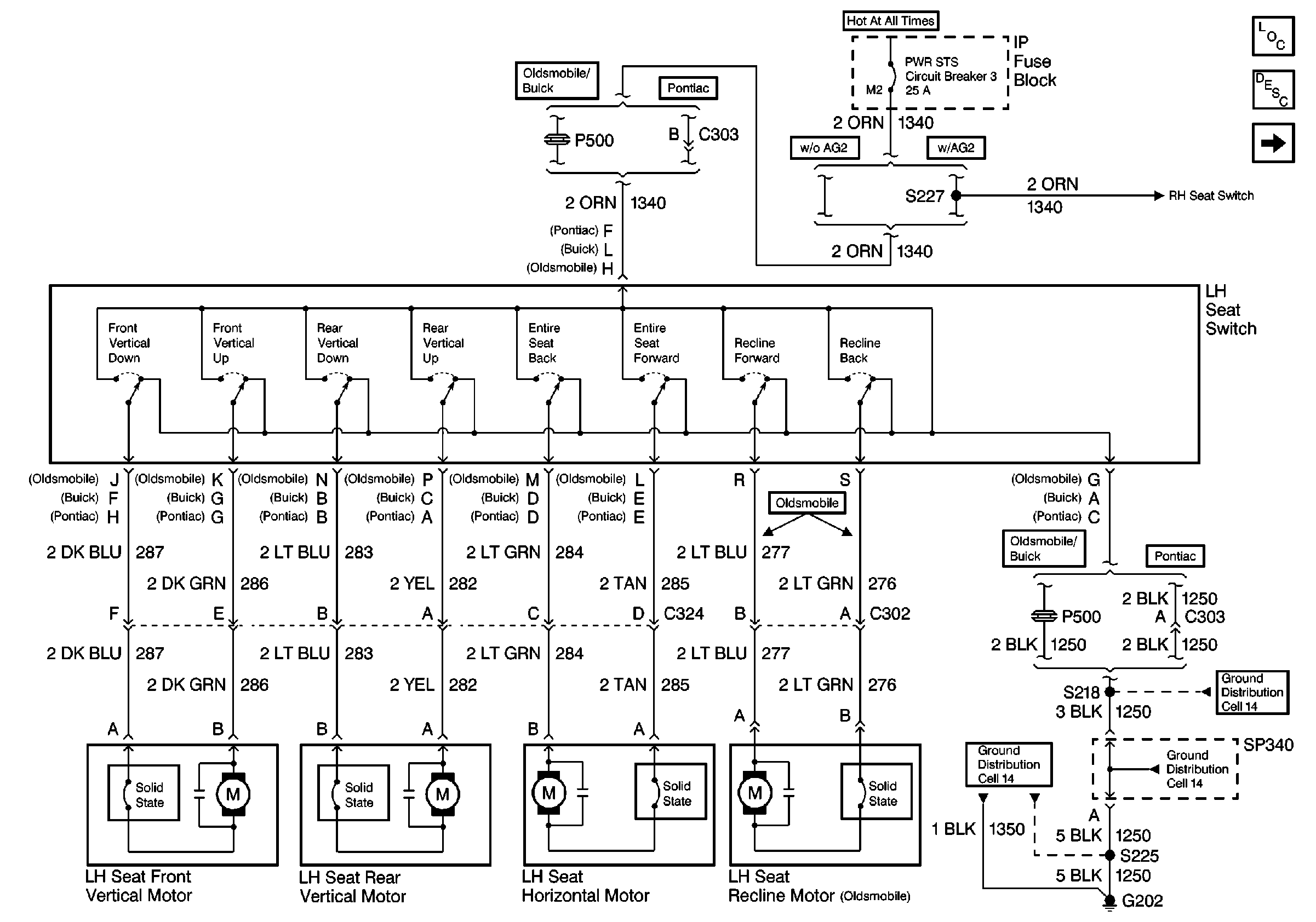
Cell 140: LH Power Seat (AG1 or AG2) (1 of 2)


Object Number: 468568  Size: FS
Power Seat Systems Components
Cell 140: RH Power Seat (2 of 2)
Ground Distribution Schematics
Ground Distribution Schematics
Ground Distribution Schematics
Figure 2:

Cell 140: RH Power Seat (2 of 2)


Object Number: 468570  Size: FS
Power Seat Systems Components
Cell 140: LH Power Seat (AG1 or AG2) (1 of 2)
Ground Distribution Schematics
Ground Distribution Schematics
Ground Distribution Schematics

Power Seats Schematics Pontiac w/ AL7

Figure 1:

Cell 140: Console Seat Switch w/AL7


Object Number: 468571  Size: FS
Power Seat Systems Components
Power Seats Circuit Description Pontiac w/AL7
Cell 140: LH Power Seat Control w/AL7
Ground Distribution Schematics
Ground Distribution Schematics
Ground Distribution Schematics
Power Distribution Schematics
Handling ESD Sensitive Parts Notice
Power Seat Connector End Views
Figure 2:

Cell 140: LH Power Seat Control w/AL7


Object Number: 468572  Size: FS
Power Seat Systems Components
Power Seats Circuit Description Pontiac w/AL7
Cell 140: RH Power Seat Control w/AL7 (3 of 3)
Cell 140: Console Seat Switch w/AL7
Ground Distribution Schematics
Ground Distribution Schematics
Ground Distribution Schematics
Handling ESD Sensitive Parts Notice
Power Seat Connector End Views
Figure 3:

Cell 140: RH Power Seat Control w/AL7 (3 of 3)


Object Number: 468573  Size: FS
Power Seat Systems Components
Power Seats Circuit Description Pontiac w/AL7
Cell 140: LH Power Seat Control w/AL7
Ground Distribution Schematics
Ground Distribution Schematics
Ground Distribution Schematics
Handling ESD Sensitive Parts Notice
Power Seat Connector End Views