GM Service Manual Online
For 1990-2009 cars only

Grille Replacement LeSabre

Removal Procedure


    Object Number: 300746  Size: SH
  1. Open the hood (1).
  2. Remove the nuts (2) that retain the grille (3) to the hood (1).
  3. Remove the grille (3).

Installation Procedure


    Object Number: 300746  Size: SH
  1. Install the grille (3).
  2. Notice: Use the correct fastener in the correct location. Replacement fasteners must be the correct part number for that application. Fasteners requiring replacement or fasteners requiring the use of thread locking compound or sealant are identified in the service procedure. Do not use paints, lubricants, or corrosion inhibitors on fasteners or fastener joint surfaces unless specified. These coatings affect fastener torque and joint clamping force and may damage the fastener. Use the correct tightening sequence and specifications when installing fasteners in order to avoid damage to parts and systems.

  3. Install the nuts (2) in order to retain the grille (3) to the hood (1).
  4. Tighten
    Tighten the nuts (2) to 5 N·m (44 lb in).

  5. Close the hood (1).

Grille Replacement Regency

Removal Procedure


    Object Number: 300747  Size: MH
  1. Remove the bolts (1).
  2. Remove the screws behind the center bracket.
  3. Remove the screws in the front of the grille (2).
  4. Remove the grille (2).

Installation Procedure


    Object Number: 300747  Size: MH
  1. Install the grille (2).
  2. Notice: Use the correct fastener in the correct location. Replacement fasteners must be the correct part number for that application. Fasteners requiring replacement or fasteners requiring the use of thread locking compound or sealant are identified in the service procedure. Do not use paints, lubricants, or corrosion inhibitors on fasteners or fastener joint surfaces unless specified. These coatings affect fastener torque and joint clamping force and may damage the fastener. Use the correct tightening sequence and specifications when installing fasteners in order to avoid damage to parts and systems.

  3. Install the screws behind the center bracket.
  4. Tighten
    Tighten the screws to 1.9 N·m (17 lb in).

  5. Install the bolts (1) at the top of the grille (2).
  6. Tighten
    Tighten the bolts (1) to 1.9 N·m (17 lb in).

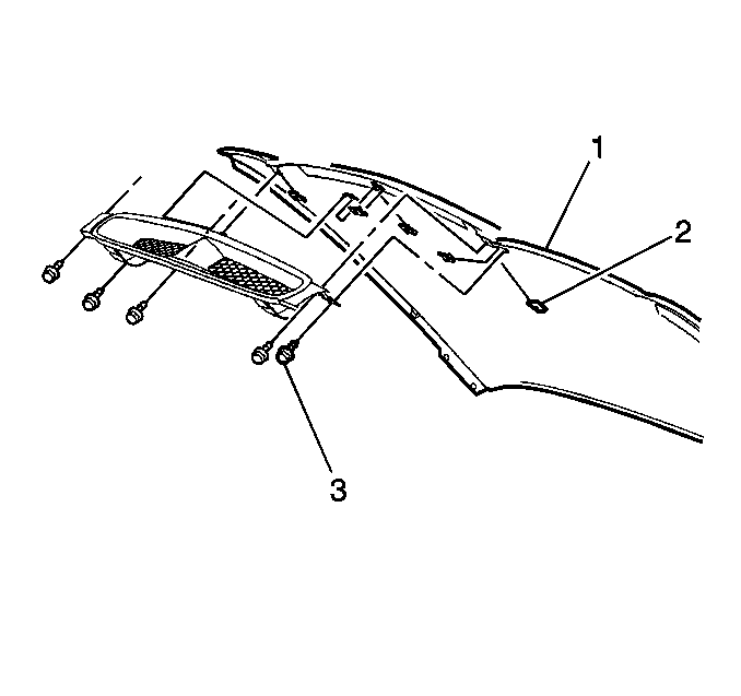
Grille Replacement 88/LSS

Removal Procedure


    Object Number: 300748  Size: SH
  1. Remove the bolts (3) that retain the grille (2).
  2. Remove the grille (2).

Installation Procedure


    Object Number: 300748  Size: SH
  1. Install the grille (2).
  2. Install the bolts (3).

Grille Replacement Pontiac

Removal Procedure


    Object Number: 300749  Size: SH
  1. Remove the bolts (3) that retain the grille.
  2. Remove the grille.

Installation Procedure


    Object Number: 300749  Size: SH
  1. Install the grille.
  2. Notice: Use the correct fastener in the correct location. Replacement fasteners must be the correct part number for that application. Fasteners requiring replacement or fasteners requiring the use of thread locking compound or sealant are identified in the service procedure. Do not use paints, lubricants, or corrosion inhibitors on fasteners or fastener joint surfaces unless specified. These coatings affect fastener torque and joint clamping force and may damage the fastener. Use the correct tightening sequence and specifications when installing fasteners in order to avoid damage to parts and systems.

  3. Install the bolts (3).
  4. Tighten
    Tighten the bolts (3) to 1.9 N·m (17 lb in).