GM Service Manual Online
For 1990-2009 cars only

Front Fender Body Side Molding Replacement Buick

Removal Procedure

  1. Remove the front wheelhouse panel. Refer to Wheelhouse Panel Replacement in Body Front End.

  2. Object Number: 300700  Size: SH
  3. Remove the 2 nuts (2).

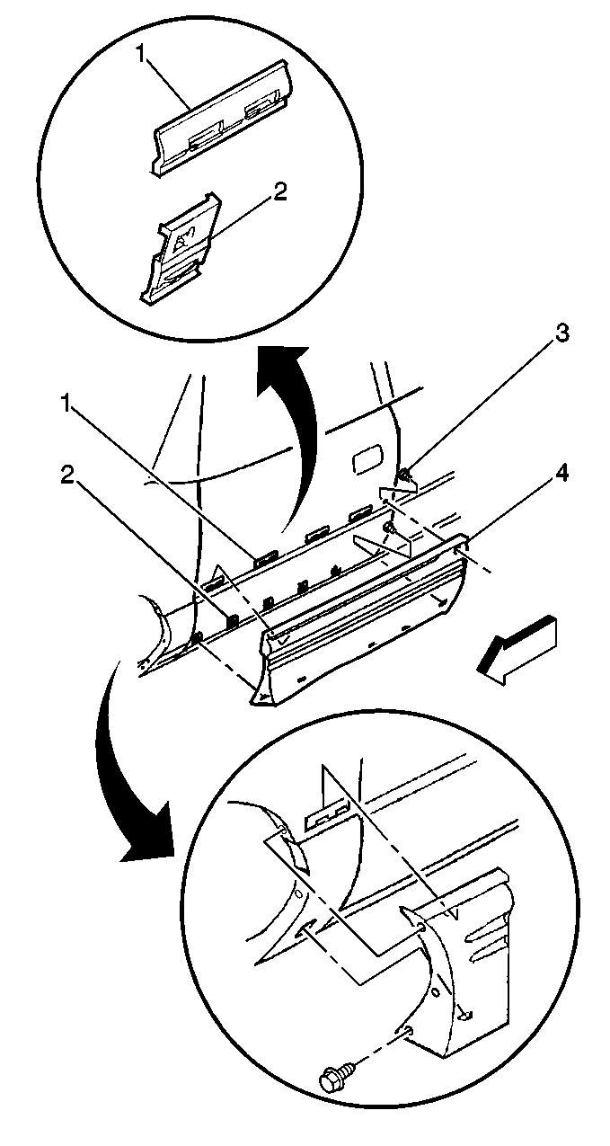
Installation Procedure


    Object Number: 300700  Size: SH
  1. Install the following components:
  2. • The molding (3)
    • The 2 nuts (2
  3. Install the front wheelhouse panel. Refer to Wheelhouse Panel Replacement .

Front Fender Body Side Molding Replacement Regency

Removal Procedure

  1. Remove the front wheelhouse panel. Refer to Wheelhouse Panel Replacement in Body Front End.

  2. Object Number: 300706  Size: MH
  3. Remove the screws (2) that retain the fender molding (1) at the wheel opening.
  4. Remove the nuts (3) that retain the fender molding (1) to the fender.
  5. Remove the fender molding (1).

Installation Procedure


    Object Number: 300706  Size: MH
  1. Install the fender molding (1).
  2. Install the nuts (3) in order to retain the fender molding (1) to the fender.
  3. Install the screws (2) in order to retain the fender molding (1) at the wheel opening.
  4. Install the front wheelhouse panel. Refer to Wheelhouse Panel Replacement in Body Front End.

Front Fender Body Side Molding Replacement 88/LSS

Removal Procedure

  1. Remove the front wheelhouse panel. Refer to Wheelhouse Panel Replacement in Body Front End.

  2. Object Number: 386101  Size: SH
  3. Remove the screws (7) that retain the fender molding (6) to the fender.
  4. Remove the fender molding (6).

Installation Procedure


    Object Number: 386101  Size: SH
  1. Install the fender molding (6).
  2. Install the screws (7) in order to retain the fender molding (6) to the fender.
  3. Install the front wheelhouse panel. Refer to Wheelhouse Panel Replacement in Body Front End.

Front Fender Body Side Molding Replacement Pontiac

Removal Procedure


    Object Number: 300712  Size: LH
  1. Remove the screws (3) at the wheel opening.
  2. Remove the front wheelhouse panel. Refer to Wheelhouse Panel Replacement in Body Front End.
  3. Remove the fender insulator. Refer to Front Fender Insulator Replacement in Body Front End.
  4. Remove the screw that retains the molding to the rocker panel (SSE only).
  5. Gently pull the molding in order to disengage the clips.

Installation Procedure


    Object Number: 300712  Size: LH
  1. Press the molding in order to engage the clips.
  2. Install the nuts to the backside of the fender.
  3. Install the fender insulator. Refer to Front Fender Insulator Replacement in Body Front End.
  4. Install the front wheelhouse panel. Refer to Wheelhouse Panel Replacement in Body Front End.
  5. Install the screws (3) at the wheel opening.